En parlant de portes en plastique, sachez qu'elles n'ont qu'un nom en commun avec les fenêtres en plastique. Pourtant, des exigences plus élevées sont imposées aux premiers produits. Pour les portes en plastique, le dispositif est assez simple.

Schéma d'une porte en plastique : 1 - Cadre vierge ; 2 - Vantail de porte ; 3 - Charnière ; 4 - Remplissage translucide ; 5 - Remplissage non transparent.
Dans la production moderne, le plastique est utilisé dans la fabrication de portes d'entrée, d'intérieur et de balcon. Chacun de ces types a ses propres exigences : une porte de balcon - isolation thermique, une porte intérieure - une délimitation d'espace, une porte d'entrée - sécurité.
Portes d'entrée en plastique: nuances
Diagramme de taille de la porte d'entrée en plastique à partir du profil pfh.
Les modèles d'entrée ont un moyen d'ouvrir à la fois vers l'intérieur et vers l'extérieur. Les produits en plastique sont facilement équipés de toutes sortes de vannes, d'éléments shtulpovye, d'électronique, d'éléments anti-effraction. Tout cela contribue à la sécurité accrue des résidents.
Pour renforcer le profil de la porte d'entrée, des inserts de renforcement de section fermée sont introduits dans le cadre et les ouvrants. Afin d'empêcher les cambrioleurs d'accéder aux dispositifs de verrouillage et au pli, une plaque métallique spéciale est fixée au profil extérieur, ce qui interférera avec le "travail" avec un pied de biche ou un pied de biche. De plus, une sonnette et un interphone peuvent être facilement installés sur de tels produits.
Pour un fonctionnement de haute qualité et, surtout, à long terme d'une porte d'entrée en plastique, elle a besoin d'ensembles spéciaux de ferrures et de charnières, car elle a encore plus de dimensions et de poids.
Le plastique moderne a un assortiment si large que n'importe quel client, même le plus exigeant, peut satisfaire ses désirs. Il est à noter que cette possibilité s'applique également aux ferrures correspondantes - fenêtres à double vitrage, poignées de porte, ferrures à pousser. Cela facilite grandement la tâche de sélectionner un modèle pour n'importe quelle façade et n'importe quel intérieur.
Des stylos
Les poignées sont des ferrures très courantes, elles sont installées sur presque toutes les portes. Les poignées pour portes en PVC sont également produites en grandes quantités.
Par le type de construction, les poignées peuvent être distinguées:
- Stationnaire;
- Pousser;
- Pivot.
Les poignées fixes sont fixées sur le vantail de la porte et ne sont en aucun cas reliées à la serrure ; par conséquent, elles jouent le rôle d'un support, qui doit être tiré pour que la porte s'ouvre. Sur les portes en PVC, de tels produits sont rarement installés, par exemple à l'intérieur de la porte menant au balcon.


Les poignées à levier fonctionnent comme suit. Lorsque la poignée est enfoncée, le loquet de verrouillage recule, permettant à la porte de s'ouvrir.


Les boutons rotatifs sont parmi les plus courants. Pour activer le mécanisme de verrouillage, la poignée doit être tournée.


Tout type de poignée est fabriqué à partir d'une combinaison combinée de plastique et de métal. Certains d'entre eux sont uniquement en métal - ces modèles sont plus fiables et adaptés aux locaux à fort trafic.
Portes intérieures en plastique: caractéristiques


Contrairement aux portes intérieures en bois traditionnelles, les produits en plastique sont extrêmement durables.
Les gens sont habitués à penser que le but principal d'une porte intérieure est de diviser l'espace. Mais ils peuvent aussi le connecter. Il est seulement très important qu'il ne « tombe » pas de l'ensemble de l'intérieur.
En général, à en juger objectivement, la porte "maison" ne nécessite pas de cloches et de sifflets spéciaux sous la forme d'une isolation spéciale ou de serrures lourdes, il est donc préférable de se concentrer entièrement sur sa décoration. Lorsque vous choisissez une variété d'intérieur, vous devez connaître les façons de l'ouvrir :
- se balancer;
- glissement;
- tournant;
- pliant.
Tout dépend du mécanisme d'ouverture-fermeture. C'est ce qui affecte si la porte connectera ou divisera l'espace de vie.
Comprendre les types de raccords
La quincaillerie est indispensable pour créer une pièce solide, que ce soit une fenêtre ou un meuble. Il existe de nombreuses variétés, il peut s'agir de meubles, de construction, de fenêtre. Le processus de fabrication du matériel est compliqué, il faut beaucoup de temps pour sélectionner le matériel et l'équipement. Les ferrures de meubles comprennent un certain système de pièces et de mécanismes. Les ferrures de meubles sont divisées en attaches (responsables de la fixation des pièces) et en façade (donne un aspect fini aux meubles).
Ces accessoires comprennent également:
- Les soutiens;
- Des stylos;
- Chapes;
- Les lampes;
- Serrures.
Ceci est une liste partielle d'accessoires de meubles. Il a ses propres catégories, qui sont subdivisées en paramètres plus spécifiques. Les ferrures de fenêtre se composent de pièces et de mécanismes et sont responsables du fonctionnement de la fenêtre. La fiabilité de la fenêtre dépend de la qualité des ferrures, elle doit donc supporter des charges de poids et avoir un niveau élevé de protection contre le cambriolage.
Les ferrures de fenêtre vous permettent de les ouvrir dans différentes positions. Sur le marché moderne, il existe également une large palette de couleurs et de couleurs d'accessoires. Le choix du client n'est limité que par son imagination et la conception générale de la pièce.
Portes en plastique de balcon


Disposition des portes de balcon en plastique.
Souvent, ces modèles font partie de l'ensemble de la structure du balcon. En parlant de tels emballages de balcon, l'image d'une toile blanche (le plus souvent) avec une unité de verre standard en haut et en bas du panneau sandwich en PVC se pose immédiatement dans ma tête. À certains moments, l'unité de verre est utilisée pour toute la porte, obtenant ainsi une plus grande quantité d'éclairage naturel.
Mais aujourd'hui, les profilés eux-mêmes peuvent être réalisés dans les types de finitions suivants :
- le profil est entièrement peint en blanc ;
- le profil est peint dans une couleur différente;
- le profilé est contrecollé avec un film décoratif ;
- le profil peut être peint avec de la peinture ou du vernis;
- le profilé est réalisé avec un revêtement frontal co-extrudé.
Charnières de porte
L'une des pièces importantes pour l'installation sont les charnières, qui fixent le vantail au cadre et s'ouvrent et se ferment.
Il existe trois types de charnières pour portes PVC :
- visser;
- lettres de voiture;
- appliqué.
Si des charnières suspendues ou à vis sont utilisées, il est alors possible de régler sans retirer le vantail de la porte dans trois plans: verticalement, horizontalement et serrer. Les charnières appliquées permettent un ajustement avec des entretoises supplémentaires. Le choix du type de charnière est influencé par des paramètres tels que le poids du vantail, la largeur du profilé et les exigences d'apparence des produits. Les options de charnières pour portes en PVC sont visibles sur la photo.


Les charnières de porte sont disponibles en plusieurs matériaux. Un alliage de zinc ou d'aluminium est utilisé pour le corps de la charnière. Les broches sont en acier inoxydable. Les fixations des charnières sont également en acier inoxydable ou en acier galvanisé. La doublure intérieure est faite d'alliages ferreux et du téflon ou du plastique est utilisé pour la doublure.
Article connexe : Ventilation au sol dans une maison en bois privée
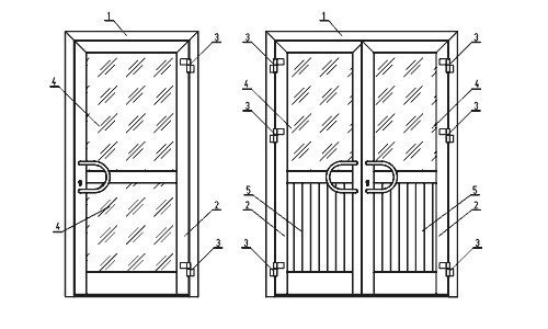
Disposition des éléments de portes en plastique


Ajustement des portes en plastique.
Chaque porte a son propre remplissage standard. La qualité du fonctionnement du produit dépend directement de la qualité de certains éléments.
- Cadre de porte (cadre).Il convient de noter que dans le cadre, un profil à deux, trois, quatre ou cinq chambres est pris comme base, surtout s'il s'agit d'une porte d'entrée. Le cadre de renfort métallique est utilisé comme tige de renfort. Les coins du cadre sont reliés par des éléments spéciaux. Pour une porte d'entrée, par exemple, un cadre métallique est nécessaire pour pouvoir supporter des charnières puissantes et des serrures fiables. Bien que pour les portes intérieures et les portes de balcon, le cadre utilisé est plus simple.
- Les feuilles de porte. Pour la résistance du produit, des profils à deux, trois, quatre ou cinq chambres sont également utilisés. Au cœur du vantail se trouve également un cadre métallique cousu des deux côtés. Pour les produits d'entrée, un revêtement métallique est utilisé, pour les balcons - en plastique ou métal-plastique, pour les produits d'intérieur - presque tous les matériaux, et il existe même des options de combinaison. La cavité de la porte est remplie de divers matériaux isolants. Les portes en plastique permettent l'utilisation de fenêtres à double vitrage et d'inserts de verre triplex partiels dans leur conception extérieure.
- Serrures. Pour assurer la fiabilité de la porte, des serrures avec des barres transversales installées sont placées dessus sur tout le périmètre. Mais c'est un système de porte d'entrée. Les produits de balcon ont un système de verrouillage simple qui fonctionne avec une poignée de porte. Ils ont également la possibilité d'ouvrir la porte pour la ventilation. Les portes intérieures peuvent ou non avoir des serrures.
- Meubles de porte. Lors du choix des poignées de porte, il ne faut pas oublier que, selon le but de la porte, certains modèles sont utilisés. De plus, s'il y a des enfants en bas âge dans la maison, il ne ferait pas de mal d'avoir des poignées avec un système de verrouillage. Les charnières méritent également une attention particulière. Les charnières de haute qualité doivent supporter l'ensemble de la structure, dont le poids moyen atteint de 80 à 100 kg.
- Scellés. Ils contribuent à l'isolation phonique, évitent les courants d'air. Lorsque la porte est soudainement claquée, ils adoucissent l'impact, ce qui contribue à une durée de vie plus longue de la structure de la porte. De plus, la gamme de couleurs est si large qu'il n'est pas difficile de choisir exactement la couleur qui s'harmonisera bien avec le produit. Les joints de haute qualité ont une résistance assez élevée aux dommages mécaniques.
- Seuil de porte. Il existe aujourd'hui plusieurs types de réalisation de seuils :
- cadre, qui fait partie du cadre de la porte lui-même ou sera une structure supplémentaire distincte;
- seuil renforcé en acier (pour portes d'entrée);
- seuil en aluminium, si désiré, qui peut être isolé ou froid.
Installation de la serrure
Il n'est pas difficile d'installer la serrure vous-même. Avec le temps, cette manipulation ne prendra pas plus de temps que de remplacer une poignée de porte cassée.
Pour l'installation, il est nécessaire de sélectionner la poignée de porte nécessaire dans le magasin, équipée soit d'une serrure à cylindre à clés, soit d'un simple loquet, il est souhaitable que le nom du fabricant de cette poignée et des ferrures installées sur le les portes coïncident.


Après cela, vous devez retirer l'ancienne poignée sans verrou. Tout ce dont vous avez besoin est un tournevis cruciforme. A la base de la poignée, un bouchon décoratif est tiré vers lui-même et tourné de 90°. Deux vis autotaraudeuses sont dévissées, fixant la poignée, la poignée avec la goupille carrée est retirée et une poignée avec un verrou est installée à sa place. Il est vissé avec d'anciennes vis autotaraudeuses, ou fourni avec la poignée, le bouchon décoratif est remis à sa place.
La seule condition est la coïncidence des trous pour les vis autotaraudeuses. Il est conseillé de supprimer les dimensions entre les centres des trous sur l'ancienne poignée avant d'acheter une poignée. Mais dans l'écrasante majorité des cas, les tailles des poignées avec serrures sont standardisées et conviennent à une installation sur presque tous les modèles d'accessoires.
Choisir un loquet magnétique
Avec une utilisation à long terme et pas particulièrement prudente du loquet sur l'aimant, il peut échouer, car, en principe, peu importe le type de chose dans la maison.
En cas de panne du loquet magnétique des portes qui s'ouvrent sur le balcon ou la loggia, son remplacement complet vous sera utile.
Et cela peut simplement être fait sans l'aide des autres à la maison, simplement en lisant attentivement cet article.
Pour effectuer les travaux de remplacement du loquet de balcon sur une porte en plastique, un constructeur novice aura besoin d'un certain outil:
- de préférence deux tournevis plats et cruciformes ;
- pinces simples;
- pour la commodité du travail, un tournevis avec des buses.
Variétés
Malgré le fait que les ouvertures de balcon ont des paramètres standard, il existe 4 principaux types de portes en plastique:
- standard - la conception la plus simple, le prix bas et la facilité de fabrication, se compose d'un fond en plastique et d'un vitrage en haut;
- système pour le balcon isolé;
- blocs non standard - la différence réside dans les dimensions et les conceptions intéressantes;
- Portes françaises - c'est le nom d'un bloc entièrement vitré.
Il existe d'autres types de portes de balcon en plastique. La classification est basée sur le nombre de feuilles : simples ou multiples, qui se composent de deux ou plusieurs parties. Par le type d'ouverture, les portes sont battantes, coulissantes et pliantes (ce qu'on appelle "l'accordéon"). Un large éventail de choix est fourni par les ferrures - l'un des éléments qui composent le système de balcon.


























