Bouches d'aération: la tâche principale
Le dispositif d'évacuation de l'air du système de chauffage permet d'évacuer les gaz accumulés dans la canalisation et les radiateurs.
L'aération du système se produit pour un certain nombre de raisons, notamment
:
- En raison de la teneur élevée en gaz dissous dans le liquide de refroidissement, qui n'a pas subi de formation spéciale - désaération. La solubilité des gaz dépend de la température du milieu, et lorsque le liquide de refroidissement est chauffé, l'air est séparé de l'eau et s'accumule, formant des bouchons.
- Du fait du remplissage trop rapide du circuit en fluide caloporteur, le liquide du réseau ramifié n'a pas le temps de déplacer l'air de manière naturelle. Le liquide de refroidissement doit être versé à partir du point le plus bas afin que l'air soit forcé vers le haut et vers l'extérieur par la vanne ouverte.
- En raison de la pénétration de l'air à travers les parois de la canalisation en polymère, si elle est faite d'un matériau sans revêtement anti-diffusion spécial. Lors du choix des tuyaux, ce point doit être pris en compte.
- Au cours des travaux de réparation liés au remplacement des éléments sans vidanger complètement le liquide de refroidissement - dans ce cas, le dispositif ou le circuit de chauffage réparé est coupé du reste du système, puis reconnecté.
- Perte d'étanchéité.
- À la suite de processus corrosifs - lorsque l'oxygène interagit avec le fer, de l'hydrogène est libéré de la molécule d'air, qui s'accumule également dans le système.
Pourquoi l'air dans le système de chauffage est-il dangereux?
L'air dissous dans le liquide de refroidissement détruit progressivement les tuyaux en acier et les radiateurs, éléments de la chaudière. L'activité corrosive de l'air, qui a d'abord été dissoute dans l'eau puis libérée pendant le chauffage, dépasse considérablement les paramètres de l'air atmosphérique en raison de la teneur accrue en oxygène.
Emplacements d'installation des séparateurs d'air dans le système
Les gaz accumulés dans le pipeline provoquent ou accélèrent non seulement la corrosion des éléments métalliques, mais forment également sas d'air qui empêchent le système de chauffage de fonctionner pleinement
:
- En raison des bouchons de gaz, la circulation du liquide de refroidissement se détériore; dans les cas graves, le mouvement du liquide à travers les tuyaux peut être complètement bloqué. Dans une telle situation, les appareils de chauffage refroidissent rapidement.
- Les sas à air fonctionnent comme un isolant thermique, et si des gaz s'accumulent dans la partie supérieure de la batterie, ils se réchauffent moins bien et donnent moins d'énergie thermique à la pièce.
- En présence de sas, le mouvement du liquide de refroidissement le long du circuit de chauffage s'accompagne de forts gargouillis et de gargouillis, qui portent atteinte au confort acoustique de la maison.
- Les pompes de circulation ne sont pas conçues pour pomper des gaz; lorsque vous travaillez avec un liquide de refroidissement rempli d'air, le roulement et la roue de l'unité de pompage s'usent beaucoup plus rapidement.
Des dispositifs de ventilation spéciaux peuvent résoudre les problèmes associés à l'aération du système de chauffage. Il est important de choisir les bonnes vannes pour purger l'air et de déterminer correctement l'emplacement de ces éléments.
Types de bouches d'aération
Pour supprimer les écluses d'air dans le système de chauffage central, il est prévu d'installer des vannes de vidange sur les radiateurs extrêmes de chaque branche. Les vannes à clapets permettent de purger l'air déplacé jusqu'au point extrême de la dérivation lorsque le système est rempli d'un liquide de refroidissement.
Les systèmes de chauffage autonomes, ainsi que les nouveaux radiateurs connectés au réseau de chauffage central, sont équipés de vannes de purge d'air spéciales.Il existe deux types d'appareils: une soupape de purge d'air automatique et une soupape manuelle (soupape Mayevsky).
Les appareils sont sélectionnés en tenant compte du principe de fonctionnement et de la facilité d'utilisation, ils sont montés aux endroits du circuit de chauffage où le risque de formation de sas d'air est le plus grand - sur le collecteur supérieur de chaque radiateur, au point le plus élevé de le système de chauffage.
Purgeur d'air automatique
La vanne d'air automatique se compose d'un cylindre creux avec un flotteur en plastique à l'intérieur. Le dispositif est installé verticalement, sa chambre interne est normalement remplie d'un liquide de refroidissement, qui s'écoule sous pression à travers une ouverture dans la partie inférieure de la chambre. L'évent est équipé d'une soupape de sortie à pointeau - c'est à cette soupape que le flotteur est attaché au levier.
Le principe de fonctionnement du purgeur automatique
Lorsqu'un sas d'air se forme dans la canalisation, il tend vers le point le plus élevé du radiateur ou du circuit de chauffage dans son ensemble. Si une vanne d'air fonctionnant en mode automatique est installée à cet endroit, le liquide de refroidissement de sa chambre intérieure est déplacé par des gaz. Lorsque le liquide est déplacé, le flotteur descend et ouvre la vanne, à la suite de quoi des gaz sont libérés de la canalisation de chauffage, et la chambre est à nouveau remplie de liquide de refroidissement.
Noter! La vanne pour évacuer automatiquement l'air du système de chauffage devient envasée avec le temps, envahie par le tartre. Cela entraîne un blocage du mécanisme, une perte d'étanchéité de la soupape - de l'humidité commence à s'infiltrer à travers. Un tel appareil doit être remplacé - les bouches d'aération automatiques ne peuvent pas être réparées.
Le montant dépend des caractéristiques du système de chauffage.
Appareil requis pour l'installation
:
- dans le cadre du groupe de sécurité de la chaudière à la sortie de la chemise d'eau, où le liquide de refroidissement est chauffé à la température maximale;
- au point le plus élevé des colonnes montantes verticales - c'est là que les substances gazeuses montent et s'accumulent;
- sur les collecteurs de distribution du chauffage par le sol afin que l'air puisse être évacué des circuits;
- sur des boucles en forme de U constituées de tuyaux en polymère, qui sont équipés pour compenser la dilatation thermique de la canalisation.
Aération manuelle
Le robinet de vidange à commande manuelle est communément appelé robinet Mayevsky. Cet appareil n'a pas d'éléments mobiles, il est donc plus durable et plus fiable que l'automatique.
Le corps cylindrique de l'évent est pourvu d'un filetage extérieur. Le trou traversant longitudinal dans le boîtier est fermé par une vis à extrémité conique. Un canal circulaire s'étend du trou central.
Le principe de fonctionnement de la grue Mayevsky est extrêmement simple: le dévissage de la vis libère le passage dans le canal latéral, grâce auquel les gaz accumulés sortent par le trou dans le corps. Après avoir retiré le sas, la vis est serrée en place.
Type d'évent d'angle manuel avec cône d'arrêt
Les purgeurs manuels sont conçus pour un montage sur tuyauterie en standard. Mais la plus grande demande concerne les robinets de radiateur de Mayevsky, qui sont montés sur des appareils de chauffage sectionnels et de type panneau.
Air dans le système de refroidissement du moteur: comment retirer un sas

Le système de refroidissement du moteur de la voiture, bien que pas complètement fermé, n'est pas prévu pour l'entrée d'air dans ses circuits. La formation d'un sas d'air dans le système de refroidissement du moteur à combustion interne est un problème qui entraîne des dysfonctionnements, qui entraînent une surchauffe du moteur, des performances insuffisantes du poêle, etc.
De plus, dans le cas de l'aération du système de refroidissement, les lectures des capteurs de température sur le tableau de bord peuvent être incorrectes. D'une manière ou d'une autre, le problème doit être résolu et en temps opportun.Ensuite, nous parlerons de la façon de retirer le sas et de la ventilation du système de refroidissement.
Comment expulser un sas dans le système de refroidissement du moteur
Avant de passer au processus d'élimination des poches d'air du système de refroidissement, commençons par les principales raisons pour lesquelles elles apparaissent.
- Tout d'abord, il convient de mentionner la dépressurisation résultant de la violation des connexions des tuyaux, des tuyaux et des buses. Tout cela conduit au fait que le système aspire de l'air par des fuites au niveau des joints. De plus, des bourrages d'air se forment lors du remplissage d'antigel / antigel.
- Il convient également de souligner les perturbations dans le fonctionnement de la vanne d'air. Comme vous le savez, lorsqu'il est chauffé, l'antigel du système se dilate, la pression augmente, mais lorsqu'il se refroidit, la vanne est responsable de l'égalisation de la pression. Si la pression est basse, la vanne laisse entrer l'air de l'extérieur. Si des problèmes surviennent avec cette vanne, un excès d'air s'accumule dans le système.
- Parfois, les joints de la pompe cessent de sceller le système, ce qui entraîne des fuites d'air. De plus, l'antigel peut couler, son volume diminue naturellement et l'excès d'air s'accumule.
Donc, après avoir traité les raisons, passons aux conséquences et aux signes que le système de refroidissement est aéroporté. Immédiatement, nous constatons que les conséquences peuvent être assez graves. Un sas d'air peut perturber la circulation de l'antigel, surtout si l'air ne laisse pas passer le liquide de refroidissement dans le radiateur. En conséquence, le moteur surchauffe.
De plus, le poêle commence à mal fonctionner dans l'habitacle, ce qui réduit le confort lors de l'utilisation du véhicule en hiver et peut constituer une menace pour la santé du conducteur et des passagers. Pour résoudre le problème, vous devez savoir comment éliminer l'air du système de refroidissement du moteur. Au stade initial, vous devez vous assurer que le niveau d'antigel est normal et que le système de refroidissement lui-même est étanche, c'est-à-dire qu'il n'y a pas de fuites.
Pour ce faire, vous devez inspecter toutes les pièces en caoutchouc, tuyaux, tuyaux, raccords, etc., et avec le moteur en marche. La détection d'une fuite nécessitera une réparation immédiate. S'il n'y a pas de fuite, mais que le moteur surchauffe ou, au contraire, reste froid pendant longtemps, vous devez vérifier le thermostat.
Il arrive souvent que l'appareil se coince en position ouverte ou fermée (le liquide de refroidissement ne circule que dans un petit ou un grand cercle). Moins fréquemment, la cause est un sas d'air dans la zone du thermostat.
Comment supprimer un sas: méthodes
Comme mentionné ci-dessus, le signe le plus précis et le plus courant d'un sas est l'air froid du poêle, alors que le moteur est complètement réchauffé. Pour se débarrasser de l'air dans le système, il existe plusieurs méthodes disponibles (en fonction du type de moteur à combustion interne, des caractéristiques de mise en œuvre de son système de refroidissement, etc.).
- Vous pouvez aérer le système de refroidissement en retirant les tuyaux par lesquels le liquide de refroidissement est fourni pour chauffer la manette des gaz. Pour cela, le couvercle en plastique est retiré du moteur, après quoi l'accès libre est ouvert. Après avoir trouvé les tuyaux, vous devez en retirer l'un.
Ensuite, le couvercle du vase d'expansion est dévissé, puis un chiffon propre est appliqué sur le cou, puis vous pouvez souffler dans le réservoir. Lors de cette opération, ne laissez pas le liquide de refroidissement entrer en contact avec les yeux, sur la peau exposée ou à l'intérieur! L'antigel et le TOSOL sont le poison le plus puissant!
Le réservoir doit être purgé jusqu'à ce que l'antigel s'écoule du tuyau de dérivation retiré. Ensuite, le tube retiré doit être fixé en place, si nécessaire, ajoutez du liquide de refroidissement et serrez le bouchon du réservoir.
- La méthode suivante est un peu plus simple que la précédente et lui est similaire. Tout d'abord, faites chauffer le moteur, puis coupez-le. Dans ce cas, le couvercle du vase d'expansion n'a pas besoin d'être dévissé.
Il suffit de retirer l'une des buses de l'accélérateur et d'attendre que le liquide de refroidissement s'écoule de là. Ensuite, vous devez bien fixer le tuyau en le serrant avec une pince. Il est important de tenir compte du fait que l'antigel / antigel qui s'écoule du tuyau peut être très chaud, il faut donc faire attention à ne pas se brûler ou se blesser.
- La dernière méthode d'aération du système de refroidissement du moteur se distingue par sa simplicité et son rendement élevé. Il est nécessaire de conduire la voiture en montée pour que le «nez» soit au sommet. Ensuite, vous devez appliquer le frein de stationnement, vous pouvez mettre des cales sous les roues arrière pour que la voiture ne roule pas.Nous vous recommandons également de lire l'article sur la façon dont un diagnostic complet du système de refroidissement du moteur de la voiture est effectué. Dans cet article, vous découvrirez les principales étapes de la vérification du système spécifié et de ses éléments individuels.
Ensuite, vous devez dévisser les bouchons du radiateur / vase d'expansion. Ensuite, le moteur démarre et se réchauffe. Pendant l'échauffement, il est nécessaire de gazéifier fortement dans plusieurs approches, tandis que le niveau de liquide de refroidissement dans le réservoir est surveillé et complété. Cette procédure doit être poursuivie jusqu'à ce que les bulles d'air disparaissent. Ensuite, tous les bouchons peuvent être serrés.
Comment supprimer un sas
Idéalement, les gaz montent aux points les plus élevés du circuit où les bouches d'aération sont installées et sont ventilées à partir de là par des vannes manuelles ou automatiques. Dans la pratique, des erreurs dans la conception ou l'installation du pipeline conduisent à la formation d'embouteillages d'air dans des endroits difficiles d'accès.
Pour retirer un tel bouchon, il est nécessaire de trouver son emplacement - par le murmure du liquide de refroidissement circulant à travers la section remplie d'air, par la température relativement basse du tuyau ou du radiateur, par le son de sonnerie lorsque les tuyaux sont taraudés.
Une augmentation de la température du liquide de refroidissement et / ou de la pression dans le système aidera à expulser le bouchon du système de chauffage autonome. Pour appliquer la pression, il est nécessaire d'ouvrir la vanne d'appoint et la vanne de vidange les plus proches du bouchon d'air (dans le sens du débit). L'eau entrant dans le système augmente la pression et force le bouchon à bouger. Après s'être assuré que le bouchon est sorti par la vanne (il arrête de siffler), le système revient en mode de fonctionnement normal.
Retrait d'un sas d'air du système de chauffage
Dans les cas plus complexes, ils agissent non seulement par pression, mais aussi par température. Le liquide de refroidissement ne doit pas être chauffé au-dessus des valeurs maximales admissibles afin de ne pas endommager l'installation de chauffage.
Important! La formation régulière d'un plug au même endroit indique des erreurs de calcul dans le projet ou une installation incorrecte. Il est recommandé d'installer un évent dans la zone à problème en coupant un té dans la canalisation.
Quels sont les signes indiquant qu'une vanne d'air est nécessaire?
Afin d'éviter l'accumulation d'air, les chauffagistes proposent d'utiliser une vanne d'air pour le chauffage dès le début du fonctionnement du circuit.Par conséquent, les chauffagistes du schéma de chauffage compilé donnent des recommandations sur l'évent convient à un système de chauffage spécifique.
Cependant, dans certains cas, en essayant d'économiser de l'argent sur l'achat de ce type de vanne de régulation, les propriétaires refusent d'installer des appareils et provoquent ainsi un certain nombre de problèmes. Pour les résoudre, ils doivent installer une vanne d'air pour le système de chauffage une fois que le circuit a été lié et connecté à la chaudière.
Les signes suivants indiquent la présence de poches d'air et indiquent la nécessité d'intégrer une bouche d'aération dans le circuit de chauffage:
- chauffage inégal des batteries;
- l'apparition de "points froids" sur le pipeline;
- mauvaise circulation dans le système de chauffage;
- bruit dans les appareils de chauffage;
- chauffage de mauvaise qualité de la maison.
Principes de sélection
Les vannes d'air pour le système de chauffage peuvent faire partie d'un groupe de sécurité ou d'un kit de collecteur pour chauffage par le sol, fourni avec des appareils de chauffage.
L'évent est choisi en tenant compte de ses paramètres de fonctionnement (température et pression maximales admissibles), ils doivent correspondre aux caractéristiques du système de chauffage. De par leur conception, ils sont divisés en dispositifs droits et angulaires, horizontaux et verticaux.
Les grues de Mayevsky diffèrent par la méthode de dévissage de la vis de travail
:
- avec une tête de tige pour une clé spéciale (l'inconvénient est que la clé peut ne pas être à portée de main au bon moment);
- avec une poignée non amovible (ne peut pas être utilisé dans des endroits accessibles aux jeunes enfants afin d'éliminer le risque de brûlure du liquide de refroidissement chauffé;
- avec une fente pour un tournevis plat (l'option la plus pratique et la plus sûre).
Afin d'équiper votre système de chauffage d'une soupape de décharge d'air fiable, il est recommandé de choisir des marques bien connues. Les produits bon marché en silumine fragile imitant le laiton doivent être évités.
De nombreux éléments différents sont responsables du fonctionnement normal du système de chauffage de l'eau, qui font partie intégrante du circuit de toute complexité. L'un de ces éléments est la vanne d'air pour le chauffage, qui est une partie petite mais très importante d'une conception simple. Cet article explique comment choisir le bon élément en fonction de l'emplacement d'installation.
Où est-il recommandé d'installer la vanne?
Si le propriétaire prend au sérieux la mise en œuvre du système de chauffage, il installera des bouches d'aération dans le circuit conformément aux instructions du système de chauffage. L'air s'accumule souvent aux mêmes endroits. Ce sont les points supérieurs des radiateurs, des sections de canalisations en boucle, des chaudières de chauffage. Si un système de chauffage dans une maison privée ou dans un appartement est installé sur ces sites, le propriétaire le ressentira rapidement en raison de la mauvaise qualité de chauffage des pièces individuelles ou des sols.
Pour éviter cela, il est recommandé d'installer des bouches d'aération dans les zones suivantes:
- collectionneur;
- radiateur;
- Chaudière;
- flèche hydraulique;
- la vanne doit être installée au point le plus élevé des zones répertoriées.
Lorsqu'on envisage l'utilisation de bouches d'aération dans le système de chauffage, une scrupule particulière doit être montrée aux consommateurs utilisant des radiateurs en aluminium dans le circuit. Le fait est que l'aluminium agit comme catalyseur et accélère le processus de décomposition de l'eau en atomes d'oxygène et d'hydrogène, provoquant l'apparition de sas d'air. De plus, d'autres types de radiateurs nécessitent des vannes spéciales.
Ce sont des radiateurs des types suivants:
- dispositifs de panneau en acier;
- batteries bimétalliques;
- radiateurs en fonte, etc.
But et types de bouches d'aération
Il est facile de deviner le but de l'appareil par son nom. L'élément est utilisé dans le circuit afin d'éliminer l'air du système ou des appareils et unités individuels, qui y apparaît dans les circonstances suivantes:
- en remplissant tout le réseau de canalisations ou des branches individuelles du système avec de l'eau;
- à la suite de l'aspiration de l'atmosphère due à divers dysfonctionnements;
- pendant le fonctionnement, lorsque l'oxygène dissous dans l'eau passe progressivement à l'état libre.
Pour référence.
Dans les chaufferies industrielles, l'eau d'appoint passe par une étape de désaération (élimination de l'air dissous) avant d'entrer dans la chaudière. En conséquence, l'eau du robinet, contenant initialement jusqu'à 30 g d'oxygène pour 1 m3, devient utilisable avec un indicateur inférieur à 1 g / m3. Cependant, ces technologies sont assez coûteuses et ne sont pas utilisées dans la construction de logements privés.
La tâche de l'évent est de libérer l'air du système de chauffage afin d'éviter la formation de poches d'air.Ces derniers entravent gravement la libre circulation du liquide, ce qui fait que certaines parties du système peuvent surchauffer, tandis que d'autres, au contraire, peuvent se refroidir. En plus de l'air, d'autres gaz peuvent s'accumuler dans les canalisations. Par exemple, avec une teneur élevée en oxygène dissous dans le liquide de refroidissement, le processus de corrosion des tuyaux en acier et des pièces de chaudière est considérablement accéléré. Une réaction chimique a lieu avec la libération d'hydrogène libre.
Dans les schémas actuels des systèmes de chauffage domestique, 2 types de bouches d'aération sont utilisés, de conception différente:
- manuel (grues Mayevsky);
- automatique (float).
Chacun de ces types est installé à différents endroits où il existe un risque de sas. Les grues de Mayevsky ont une conception traditionnelle et un radiateur, et la configuration des bouches d'aération est droite et angulaire.
En théorie, un évent automatique peut être installé dans tous les endroits nécessaires. Mais en pratique, le champ d'application des machines est limité pour de nombreuses raisons. Par exemple, le dispositif de la grue Mayevsky est plus simple et ne comporte pas de pièces mobiles, il est donc plus fiable. Le robinet manuel est un corps cylindrique en laiton de plomberie avec un filetage extérieur. Un trou traversant est pratiqué à l'intérieur du corps, le passage dans lequel est bloqué par une vis à extrémité effilée.
Un canal calibré circulaire s'étend à partir du trou central. Lorsque vous dévissez la vis entre les deux canaux, un message apparaît, permettant à l'air de s'échapper du système. Pendant le fonctionnement, la vis est complètement serrée et pour évacuer les gaz du système, il suffit de la dévisser de quelques tours avec un tournevis ou même à la main.
À son tour, la vanne d'air automatique est un cylindre creux avec un flotteur en plastique à l'intérieur. La position de travail de l'appareil est verticale, la chambre intérieure est remplie d'un liquide de refroidissement circulant à travers le trou de fond sous l'influence de la pression dans le système. Le flotteur est fixé mécaniquement à la soupape de sortie à pointeau au moyen d'un levier. Les gaz provenant des canalisations déplacent progressivement l'eau de la chambre et le flotteur commence à descendre. Une fois que le liquide a été complètement expulsé, le levier ouvrira la vanne et tout l'air sortira rapidement de la chambre. Ce dernier sera immédiatement rempli de nouveau de liquide de refroidissement.
Les pièces mobiles internes de l'évent automatique sont graduellement agrandies et les trous de travail sont ensablés. En conséquence, le mécanisme est saisi et les gaz sortent lentement, l'eau commence à circuler à travers l'unité avec l'aiguille. Une telle soupape de purge d'air est plus facile à remplacer qu'à réparer. D'où la conclusion: les aérateurs automatiques ne sont installés que dans les endroits où vous ne pouvez pas vous en passer. Ils sont sélectionnés pour:
- groupes de sécurité de chaudière, où la température du liquide de refroidissement est la plus élevée;
- les points les plus élevés des colonnes montantes verticales, où tous les gaz montent;
- un collecteur de distribution pour chauffage par le sol, où l'air s'accumule de tous les circuits de chauffage;
- boucles de joints de dilatation en forme de U constitués de tuyaux en polymère, tournés vers le haut.
Lors du choix d'un appareil, vous devez faire attention à 2 paramètres: la température et la pression de fonctionnement maximales. Si nous parlons d'un système de chauffage pour une maison privée jusqu'à 2 étages de haut, alors, en principe, toute vanne automatique de libération d'air convient. Les paramètres minimaux des bouches d'aération sur le marché sont les suivants: température de fonctionnement jusqu'à 110 ºС, plage de pression dans laquelle l'appareil fonctionne efficacement - de 0,5 à 7 bar.
Dans les chalets de grande hauteur, les pompes de circulation peuvent développer une pression plus élevée, donc lors de leur sélection, vous devez vous concentrer sur leurs performances. Quant à la température, dans les réseaux résidentiels privés, elle dépasse rarement 95 ºС.
Conseils.
Les experts - les praticiens recommandent d'acheter des bouches d'aération avec un tuyau d'échappement vers le haut. Selon les critiques, l'appareil avec une sortie latérale commence à fuir beaucoup plus souvent. De plus, la position verticale du boîtier doit être strictement respectée lors de l'installation.
Les bouches d'aération manuelles pour les systèmes de chauffage (robinets Mayevsky) sont le plus souvent utilisées pour une installation sur des radiateurs. De plus, de nombreux fabricants d'appareils sectionnels et à panneaux complètent leurs produits avec des vannes d'évacuation des gaz. Dans ce cas, il existe 3 types de bouches d'aération selon la méthode de dévissage de la vis:
- traditionnel, avec des fentes pour un tournevis;
- avec une tige en forme de carré ou autre forme sous une clé spéciale;
- avec une poignée pour un dévissage manuel sans aucun outil.
Conseils. Le troisième type de produit ne doit pas être acheté pour une maison où vivent des enfants d'âge préscolaire. L'ouverture accidentelle du robinet peut entraîner de graves brûlures causées par le liquide de refroidissement chaud.
Types de dumpers automatiques
Au total, il existe trois types de ces appareils - malgré cela, le fonctionnement de la purge automatique, ou plutôt son principe, reste inchangé. Dans tous les cas, le même robinet à pointeau et le même flotteur qui l'ouvre et le ferme sont utilisés - la seule différence réside dans la position du corps par rapport au tuyau de raccordement, c.-à-d. Connexion filetée.
Direct automatique
vanne d'air pour le chauffage. Le dispositif de ventilation automatique le plus courant. Il est destiné uniquement à une installation verticale - en ce sens que si vous décidez soudainement de l'utiliser pour une batterie, vous aurez également besoin d'un coin à 90 degrés. Le domaine optimal de leur application sont les pipelines, ou plutôt leurs points supérieurs, où, selon toutes les lois de la physique, l'air formé dans le chauffage se précipite. S'il n'y avait pas de tels dispositifs, il serait alors très gênant d'évacuer l'air aux points les plus élevés des systèmes de chauffage. De plus, certains équipements du système de chauffage sont équipés de tombereaux automatiques avec des tuyaux de raccordement droits. Par exemple, la vanne d'air automatique fait partie intégrante du groupe de sécurité de la chaudière, qui comprend également un manomètre et une soupape d'explosion. Les bouches d'aération sont également équipées de chaudières à chauffage indirect et d'autres équipements, au sommet desquels il y a une possibilité d'accumulation d'air.
Valve sur radiateur pour la décharge d'air
Soupape de sécurité
Dans la plupart des modèles de chaudières modernes, les fabricants proposent un système de sécurité dont le "chiffre clé" est les raccords de sécurité inclus directement dans l'échangeur de chaleur de la chaudière ou dans sa tuyauterie.
Le but de la soupape de sécurité dans le système de chauffage est d'empêcher la pression dans le système d'augmenter au-dessus du niveau admissible, ce qui peut entraîner: la destruction des tuyaux et de leurs raccords; fuites; explosion de l'équipement de la chaudière La conception de ce type de vanne est simple et sans prétention.
L'appareil se compose d'un corps en laiton, qui abrite un diaphragme de fermeture à ressort relié à la tige. La résilience des ressorts est le principal facteur qui
maintient le diaphragme en position verrouillée. La poignée de réglage ajuste la force de compression du ressort.
Lorsque la pression sur le diaphragme est supérieure à celle réglée, le ressort est comprimé, il s'ouvre et la pression est relâchée à travers le trou latéral. Lorsque la pression dans le système ne peut pas surmonter l'élasticité du ressort, le diaphragme revient à sa position d'origine.
Conseil: achetez un dispositif de sécurité avec régulation de pression de 1,5 à 3,5 bar. La plupart des modèles d'équipement de chaudière à combustible solide entrent dans cette gamme.
Bouche d'aération
Congestion aérienne. En règle générale, il y a plusieurs raisons à leur apparition:
- ébullition du liquide de refroidissement;
- teneur élevée en air dans le liquide de refroidissement, qui est automatiquement ajouté directement à partir de l'alimentation en eau;
- En raison de fuites d'air par des connexions qui fuient.
Le résultat des sas d'air est un chauffage inégal des radiateurs et une oxydation des surfaces internes des éléments métalliques CO. La soupape de décharge d'air du système de chauffage est conçue pour éliminer l'air du système en mode automatique.
Structurellement, l'évent est un cylindre creux en métal non ferreux, dans lequel se trouve un flotteur, relié par un levier avec une vanne à pointeau, qui, en position ouverte, relie la chambre d'évent à l'atmosphère.
En état de fonctionnement, la chambre intérieure de l'appareil est remplie d'un liquide de refroidissement, le flotteur est soulevé et le robinet à pointeau est fermé. Si de l'air entre, qui monte jusqu'au point supérieur du dispositif, le liquide de refroidissement ne peut pas monter dans la chambre jusqu'au niveau nominal, et par conséquent, le flotteur est abaissé, le dispositif fonctionne en mode évacuation. Une fois l'air libéré, le liquide de refroidissement monte dans la chambre de ce type de raccords au niveau nominal et le flotteur prend sa place régulière.
Clapet anti-retour
Dans le CO gravitaire, il existe des conditions dans lesquelles le liquide de refroidissement peut changer la direction du mouvement. Cela risque d'endommager l'échangeur de chaleur du générateur de chaleur en raison d'une surchauffe. La même chose peut se produire dans les CO suffisamment complexes avec mouvement forcé du liquide de refroidissement, lorsque l'eau, à travers le tuyau de dérivation de l'unité de pompage, pénètre dans la chaudière dans la chaudière. Le mécanisme d'action du clapet anti-retour dans le système de chauffage est assez simple: il ne fait passer le liquide de refroidissement que dans un seul sens, le bloquant lors du recul.
Il existe plusieurs types de ce genre de ferrures, qui sont classés selon la conception du dispositif de verrouillage :
- en forme de disque;
- Balle;
- pétale;
- bivalve.
Comme le nom l'indique déjà, dans le premier type, un disque (plaque) à ressort en acier, relié à la tige, agit comme un dispositif de verrouillage. Dans une vanne à bille, une bille en plastique fait office d'obturateur. En se déplaçant «dans le bon sens», le liquide de refroidissement pousse la bille à travers le canal dans le corps ou sous le couvercle de l'appareil. Dès que la circulation de l'eau s'arrête ou que le sens de son mouvement change, la bille, sous l'influence de la gravité, reprend sa position d'origine et bloque le mouvement du liquide de refroidissement.
Dans le pétale, le dispositif de verrouillage est un couvercle à ressort, qui s'abaisse lorsque la direction de l'eau dans le CO change sous l'action de la gravité naturelle. L'élément bivalve est installé (en règle générale) sur des tuyaux de grand diamètre. Le principe de leur travail ne diffère pas de celui des pétales. Structurellement, dans une telle armature, au lieu d'un pétale, chargé par ressort par le haut, deux volets à ressort sont installés. Ces dispositifs sont conçus pour réguler la température, la pression et stabiliser le travail du CO.
Vanne d'équilibrage
Tout CO nécessite un réglage hydraulique, c'est-à-dire un équilibrage. Il est réalisé de différentes manières: par des diamètres de tuyaux correctement sélectionnés, des rondelles, avec des sections d'écoulement différentes, etc. L'élément le plus efficace et en même temps simple de mise en place du fonctionnement du CO est une vanne d'équilibrage pour le système de chauffage .
Le but de cet appareil est que le volume requis de liquide de refroidissement et la quantité de chaleur peuvent être fournis à chaque branche, circuit et radiateur.
La vanne est une vanne classique, mais avec deux raccords installés dans son corps en laiton, qui permettent de connecter un équipement de mesure (manomètres) ou un tube capillaire avec un régulateur de pression automatique.
Principe d'opération
La vanne d'équilibrage du système de chauffage est la suivante: Tourne le bouton de réglage pour obtenir un débit strictement défini de l'agent chauffant.Cela se fait en mesurant la pression à chaque buse, après quoi, selon le schéma (généralement fourni par le fabricant à l'appareil), le nombre de tours du bouton de réglage est déterminé pour atteindre le débit d'eau souhaité pour chaque circuit CO. . Les régulateurs d'équilibrage manuels sont installés sur des circuits avec jusqu'à 5 radiateurs. Sur les branches avec un grand nombre d'appareils de chauffage - automatique.
Vanne de dérivation
Il s'agit d'un autre élément CO conçu pour égaliser la pression dans le système. Le principe de fonctionnement de la vanne de dérivation du système de chauffage est similaire à celui de sécurité, mais il y a une différence: si l'élément de sécurité purge l'excès de liquide de refroidissement du système, la vanne de dérivation le renvoie vers la conduite de retour après le chauffage. circuit.
La conception de cet appareil est également identique aux éléments de sécurité: un ressort à élasticité réglable, une membrane obturatrice avec une tige dans un corps en bronze. Le volant ajuste la pression à laquelle ce dispositif est déclenché, la membrane ouvre le passage pour le liquide de refroidissement. Lorsque la pression dans le CO se stabilise, la membrane revient à sa place d'origine.
Basé sur des matériaux provenant des sites: ventilationpro.ru, stroisovety.org
Vanne vapeur-air du système de refroidissement du moteur à combustion
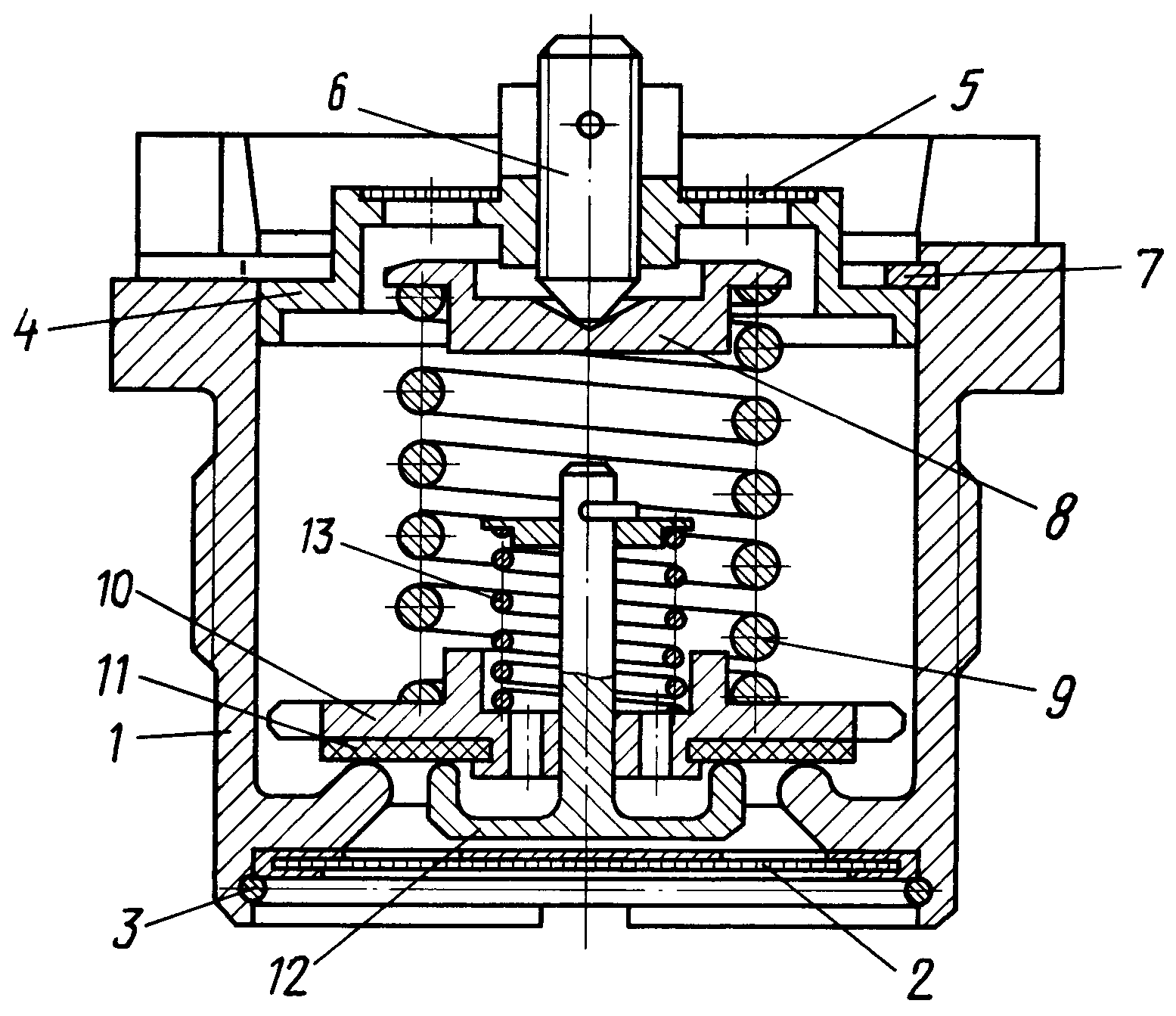
L'invention concerne le domaine des véhicules blindés et est destinée à être utilisée dans un système de refroidissement liquide d'un moteur à combustion interne d'un réservoir. La soupape air-vapeur du système de refroidissement d'un moteur à combustion interne contient un boîtier avec un couvercle. Des vannes d'air et de vapeur à ressort sont situées à l'intérieur du boîtier. Un trou fileté traversant est pratiqué dans le couvercle de valve le long de l'axe. La soupape est équipée d'une plaque installée sous le couvercle à l'extrémité du ressort de la soupape à vapeur, et d'une vis de réglage installée dans un trou traversant fileté pratiqué axialement dans le couvercle de soupape. Un évidement conique est pratiqué dans la partie supérieure de la plaque, interagissant avec l'extrémité de la vis de réglage. Le résultat technique de l'invention est d'augmenter la fiabilité de la vanne vapeur et d'améliorer les conditions de fonctionnement en assurant le réglage de la pression d'actionnement de la vanne vapeur sans démonter la vanne vapeur-air. 1 malade.
L'invention concerne le domaine des véhicules blindés et peut être utilisée dans un système de refroidissement liquide d'un moteur à combustion interne (ICE) d'un réservoir.
La soupape air-vapeur (PVK) est installée dans le vase d'expansion du système de refroidissement du moteur à combustion interne, elle sert à maintenir une certaine pression de la vapeur de liquide de refroidissement et de l'air dans le système, c.-à-d. protège les composants du système de refroidissement et du moteur à combustion interne contre les surcharges à pression excessive de surchauffe ou de dépression du moteur lors de son refroidissement. L'accès aux écrous réglables est fermé par un bouchon L'inconvénient de cette conception est la difficulté de régler la pression de consigne de la vanne de vapeur. La butée doit être retirée pour accéder à l'écrou de réglage. De plus, la vanne n'est pas déclenchée à pression constante du fait que la vanne à vapeur se déplace dans deux trous pilotes, dont l'un est situé dans le boîtier en PVC, et l'autre dans la vanne d'air. Les avant-trous peuvent être mal alignés. Pendant le fonctionnement, le trou de guidage supérieur du corps PVCC peut être obstrué par de la poussière fine et du tartre se forme dans le trou de la vanne d'air. En conséquence, la vanne de vapeur est grippée et son fonctionnement se produit à une pression plus élevée dans le système de refroidissement que ne l'exigent les exigences.Dans ce cas, les unités et pièces du système de refroidissement et du moteur à combustion interne sont surchargées et peuvent tomber en panne Le système de refroidissement du réservoir et les moteurs à combustion interne fonctionnent avec une intensité thermique élevée. La température admissible du liquide de refroidissement est négociée dans certaines limites, la pression dans le système de refroidissement est donc également autorisée dans certaines limites. Le PVK est régulé pour fonctionner à une certaine pression, fournissant ainsi une température admissible donnée du liquide de refroidissement. L'inconvénient de le prototype est celui d'une grande variation de la pression - en raison du fait que l'extrémité supérieure du ressort à vapeur est pressée par le couvercle. Lors de l'assemblage du PVC, en appuyant sur le couvercle, le ressort est comprimé et le couvercle est verrouillé avec une bague. Le parallélisme des extrémités du ressort et l'alignement du trou dans le couvercle pour l'extrémité du ressort et l'épaulement sur la vanne à vapeur affectent la pression d'ouverture de la vanne. Lors du prochain démontage - montage pour maintenance, le ressort prend une position non fixe et la pression de réponse diffère de la tolérance initialement réglée plus que la tolérance de réponse de la vanne. Pour réguler la pression de réponse, il est à nouveau nécessaire de démonter le PVK et d'atteindre une valeur prédéterminée de la pression de réponse. Le but de la présente invention est d'augmenter la fiabilité du PVK et d'améliorer les conditions de fonctionnement. Et les vannes d'air, un bossage avec un trou fileté est réalisé dans le couvercle de soupape le long de l'axe, dans lequel une vis de réglage avec une extrémité effilée est installée. Un disque est librement installé sous le couvercle à l'extrémité supérieure du ressort de la soupape à vapeur. Un évidement conique est pratiqué dans le haut de la plaque au centre, contre lequel la face d'extrémité de la vis de réglage vient en butée. L'analyse comparative avec le prototype montre que le PVCC proposé se distingue par la présence dans le couvercle de la valve d'un trou central fileté dans lequel une vis de réglage est installée, interagissant avec l'évidement conique de la plaque, extrémité du ressort de soupape à vapeur. Ainsi, la vanne air-vapeur revendiquée satisfait au critère de "nouveauté" de l'invention. La comparaison de l'invention revendiquée non seulement avec le prototype, mais aussi avec d'autres solutions techniques dans ce domaine de la technologie, n'a pas révélé en eux les caractéristiques qui distinguent la solution revendiquée du prototype, qui permet de conclure que le respect du critère «différences significatives». L'invention est illustrée par un dessin, qui montre une vue générale du PVC. Le PVC contient un corps 1, à l'intérieur du corps à au fond il y a un siège poli pour la soupape de vapeur et des rainures annulaires pour les anneaux de retenue.Dans la partie inférieure du corps il y a une maille 2 pour protéger la cavité interne PVCL des sédiments et des impuretés contenues dans le liquide de refroidissement. Le treillis est fixé avec une bague de retenue 3. Dans la partie supérieure du corps, il y a un couvercle 4 avec des trous protégés par un treillis 5 pour le libre passage du mélange air et vapeur-air et un trou traversant fileté au centre pour l'installation d'un vis de réglage 6. Le couvercle est fixé contre le mouvement vertical par une bague de retenue 7 et constitue un élément facilement démontable lors de l'entretien du PVC. Une plaque 8 est librement disposée sous le couvercle, comprimée par un ressort 9 d'une vanne à vapeur 10, un joint en caoutchouc 11 et une vanne d'air 12 avec un ressort 13. La plaque 8 présente un évidement conique dans lequel l'extrémité de la vis 6 Le dispositif et le réglage de la soupape à air sont effectués comme dans le prototype, à savoir, grâce au ressort sélectionné 13, qui presse la soupape à air 12 contre le joint 11. Le grand intervalle de pression de vide admissible dans le système de refroidissement ne ne nécessite pas de réglage supplémentaire de la vanne d'air.La soupape à vapeur est ajustée en pressant le ressort 9 à travers la plaque 8 avec la vis de réglage 6 jusqu'à ce que la pression d'actionnement requise de la soupape soit fournie selon les exigences techniques, suivie d'un verrouillage fiable de la vis. Le PVK est installé dans le vase d'expansion du système de refroidissement du moteur à combustion interne à travers un joint Si la température maximale admissible du liquide de refroidissement dans le système de refroidissement du moteur est dépassée et la pression maximale dans le vase d'expansion, à laquelle la soupape de vapeur est réglée , est atteint, il est déclenché. A savoir, avant la force de compression du ressort 9, la soupape à vapeur 10 s'ouvre et le mélange vapeur-air est éjecté à travers les interstices entre la soupape à vapeur et le boîtier 1 dans les ouvertures du couvercle 4 et dans le compartiment moteur-transmission de le tank. Ainsi, les composants du système de refroidissement et du moteur sont protégés des surcharges à pression excessive contre la surchauffe. Du fait que dans le PVK proposé, une plaque est librement installée sur l'extrémité supérieure du ressort de soupape à vapeur, dans la partie centrale dont un perçage de cône est réalisé, et une vis de réglage est installée dans le couvercle, la possibilité de régler l'actionnement de la vanne à vapeur sans démonter le PVK est fournie. Cela a amélioré les conditions d'entretien du PVC pendant le fonctionnement. En raison du fait que la force de compression du ressort de la soupape à vapeur par la vis de réglage est dirigée au centre, l'influence de la position mutuelle des pièces sur la précision de le fonctionnement de la vanne de vapeur est exclu. Dans ce cas, la précision du fonctionnement de la vanne à vapeur est multipliée par presque 20. De plus, après montage-démontage partiel dans les conditions de fonctionnement, le réglage du PVC n'est pas nécessaire.
Réclamer
Vanne vapeur-air pour le système de refroidissement d'un moteur à combustion interne, contenant un boîtier avec un couvercle, des vannes d'air et de vapeur à ressort situées à l'intérieur du boîtier, caractérisée en ce que, afin d'augmenter la fiabilité de la vanne à vapeur et d'améliorer conditions de fonctionnement en permettant le réglage de la pression d'actionnement de la vanne à vapeur sans démonter la vanne vapeur-air, un trou fileté traversant est réalisé dans le couvercle de la vanne le long de l'axe, il est équipé d'une plaque installée sous le couvercle à l'extrémité du ressort de soupape à vapeur, et une vis de réglage installée dans un trou traversant fileté réalisé axialement dans le couvercle de soupape, tandis qu'un évidement conique est pratiqué dans la partie supérieure de la plaque, interagissant avec l'extrémité de la vis de réglage.
LES FIGURES




