25/10/2017 4538 Pechnik (Moscou) La cheminée horizontale, dans sa structure, diffère des structures verticales classiques que l'on a l'habitude de voir. Les systèmes les plus couramment utilisés et installés sont de type coaxial, car ils se distinguent par leur facilité d'installation (il suffit de percer un trou d'un diamètre approprié dans le mur, d'insérer et de fixer le tuyau, de colmater tous les espaces). En regardant la vidéo de cet article et en lisant les informations sélectionnées, vous en apprendrez plus sur ce que sont ces systèmes d'échappement.

Cheminée horizontale - chauffer dans la maison, pas dans la cheminée
S'il est plus rentable pour une chaudière à gaz d'installer une cheminée en métal, la meilleure option pour un poêle à bois est une structure en brique. Si le tuyau en brique est strictement vertical, la majeure partie de la chaleur ira à l'extérieur.
Beaucoup ont probablement entendu le nom de cheminée horizontale ? Non, nous ne parlons pas d'une cheminée pour chaudière à gaz "pipe-in-pipe", située horizontalement et destinée à l'évacuation des produits de combustion d'une chaudière à gaz à tirage forcé. De telles cheminées sont appelées coaxiales.
Surtout s'ils s'évanouissent et se couchent, ils améliorent ce gaz et sortent inévitablement du cycle de survie. C'est une conséquence directe d'une combustion incomplète, le manque d'évacuation dans l'atmosphère est le résultat d'un système de drainage inefficace et de mauvais systèmes de ventilation dans les locaux où la cheminée ou le poêle est installé. Il s'ensuit que la basse température est de 200 ° C. est : nocif pour le gaz toxique qu'il produit, peu pratique car il n'utilise que 30% de l'énergie contenue dans le bois. Chauffer ce gaz au-dessus de 350° en présence d'oxygène neuf génère une quantité importante de chaleur et rend l'environnement plus propre, puisque le dioxyde de carbone qui en résulte est nécessaire aux plantes pour la synthèse de la chlorophylle.
La verticalité n'est pas toujours justifiée
Aujourd'hui, nous parlerons de la disposition des cheminées de poêle horizontales et des subtilités de leur disposition.
Si une chaudière à combustible solide ou à gaz est conçue pour chauffer des radiateurs de chauffage, qui, à leur tour, dégagent de la chaleur à l'intérieur de la pièce, tout est clair avec leurs cheminées, plus elles sont verticales, mieux c'est.
Voici donc les premiers problèmes. Pour obtenir une combustion optimale, complète et à haute température pour des performances maximales, pour maintenir un niveau adéquat de sécurité à la maison même dans ces conditions. Une combustion de ce type est plus facilement réalisée lorsque : la chambre de combustion n'est pas très grande : fours, cuisines. Une "machine" moderne qui conserve toutes ces fonctions, conçue pour des performances élevées, doit être capable d'évacuer les vapeurs à des températures de 200° ou plus, pour cette raison.
L'ancienne cheminée doit être vérifiée par un voisin qui n'est plus bon. ... Lorsque vous cuisinez pour l'étagère, pleurez-vous avec votre cœur de voir autant d'aliments de pointe ? Vous ne savez pas comment éviter de jeter des produits frais lorsque vous partez en vacances ? Savoir conserver les aliments est une pratique très saine et économique, surtout si vous avez l'habitude de consommer de grandes quantités de nourriture ou votre famille. Bien sûr, pour garder vos aliments au frais, vous avez besoin d'un outil conçu à cet effet : un congélateur.
Plus grand n'est pas mieux
Quel est le principe d'un four à briques classique ? Les briques chauffantes dégagent leur chaleur à l'intérieur de la pièce. En conséquence, plus la longueur maximale de la maçonnerie chauffée est longue, plus la chaleur pénètre dans la pièce.
Mais cela ne veut pas du tout dire qu'il est impératif de construire un grand four. Vous avez juste besoin d'un tel appareil de four, qui maximisera l'utilisation de la chaleur obtenue à partir de la combustion du carburant.
Les raisons du choix d'un modèle de congélateur particulier peuvent varier. Le volume de litres est l'une des principales caractéristiques à considérer au moment de l'achat, car il est impératif de répondre à vos besoins de débit. Cependant, le choix de la classe énergétique ne doit pas être négligé si vous recherchez un produit qui ne consomme pas trop, ou une valeur de classe climatique qui indique toutefois que les limites de température ambiante sont autorisées par le congélateur. Vous n'avez plus à vous soucier du dégivrage de votre congélateur.
Quelle chaudière / poêle convient à une cheminée horizontale
Les cheminées de ce type, réalisées sous la forme d'un tuyau métallique séparé, ne peuvent fonctionner qu'avec des chaudières équipées d'un tirage forcé. Sinon, la sortie des gaz d'échappement, notamment sur une longue section, sera difficile. C'est dangereux - la probabilité d'empoisonnement par les produits de combustion est trop élevée.
Cela n'a aucun sens d'aménager des cheminées horizontales pour les chaudières à gaz ou à combustible solide qui fournissent de la chaleur aux batteries et autres liquides de refroidissement.
Une autre chose est un four dont la source de chaleur est constituée de briques chauffées. Ici, le dispositif d'une cheminée multi-tours augmente plusieurs fois l'efficacité du radiateur.


Les cheminées multitours, quant à elles, sont horizontales et verticales. Pour les verticales, les canaux principaux sont situés respectivement verticalement et le chauffage d'une telle cheminée est inégal. Une autre chose est l'option horizontale.
Snake est une solution efficace
C'est ainsi qu'apparaissent les cheminées, disposées selon le principe du "serpent", ou, plus simplement, les cheminées multitours, dont la longueur est plusieurs fois supérieure à la longueur d'un tuyau droit.
Il existe des cheminées multitours verticales et horizontales. Dans les cheminées verticales multitours, l'emplacement des conduits principaux est orienté strictement verticalement. Le principal inconvénient d'une telle cheminée est un chauffage inégal.
Et que préférez-vous entre 3 ou 4 étoiles ? Cela dépend du besoin : dans le premier cas, le produit convient aux aliments surgelés avec un minimum de -18°, et les 4 étoiles atteignent une température de -30° pour assurer la congélation des aliments frais. Il y a tellement de questions auxquelles nous sommes confrontés avant de dépenser de l'argent, même à cause du coût moyen des congélateurs. Attendre des offres sur des offres peut aider votre portefeuille, mais pour ceux qui cherchent à être confiants tout au long de l'année, vous pouvez toujours utiliser des codes de réduction.
Voici 5 modèles de congélateurs les plus vendus qui peuvent vous aider! Sa structure horizontale est capable de contenir jusqu'à 104 litres à l'intérieur malgré sa largeur de 54 cm et possède 4 étoiles, ce qui indique que les aliments frais peuvent être congelés à -30° en peu de temps. Il n'est pas seulement équipé d'indicateurs qui se déclenchent en cas de gel rapide ou de changements brusques de température, ce qui est utile pour surveiller le bon fonctionnement de l'appareil. Simple et substantiel en raison de sa petite taille, il peut être placé dans de petits espaces. les aliments peuvent être stockés dans des boîtes appropriées avec une bonne capacité de stockage.
En revanche, une cheminée horizontale multitours chauffe beaucoup plus efficacement. Étant donné que les gaz chauds ont tendance à monter et que la zone supérieure de la cheminée horizontale est beaucoup plus grande que celle de la cheminée verticale, le chauffage s'effectue donc beaucoup mieux avec le même volume de combustible.
Très compact, il mesure 82 cm de haut, 5 de large et 53 pouces. Tout cela pour un volume net de 65 litres.Trois grands tiroirs offrent suffisamment d'espace pour un petit espace. Avec ses pieds réglables et ses portes réversibles, vous pouvez le placer où vous voulez.
Grâce à la gentillesse de votre conception, il maintient la température pendant 15 heures même en cas de panne de courant, de sorte que vous n'ayez aucune pensée sur le week-end. La consommation reste faible grâce à sa classe énergétique A, critique pour ses dimensions importantes : 4 cm de haut, 5 de large et 8 pouces.
Trois règles de base
Il est beaucoup plus difficile de plier une cheminée multipasses pour un poêle que d'assembler un conduit de fumées modulaire pour une chaudière à gaz. Lors de l'exécution du travail, vous devez suivre des règles strictes:
- La section transversale de la cheminée doit être strictement de la même taille dans toute la cheminée.
- Les angles vifs à l'intérieur de la cheminée doivent être minimisés.
- Observez la douceur de la surface intérieure.
A première vue, ce sont des règles très simples, mais comment les observer en pratique ?
Des alarmes sonores et visuelles sont prêtes à vous dire si la température est trop élevée, c'est très utile pour économiser tout ce que vous pouvez mettre dans 229 litres. La circulation d'air interne est également 40 % plus efficace. Considérations clés pour l'installation d'un réchauffeur de fusée.
L'installation de cheminées est le moyen le plus courant de raccorder des poêles à combustible solide. La table de cuisson est reliée à la cheminée à l'aide de cheminées métalliques, qui servent également d'échangeurs de chaleur. La longueur totale et le nombre de courbes dépendent du tirage combiné du poêle et de la cheminée.
Brique et cheminée - les dimensions comptent
Confronté pour la première fois à la pose d'une cheminée horizontale (voir Cheminée de bricolage), même un artisan expérimenté peut se laisser perplexe en suivant ces règles.
Mais regardons tout dans l'ordre.
- La brique standard a une taille 250 × 120 × 65 mm
... Qu'avons-nous dans ce cas? - Il est clair que la moitié de la brique aura une taille de 125 × 120 × 65 mm
... Puisque nous bloquons la section horizontale de la cheminée avec une brique, nous avons décidé de la taille
125 millimètres. - Étant donné que la hauteur de la brique est 65 mm
, il devient clair que pour créer un canal, vous devrez disposer deux rangées,
65+65=130
, ajoutez à cela deux couches de mortier.
Notre cheminée aura une section transversale 125 × 125 × 140 mm
... Ceci est très important à retenir, car lors de la pose de ce type de cheminée, beaucoup commettent une grave erreur.
Les principales considérations pour l'installation d'un poêle sont. Résistance au feu Récupération maximale de la chaleur Disposition pratique et esthétique des cheminées. La cuisinière et les bouilloires, en particulier celles à proximité, doivent être maintenues à une distance de sécurité des matériaux inflammables tels que le papier peint, les tapis, etc.
La connexion optimale du four demande de la patience et des efforts. L'objectif est d'atteindre un équilibre entre les fringales et la chaleur. Si on pose les bols, le tirage sera très bon, mais on aura des déperditions de chaleur importantes par la cheminée. La façon la plus simple de juger est de toucher le tuyau juste devant la cheminée. Votre main doit pouvoir supporter la température. Si l'argent de la cheminée a déjà été beaucoup perdu, et s'il fait chaud, la différence entre une fusée et un poêle conventionnel en termes de pertes de cheminée n'est pas grande.
Si la partie horizontale de la cheminée a une taille 125 × 125 × 140 mm
, alors la longueur maximale de la section verticale de la circulation des fumées est disposée de manière complètement arbitraire, c'est-à-dire la façon dont ça se passe.
Cela ne peut pas être autorisé si, lors de la pose de la dernière brique du sol, la taille de la transition verticale ne correspond pas aux paramètres ci-dessus, coupez la brique pour respecter la taille. Encore une fois, c'est très important.
Dans une cheminée fonctionnant normalement, nous vous recommandons d'utiliser uniquement des radiateurs et des radiateurs "au genou". Pour les installations avec un grand coude, vous devez essayer de trouver un équilibre.Si nous construisons un système avec trop de bol, le tirage peut perdre beaucoup de poids et le poêle commence à brûler paresseusement et fume souvent lorsqu'il est allumé et crée de la condensation. Les conduits de fumée horizontaux longs sont typiques pour les installations à masse thermique.
Il est important de laisser de l'espace ici pour nettoyer les tuyaux de cendres. Notez que vous parlez de cendres, pas de pommes de terre. Cendres transportées par les gaz en mouvement et déposées dans des sections de tuyaux horizontales. Les réglages thermiques sont plus accentués sur les longues sections horizontales, et le nombre de genoux doit être surveillé. Il est préférable de minimiser leur utilisation et lorsque l'installation est terminée de faire une pause d'essai. Si vous pensez que la poussée est puissante, vous pouvez remplacer l'un des tuyaux plats verticaux par un tuyau droit avec un radiateur coudé ou lyre.
Vortex - Méthodes de résolution de problèmes
La question suivante est de savoir comment minimiser les angles vifs. Si nous imaginons le mouvement des produits de combustion à l'intérieur de la cheminée comme un écoulement d'eau, il devient clair que des tourbillons apparaîtront aux angles vifs de la maçonnerie, empêchant le mouvement normal des gaz et, par conséquent, une détérioration du tirage.
Caractéristiques lorsque vous travaillez avec un réchauffeur de fusée. Ignorer le feu peut être un peu délicat, surtout pour les personnes sans expérience. Ici, nous nous limiterons aux positions de base lors du tir d'une roquette. Le combustible est l'élément le plus important pour allumer et entretenir un feu. L'incinération au four doit être effectuée avec des matériaux secs et collants.
Ici, nous avons présenté un exemple de poêle. Pour démarrer le carburant, nous utilisons 3, 4 morceaux de chêne, des noix de serrage, des cônes et un peu de papier. Comme vous pouvez le voir sur la figure, le bois fait face au fond du trou, dont l'épaisseur est choisie de manière à ne pas recouvrir complètement le trou dans la partie intérieure de la chambre horizontale. En bas, nous mettons des coquilles de noix dessus et des cônes au-dessus d'eux.
La seule solution correcte dans ce cas est de lisser les angles vifs à l'intérieur de la cheminée.
Compte tenu des transitions à l'intérieur de la cheminée, on peut voir qu'il est possible de lisser les angles vifs uniquement au niveau du chevauchement même du canal de fumée. Ceci est fait en ébréchant simplement les coins pointus de la brique. Cela doit être fait très soigneusement et soigneusement.
Fermez le couvercle autour de ⅓ du trou. Ceci est important lorsque nous avons peu de fringales. Une exigence de base spécifiquement pour les réchauffeurs de fusée est de couvrir ⅓ à ½ de la surface de l'entrée du bois ! Attention : vous n'avez pas besoin de couvrir avec un couvercle qui peut simplement être rempli de bois ! Mais lorsque l'on met du bois, il est recommandé d'utiliser une couverture pour limiter la zone libre. Cela accélère l'air et engage la cheminée et la fumée qui jaillit de l'arbre, et empêche également le feu de se propager.
Notez que cela ne réduit pas l'air entrant comme avec les poêles conventionnels, mais modifie simplement la vitesse et allume ainsi le feu. Cependant, si l'on couvre une très grande surface, le poêle commence à "s'enfoncer", cela est immédiatement compris comme le bruit de la combustion. Le taux de combustion est contrôlé en modifiant la taille et la quantité de bois à brûler. Par exemple, si nous voulons une combustion forte, nous fournirons du bois plus gros et plus fin. Si nous voulons brûler un peu, nous placerons des bois plus épais. Il est bon d'avoir au moins deux arbres en feu lorsqu'ils ont tendance à s'éteindre.
Notre conseil : utilisez une ponceuse électrique pour lisser les arêtes vives de la brique. C'est beaucoup plus rapide de cette façon et le résultat sera bien meilleur.
Serpent de cheminée


Contrairement aux cheminées verticales, le "serpent" a une plus grande surface chauffée et est capable de dégager plus de chaleur. Ce sont les soi-disant multi-tours, ils peuvent même dépasser la longueur du « riser » vertical classique. À condition qu'un volume de combustible soit utilisé, le transfert de chaleur des combustibles horizontaux est beaucoup plus élevé.Il faut prendre en compte les caractéristiques, elles nécessitent une très bonne traction, peut-être même de nature forcée.
S'il y a un poêle, il y aura une cheminée
La figure montre une partie du four pour laquelle il est nécessaire de disposer une cheminée horizontale.
Les éco-briquettes sont un bon carburant pour fusée. La note d'incendie publiée explique ce qu'est le mode fusée. Il présente également les caractéristiques et les effets des cheminées. Nous allons maintenant préciser que le réchauffeur de fusée entre en mode de fonctionnement dans les 15 à 30 minutes suivant l'allumage, en fonction de l'intensité de la combustion. C'est ce que l'on peut appeler le mode fusée initial, seule la première partie de la cheminée centrale étant bien chauffée. Après un certain temps, toute la cheminée intérieure se réchauffe et le four atteint son plein fonctionnement, caractérisé par une combustion lente du bois.
Comme mentionné précédemment, nous devons respecter tous les paramètres des dimensions de la section intérieure. Si l'expérience dans ce type de travail ne suffit pas, vous pouvez construire un moule de la taille appropriée. Avec son aide, il sera possible de contrôler avec succès l'ensemble du processus de pose de briques.
Comme mentionné précédemment, la section transversale de la partie intérieure de notre cheminée sera de 125 × 125 × 140 mm.
Un phénomène très désagréable est la condensation de la vapeur d'eau sur la surface interne des concombres. Un liquide brun en sort, et ça sent et sent. La condensation se produit lorsque nous brûlons des matériaux humides ou très humides en combinaison avec des bains froids. En principe, il est possible de brûler de la matière humide, mais pour ce faire, le poêle doit brûler et brûler avec du bois sec jusqu'à ce que les chaudières soient suffisamment chaudes pour éviter la condensation.
Il est conseillé de retirer quotidiennement les cendres de la chambre. Une petite règle ou un agitateur en bois peut être utilisé à cet effet. Lorsque le poêle vole fréquemment et accumule plus de cendres pendant une courte période. Lorsqu'il brûle longtemps, s'il est utilisé correctement, il peut rester très peu de cendres et ne pas être nettoyé avant la prochaine flamme.
Mise en place d'un canal horizontal
- Pour ce faire, nous posons deux rangées de briques de manière à obtenir un canal de cheminée horizontal. La figure montre comment procéder. Les briques sont posées de la manière habituelle pour la maçonnerie.
- La seule chose qui est requise est le strict respect de l'épaisseur des coutures. Étant donné qu'une différence de quelques millimètres ne joue pas un grand rôle dans un mur de briques ordinaire, dans une cheminée, cette différence entraînera une modification de la section interne de la cheminée.
- Par conséquent, lors de la pose de chaque brique, vérifiez et ajustez soigneusement l'épaisseur du joint et la pose horizontale. Cela peut être fait en utilisant le niveau du bâtiment.
Si nécessaire, la brique est renversée avec un marteau à pointe en caoutchouc ou un marteau conventionnel avec un support en bois. Nous vous rappelons que l'épaisseur de la couture est 3 mm
.
Préparation du chevauchement
Le conduit de cheminée est prêt. Le chevauchement est requis. Pour cela, nous allons préparer la chaîne. Nous posons une autre rangée selon le schéma illustré sur la figure.
Maintenant, tout est prêt pour la pose du sol. Quoi d'autre est important de savoir. Lors de la pose de briques, faites très attention au mortier qui dépasse. Toute solution qui fuit doit être soigneusement éliminée.
Si possible, les joints internes doivent être complètement remplis de mortier. Les carences de la solution constituent des étapes supplémentaires sur lesquelles la suie s'accumulera par la suite.
Brique de sol - compétence, dextérité, désir, formation
Comment installer correctement les briques de sol ? Cela nécessite une certaine compétence et connaissance. Commencer:
- Nous appliquons une brique sans mortier et déterminons la partie qui se trouve à l'intérieur du canal de la cheminée aux révolutions.
- À l'aide d'un broyeur, arrondissez les angles vifs comme indiqué dans le premier schéma.
Notre conseil: comme toutes les briques ne sont pas sujettes à des arrondis, vous pouvez immédiatement préparer la quantité requise, selon le schéma de la cheminée. Ils peuvent toujours être coupés sur mesure si nécessaire.
- En ce qui concerne la solution. Lors de la pose de briques de sol, le mortier est appliqué sur la brique à poser et en aucun cas sur les briques de maçonnerie.
- Placez la brique et déterminez quelles parties elle touche la maçonnerie de la cheminée. Comme vous pouvez le voir sur la photo, il jouxte la maçonnerie avec une partie bout à bout et cuillère complètement et la moitié du pastel.
- Appliquer du mortier sur ces parties et étendre le plus uniformément possible. Notez que pour que la brique ne coule pas sur les côtés, il doit y avoir un peu plus de mortier sur les bords qu'au centre.
- Le mortier est appliqué à l'envers sur la brique. Lorsque le mortier est appliqué, nous posons la brique et la pressons fermement avec la cuillère et le bout à bout.
La précision compte
Après cela, en utilisant le niveau, nous effectuons la mesure nécessaire. Si nécessaire, martelez la brique avec un marteau en caoutchouc. Ne heurtez en aucun cas la partie au-dessus du conduit de fumée.
Vous pouvez soutenir la brique par le bas d'une main et effectuer les manipulations nécessaires. Ainsi, toute la ligne s'adapte. En fin de compte, vous devriez obtenir comme indiqué sur l'image.
Répétons, en posant la brique du dernier étage, vérifiez la taille du virage vertical. Si nécessaire, coupez la brique juste assez pour faire correspondre le canal vertical au canal horizontal.
Référence: le respect des dimensions de la cheminée est la clé d'un bon fonctionnement efficace de la cheminée.
Maintenant, tout peut être répété dans la direction opposée. C'est ainsi que toute la cheminée s'adapte.
Finition de la cheminée
La cheminée en acier n'a pas besoin de finition, car l'acier galvanisé ou inoxydable utilisé comme enveloppe de protection est très résistant à toutes les conditions météorologiques. La maçonnerie est une autre affaire. Pour prolonger sa durée de vie, il est conseillé d'appliquer l'un des types de finitions suivants :
- Revêtement de clinker. C'est cher, mais il est beau et se marie bien avec tous les types de toiture. Autre plus : grâce à la couleur foncée, la saleté sur les carreaux de clinker reste invisible.
- Plâtrage. Le plâtre est moins cher que les carreaux de clinker et plus facile à installer. Mais il attire non seulement par cela, mais aussi par la possibilité de se tacher dans n'importe quelle couleur. Il faut utiliser de la peinture silicone. Vous pouvez utiliser un mortier ciment-sable traditionnel pour le plâtrage avec ajout de chaux. Mais de nouveaux mélanges plus résistants à base de silicone, d'acrylique ou de silicate dureront beaucoup plus longtemps.
- Parement en plaques de fibrociment. De telles plaques sont peu coûteuses et en même temps elles résistent parfaitement au rayonnement solaire et aux effets des phénomènes atmosphériques. Vous pouvez également noter leur poids léger et leurs couleurs variées. La surface peut être lisse ou gaufrée.
- Finition avec dalles en ardoise. Cette finition est utilisée si le toit est également recouvert d'ardoise. Les plaques diffèrent non seulement par leur couleur (elles sont violettes, vertes ou graphite), mais également par leur forme, qui peut être cintrée, octogonale, écailleuse ou rectangulaire régulière.
- Parement avec des feuilles de carton ondulé. Habituellement utilisé lorsque vous utilisez le même matériau que la toiture.
D'en haut, le tuyau est protégé des précipitations par une partie conique - un parapluie. Si le générateur de chaleur fonctionne au charbon, à la tourbe ou au bois et qu'en même temps des matériaux inflammables sont utilisés comme couverture, un pare-étincelles doit également être installé. Vous pouvez créer cet élément vous-même.
Fabriquer un pare-étincelles
Le pare-étincelles est extrêmement simple. Il se compose d'un couvercle, qui fait dévier la fumée sur le côté, et d'un grillage à travers lequel la fumée est évacuée vers l'extérieur.
Une version maison d'un pare-étincelles peut être fabriquée des manières suivantes:
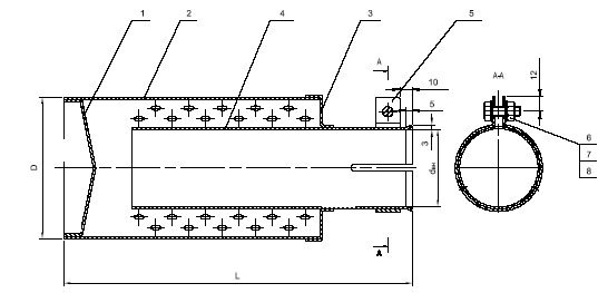
- Le plus simple.Vous devez prendre un tuyau d'un diamètre correspondant au diamètre de la cheminée, souder un bouchon à l'une de ses extrémités et percer de nombreux trous d'un diamètre de 5 mm dans la paroi latérale à côté de ce bouchon. Il reste à mettre un pare-étincelles maison sur la cheminée et à le réparer d'une manière ou d'une autre.


Un simple pare-étincelles est un tuyau avec des rangées de trous régulièrement espacées, serré avec une pince en acier
- Plus difficile. Après avoir mesuré le tuyau avec une précision suffisante, un anneau est fait de ruban d'acier afin qu'il puisse être placé sur la tête de la cheminée. Un treillis de fil de 5 mm de diamètre est soudé ou soudé à l'anneau. Le maillage peut être réalisé sous la forme d'un cylindre. Un parapluie conique en tôle d'acier avec un revêtement anti-corrosion est soudé ou brasé sur le dessus. Après pliage en cône, les bords de la pièce peuvent être fixés avec des rivets.


Pour la fabrication d'un pare-étincelles, vous pouvez utiliser un morceau de tuyau avec un treillis métallique soudé à celui-ci et un parapluie situé sur trois pieds de support
Suie : brique ou portes
Dans une telle cheminée, le problème de la suie se posera sûrement. Le principal inconvénient d'une telle cheminée est la nécessité d'un grand nombre de portes pour le nettoyage (Comment nettoyer une cheminée).
Les portes réduisent considérablement l'efficacité de la cheminée. Un chauffage inégal des murs de briques et des portes métalliques entraîne de grandes différences de température à l'intérieur de la cheminée et, par conséquent, une détérioration du tirage.
Notre conseil : à la place des portes métalliques, installez des briques défonçables. Bien sûr, cela compliquera légèrement l'entretien de la cheminée, mais dans tous les cas, cela améliorera considérablement ses performances.
Le travail ne nécessite pas de précipitation. L'essentiel dans la construction de cette cheminée est le soin et la précision. En utilisant les trucs et astuces ci-dessus, vous pouvez réussir à construire une cheminée horizontale pour votre poêle.
>> ?
Après avoir traité les chaudières, il est temps de parler de comment faire une cheminée correctement
, après avoir examiné les différentes conceptions des cheminées et les exigences de leur construction.
La cheminée de la chaudière est conçue pour éliminer les produits de combustion du combustible dans l'atmosphère. En effet, toute chaudière de chauffage, si elle n'est pas électrique, ne peut fonctionner que s'il y a une cheminée bien faite.
Quels modèles de cheminée existe-t-il ?
Cheminée latérale extérieure
Pour de telles cheminées, le tirage forcé n'est pas nécessaire : les gaz d'échappement sont évacués grâce au tirage atmosphérique naturel. Avec un tel dispositif de cheminée, le tuyau de la chaudière traverse le mur jusqu'à la rue, puis la cheminée le long du mur monte jusqu'au toit:
2. Cheminée latérale extérieure
La hauteur de la cheminée doit être d'au moins 5 m du bas de la chaudière au haut de la cheminée (voir la figure suivante).
Dans le schéma, D1 et D2 sont les diamètres de la cheminée elle-même et de la sortie sur la chaudière. Ces diamètres doivent donc être égaux et conformes à la norme 130 mm.
La cheminée est fixée au mur à l'aide de pièces supplémentaires (pinces et cadre de support).
Quelle est la différence avec une cheminée coaxiale
La cheminée coaxiale est un système "à deux couches" dans lequel un tuyau plus petit est placé dans un tuyau plus gros. Une extrémité de cette structure est reliée à la chaudière de chauffage et l'autre est sortie dans la rue.
La partie interne (mince) sert à évacuer les produits de combustion. Externe - fournit un flux d'air frais de la rue à la flamme.
En passant par le tuyau intérieur, l'air froid se réchauffe, la chaudière ne dépense pas d'énergie pour le chauffer, son efficacité augmente.
Les principales différences entre les cheminées horizontales et coaxiales :
- Conception
Coaxial - deux tuyaux, horizontaux - un tuyau ou un canal, avec quelques coudes,
- Les fonctions
Une cheminée horizontale augmente la surface du liquide de refroidissement et élimine les produits de combustion. Le coaxial alimente le feu en oxygène, évacue les fumées et augmente le rendement de la chaudière,
- Emplacement
Le coaxial peut être positionné à la fois horizontalement et verticalement.
Exigences pour le dispositif de cheminée
Pour ce qui précède, regardons les diagrammes de la façon dont les cheminées sont disposées.
Exécution verticale. Si la chaudière est au sol et que les sols sont combustibles, il doit y avoir un substrat incombustible sous la chaudière: une feuille d'amiante plus une feuille de métal.
Passage de cheminée à travers un mur en bois
(et en général un mur en matériau combustible) doit avoir un coupe-feu d'au moins 0,5 mètre autour de la cheminée.
La prochaine exigence est - longueur de la section horizontale de la cheminée
: de l'axe de la chaudière à l'axe de la cheminée, qui est à l'extérieur, il ne doit pas y avoir plus de 2 mètres, sinon le tirage sera mauvais.
Sur la section extérieure du tuyau, le tuyau est à deux couches et une isolation thermique est posée entre les couches pour éviter la condensation dans le tuyau. Mais dans tous les cas, il devrait y avoir une poche au bas de la section verticale du tuyau pour le nettoyage et l'évacuation des condensats.
En figue. 3 une cheminée qui traverse verticalement les plafonds : dans ce cas, à travers le plafond et le toit. Les exigences sont les mêmes ici. Une exigence est également ajoutée : du bas de la chaudière au haut de la canalisation, une distance d'au moins 5 m.
Diamètre de cheminée pour chaudière à gaz
fixé par le fabricant doit être égal au diamètre de la cheminée quittant la pièce. Il arrive que les chaudières avec un diamètre de cheminée plus petit (environ 80 mm), alors le diamètre intérieur du reste de la cheminée doit être d'au moins 130 mm. Toutes ces exigences doivent être prises en compte, car si vous ne le faites pas correctement, vous aurez des problèmes pour mettre en service les équipements à gaz.
Dans le schéma suivant (Fig. 4, A), une option est envisagée lorsque la cheminée est encastrée dans le canal du mur extérieur. Ici, les exigences suivantes doivent être respectées : sous l'entrée du tuyau dans le canal mural, il doit y avoir une trappe de nettoyage. Il arrive que par temps froid des moineaux, des pigeons, etc., s'assoient sur le dessus de la cheminée, ils s'étouffent avec du monoxyde de carbone et tombent dans la cheminée. Naturellement, toutes ces ordures s'accumuleront jusqu'à ce que toute la cheminée soit bouchée.
Règles de travail d'installation
Les caractéristiques et la technologie d'installation d'une cheminée horizontale vous permettent de faire tout le travail de vos propres mains si vous avez des connaissances et des compétences de base.
Si nous parlons de chaudières avec une turbine spéciale, alors tout est simple: une cheminée coaxiale est installée. Dans d'autres cas, la section horizontale de la cheminée doit supporter un tirage naturel. Par conséquent, l'installation de systèmes "serpents" est effectuée en stricte conformité avec les exigences technologiques. La conception se compose de plusieurs tours, dans lesquels alternent des sections horizontales avec des sections verticales courtes, assurant l'élimination complète des produits de combustion.
Les briques réfractaires sont utilisées pour la construction. Dans le même temps, pour organiser le canal de retournement, il doit être coupé en deux. L'essentiel à chaque étape est de contrôler la préservation de la même section du canal d'air. La structure est pliée alternativement en sections. Les pièces qui seront situées aux endroits où le flux d'air tourne sont arrondies en coupant et en meulant les coins.
A chaque étape de la pose des rangs, il est nécessaire de répartir le mortier pour que l'étanchéité soit assurée. Une attention particulière doit être portée à l'installation de portes métalliques ou de briques défoncées.
Méthodes de retrait de base
La disposition des canalisations doit être basée sur la méthode de prélèvement :
- Le système coaxial est sorti à travers le mur, suivi de l'isolation et du scellement de l'emplacement du tuyau.
- Lors du retrait à travers les plafonds et les toits, une cheminée «serpent» est conseillée. Dans ce cas, la hauteur de la structure est calculée de manière à assurer la traction et à éliminer les turbulences (les méthodes d'installation recommandent la présence de 4 à 6 virages).
Un service
Toute cheminée est susceptible de se boucher avec des produits de combustion tels que la suie et la suie. Par conséquent, en plus de la finition esthétique extérieure, il a besoin d'un nettoyage constant.S'il n'est pas difficile de se débarrasser du blocage d'une cheminée verticale standard, les conduits horizontaux doivent être nettoyés séparément.
Dans le cas des systèmes coaxiaux, le travail de nettoyage ne prend pas beaucoup de temps et d'efforts, car la structure est en acier inoxydable, et un fort flux d'air poussant les produits de combustion ne permet pas à la suie et à la suie de se déposer sur les parois de la structure. Pour améliorer l'effet, les cheminées sont installées à un léger angle par rapport au plan horizontal.
Dans les systèmes en brique de cheminées horizontales "serpent", afin d'assurer le nettoyage des canaux de la suie, des portes métalliques sont placées au niveau de chaque section horizontale. En raison des propriétés différentes du métal et de la brique, en particulier le chauffage et le refroidissement, l'efficacité de l'ensemble de la structure diminue. Pour éviter que cela ne se produise, au lieu de portes, des éléments défonçables sont souvent montés - des briques carrées, qui, si nécessaire, peuvent être obtenues et, après les travaux de nettoyage, mises en place.
Dans le premier cas, l'accès au conduit est assuré par l'ouverture et la fermeture du produit. Dans le second, avant d'atteindre le plan intérieur, il est nécessaire de démonter l'un des éléments avec peu d'effort, et après les travaux de nettoyage, de l'installer en place, en assurant la sécurité du joint. Le nombre de ces trous de révision est de quatre, mais 6 tours avec points d'accès sont également autorisés.


