Installation
Date de publication: 15.09.2015
3
32887
- Sélection de fenêtres
- Fenêtres en bois
- Fenêtres en plastique
- Fenêtres en aluminium
- Fenêtres panoramiques
- Installation et montage
- Installation de fenêtres dans une maison à ossature: instructions étape par étape
- Conseils généraux
- Installation de fenêtres en bois
- Installation d'une fenêtre en plastique
- Orientation théorique
- Installation à marée basse
- Dispositif de rebord de fenêtre
L'installation de fenêtres est l'une des étapes les plus importantes de la construction d'une maison à ossature bois, ce qui affecte le climat intérieur et le niveau de confort de ses résidents. La majeure partie de la perte de chaleur se produit par les blocs de portes et de fenêtres. C'est pourquoi il est nécessaire d'aborder ce processus avec une grande responsabilité, de prendre en compte tous les points afin d'éviter les erreurs qui conduisent à la formation de ponts froids. Un guide étape par étape vous aidera à éviter les erreurs lors de l'installation.
Matériel de fabrication
Les blocs de fenêtre en bois sont de qualité suffisante et plus ou moins bon marché. Plus la note est élevée, plus elle est chère.
L'ensemble minimal de fenêtres en bois ne comprend pas les fenêtres à double vitrage. Ils sont achetés séparément et montés dans des rainures, puis martelés avec des parcloses. Souvent, ces blocs de fenêtres sont réalisés en l'absence non seulement de fenêtres à double vitrage, mais également d'autres matériaux importants (peinture, joints). Vous pouvez opter pour un cadre simple ou double. Bien sûr, vous pouvez acheter une fenêtre complètement prête à être installée, mais son coût sera beaucoup plus élevé. Le matériau à partir duquel les ouvertures de fenêtres en bois sont faites est le chêne, moins souvent le mélèze.
Il existe des dizaines de types différents de blocs de fenêtres en plastique sur le marché de la construction.
Leur catégorie de prix varie en fonction des propriétés, du dispositif et du mécanisme du vitrage, de la taille de la couche d'air et de la qualité des isolants thermiques.
Outils et consommables

Marteau avec percuteur en silicone Burin émoussé (pour déflecteur) Percer et percer pour 6 (pour la cheville, perçage dans le profil) et 12 mm (fraiser le profil pour installer le couvercle du meuble sur la cheville) Tournevis et embout Torx Pistolet à mousse Niveau Niveau laser (en option) Carré (en option) Plaques de redressage (à l'intérieur du profilé) Films (hydro, vapeur et PSUL) Plaques ou vis pour béton Torx Supports spéciaux en plastique (sous le support, ainsi qu'à gauche et à droite du profilé) Montage mousse
Bois ou plastique?
Avant d'acheter des blocs de fenêtre, vous devriez trouver des réponses aux questions suivantes: quel type de matériau de fenêtre vous convient? Qu'est-ce qui est plus rentable et de meilleure qualité - l'installation de fenêtres en bois ou l'installation de fenêtres en plastique dans une maison à ossature? Pour y répondre, vous devez considérer les propriétés des deux produits.
Les blocs de fenêtre en bois ont un aspect plus esthétique, grâce à leur texture et à leur motif, ils confèrent à la pièce une atmosphère chaleureuse et chaleureuse. De plus, le bois est un matériau respectueux de l'environnement. Le coût de ces fenêtres est relativement abordable.
Les inconvénients des fenêtres en bois sont:
- Pas aussi longue que celle des fenêtres en plastique, la durée de vie;
- Probabilité plus élevée d'être rendu inutilisable en raison des intempéries;
- Le besoin de soins annuels (coloration, remplacement de l'isolant, etc.).
Les avantages des fenêtres en plastique sont:
- Grande résistance aux conditions météorologiques défavorables (pluie, gel, grêle, lumière directe du soleil, changements brusques de température);
- Longue durée de fonctionnement;
- Ne nécessite pas d'entretien supplémentaire sous forme de peintures et de remplacement de l'isolant;
- Excellente isolation phonique (plus le nombre de fenêtres à double vitrage est élevé, plus l'effet est fort);
- La conception de l'unité de fenêtre ne réduit pas sa rigidité même après de nombreuses années de fonctionnement.


Inconvénients des ouvertures de fenêtre en plastique:
- La politique de prix sera plus chère que celle en bois;
- Si l'une des pièces devient inutilisable, son remplacement ou sa réparation sera également assez coûteux;
- Aspect moins attrayant, le naturel à l'intérieur est perdu. Cet inconvénient peut être facilement corrigé, car même les fenêtres à double vitrage sont présentées sur le marché des matériaux de construction modernes qui imitent le motif et la texture du bois. Ils ont un prix légèrement plus élevé, mais dans ce cas, vous obtenez également une fenêtre en plastique de haute qualité dans une maison à ossature, tout en ayant l'aspect esthétique d'une maison en bois.
Ce qui précède nous permet de résumer qu'il est plus opportun et plus rentable d'acheter exactement des blocs de fenêtre en plastique.
Le fait que leur coût soit légèrement supérieur au prix des fenêtres en bois est rentable par la durée de fonctionnement et le remplacement inutile des composants, qui nécessitent également périodiquement de l'argent de poche.
Installation de fenêtres en plastique: points généraux
Il est recommandé de commencer l'installation de fenêtres en plastique dans une maison à ossature après l'achèvement du revêtement à ossature et avant que les murs ne soient isolés. Vous pouvez effectuer tout le travail de vos propres mains, ou pour votre tranquillité d'esprit et une meilleure installation, faites appel aux services d'ouvriers professionnels.
L'auto-installation de fenêtres en plastique dans une maison à ossature nécessitera l'inventaire suivant:
- Outils pratiques (marteau, tournevis, scie à métaux);
- Outils électriques (perceuse, scie sauteuse);
- Petits consommables (boulons, vis, etc.);
- Isolant thermique;
- Fil à plomb;
- Niveau du bâtiment;
- Revêtements en bois.
Dans le processus, vous pouvez également avoir besoin d'autres outils.
Première étape. Préparation
Le montage de la fenêtre doit commencer après l'achèvement des travaux ci-dessous:
- Treillis filaire installé;
- Murs et cloisons installés;
- Le toit est installé;
- Les matériaux sont posés pour protéger de l'humidité et du vent.
Il convient de garder à l'esprit que pour le pare-vapeur interne et externe, il est conseillé de s'approvisionner en réserve près des ouvertures de fenêtres. Grâce à lui, un chevauchement d'isolant se crée sur l'ouverture.
Vous devez savoir que dans la liste fournie ci-dessus, les chevauchements n'ont pas été marqués comme la phase de finition de la construction. Il en est bien ainsi, puisque la finition finale de l'intérieur (y compris la pose du sol) se fait plus tard.
Si vous installez une fenêtre dans une maison à ossature, où il n'y a pas encore de plancher, il est nécessaire de prendre en compte la présence d'échafaudages spéciaux sur le site, sur lesquels il sera possible d'effectuer facilement des travaux d'installation. Les échelles pliantes en aluminium et les échelles télescopiques seront également utiles, leur portée est désormais assez conséquente. Les travailleurs professionnels préfèrent utiliser des échafaudages et des échelles de fabrication russe. Ils allient prix abordable, haute qualité et durabilité.
Avant de monter des blocs de fenêtre, vous devez les préparer. Sur la face avant, des bandes de montage spéciales doivent être collées dessus: résistant à l'humidité (à l'extérieur du mur) et au vent (à l'intérieur). Avec l'aide de ces matériaux, les ouvertures de fenêtres auront une résistance élevée à l'humidité excessive et aux rafales de vent.
Après vous être assuré que tous ces points sont pris en compte, vous devez commencer l'installation.
Emploi principal. Montage des blocs de fenêtre
Avant de commencer à installer des fenêtres en plastique dans une maison à ossature, vous devez retirer l'unité vitrée elle-même du bloc. Il est nécessaire de retirer le talon du loquet à l'avance.À l'aide d'une perceuse, vous devez percer plusieurs trous autour du périmètre du bloc. Le diamètre du foret doit être choisi en fonction du diamètre de la vis autotaraudeuse. Ensuite, des tampons sont installés, nécessairement d'épaisseur identique, deux pièces sur toute la longueur à partir de quatre extrémités et une pièce dans chaque coin. Il est nécessaire de s'assurer que la distance entre le bloc et l'ouverture est strictement d'un centimètre.


L'étape suivante consiste à évaluer le bloc de fenêtre pour la moindre courbure. Cela se fait en utilisant un niveau de bâtiment ou un filetage régulier avec un plomb. S'il y a une courbure, il est impératif de faire un angle nul en allongeant la garniture du côté souhaité. Il n'est pas recommandé de sauter cette étape, car plus tard dans une structure installée de manière inégale, l'ouverture de la fenêtre s'ouvrira de manière inégale, ce qui entraînera une panne complète de la fenêtre. Si tout va bien, vous pouvez l'installer.
Après cela, nous insérons le bloc dans l'ouverture, le fixons avec des vis autotaraudeuses. Ensuite, une fenêtre à double vitrage est fixée et fixée avec des parcloses. Le vide résultant doit être rempli de mousse de polyuréthane.
Installation directe
Il est interdit d'effectuer des travaux d'installation sur l'installation de fenêtres en PVC tant que la charpente de la maison n'est pas entièrement assemblée et fixée. Et aussi lorsque les travaux de toiture ne sont pas entièrement terminés, ou même si les plafonds interfloor n'ont pas été installés. Les raisons de cette exigence sont évidentes:
- Lors de l'assemblage final du cadre, certains changements géométriques sont possibles. Ils peuvent affecter négativement la qualité de la fenêtre en PVC. Le minimum est la perte d'étanchéité et le maximum est la rupture d'un profil coûteux.
- Si vous installez des fenêtres et continuez des travaux de construction, il existe un risque de dommages mécaniques ordinaires au vitrage ou au cadre lui-même.


En savoir plus sur la mousse de polyuréthane
La mousse de polyuréthane aide à faire mousser le bloc. Une condition préalable à cette action est une fenêtre fermée, car elle rampera hors du châssis de la fenêtre et, à la fin, la fenêtre ne se dessèchera tout simplement pas comme ça et ne permettra pas à la porte de se fermer.
L'appareil peut ne pas avoir de ruban adhésif de protection. Si c'est exactement votre cas, le bloc doit être collé avec du ruban de masquage sur toute la zone à partir de la face avant. Ceci est fait pour que si la mousse sort trop, elle ne se mette pas sur la fixation elle-même. Il est très difficile de nettoyer la mousse séchée de la surface de quelque chose, de sorte que le plan de la fenêtre peut être endommagé.
Attendez que la mousse sèche complètement, puis décollez lentement le ruban de masquage très soigneusement, en prenant soin de ne pas se déchirer. De l'extérieur, le joint séparant le mur de la fenêtre doit être collé avec un ruban spécial. Assurez-vous de connecter ses extrémités entre elles. Tout d'abord, vous devez coller sur la bande inférieure sous la fenêtre, puis remonter. Pour plus de fiabilité, vous pouvez fixer le ruban avec une agrafeuse de construction.
Si toutes les actions sont effectuées correctement, l'humidité ne pénétrera absolument pas par l'ouverture de la fenêtre.
Coussinets de soutien
Les patins de support servent de support au rebord de fenêtre du profilé de support. Ils peuvent être en plastique ou en bois imprégné d'un antiseptique.
Lors de l'installation d'une fenêtre à trois vantaux, assurez-vous qu'il y a un point d'appui de plus que le nombre de vantaux. Deux d'entre eux doivent être situés sous les meneaux verticaux et les deux autres sur les bords du cadre. Pour une fenêtre à deux châssis, il devrait y avoir trois points d'appui, respectivement.
L'installation des cales doit être effectuée de manière à ne pas interrompre le circuit de mousse et à se tenir le long de la fenêtre. S'il y a une partie saillante, elle peut être coupée à la fin de l'installation. Dans tous les cas, les coins ne doivent pas ramper au-delà du contour de la mousse, c'est-à-dire qu'après quelques heures après le moussage, ils ne doivent pas être visibles.Sinon, un soi-disant pont froid apparaîtra à cet endroit.
N'oubliez pas que les cales inférieures doivent rester dans la structure, mais les cales latérales à la fin du travail peuvent être enlevées et les trous résultants peuvent être traversés avec de la mousse de polyuréthane.
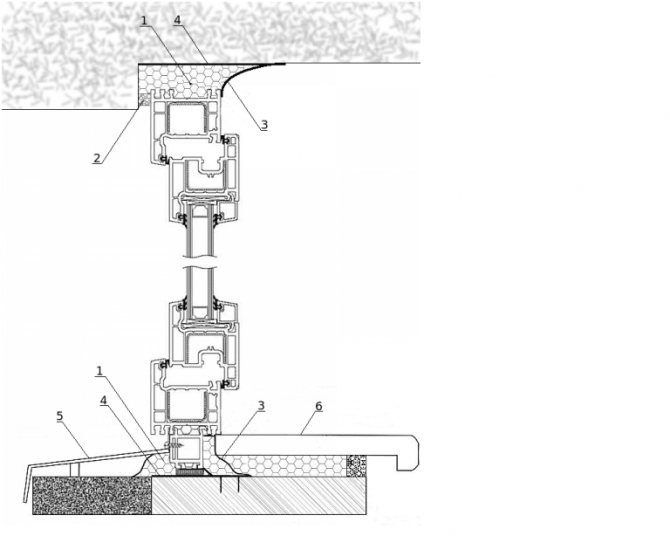
Nous montons le reflux
Pour une raison quelconque, cette étape est ignorée par beaucoup, mais en vain. Cette action prend un peu de temps, est assez simple et garantit une protection maximale de la partie inférieure de l'ouverture de la fenêtre contre l'humidité.
Ces appuis de fenêtre peuvent être trouvés dans les points de vente au détail qui vendent des tuiles métalliques et des éléments supplémentaires. Vous pouvez acheter le reflux dans la taille et la couleur que vous souhaitez. Avant de le fixer, vous devez l'imperméabiliser avec un ruban d'étanchéité auto-adhésif. Une fois la mousse coupée, du ruban adhésif doit être placé dessus, couvrant ainsi l'espace vide séparant la base de la fenêtre et la fenêtre elle-même. La largeur de ruban la plus acceptable est de dix centimètres. Ensuite, vous devez visser le reflux lui-même sur la fenêtre sur un profil de remplacement spécial à l'aide de petites vis autotaraudeuses.


La dernière étape consistera à fixer les plateaux aux fenêtres. Ceci est fait pour que l'endroit que nous avons moussé ne se détériore pas avec le temps (sous l'influence de l'humidité et de la lumière directe du soleil). À cet égard, il est recommandé de fixer les plateaux au plus tard le deuxième jour après l'installation de la fenêtre.
Les paramètres du clypeus sont purement subjectifs. Tout ce qu'il a à faire est de bloquer l'espace disgracieux. Si le système de fenêtres lui-même a déjà un reflux, l'installation d'un second n'est pas nécessaire. Les professionnels recommandent de traiter l'intérieur du boîtier avec un antiseptique, afin que cette surface, qui n'est pas particulièrement adjacente à la paroi, ne soit pas sous l'influence d'infections fongiques.
Des films
Si le mur sur lequel les fenêtres sont installées est recouvert d'une membrane, il doit être plié dans l'ouverture. En conséquence, seuls les coins ne resteront pas fermés. Pour couvrir également cette partie, vous devez couper la membrane en morceaux et la fixer aux coins avec des agrafes et du ruban adhésif.
S'il n'y a pas de membrane sur le mur, il suffit de fixer les bandes de film coupe-vent, il est important qu'elles se superposent et couvrent complètement les coins. En termes simples, le côté doit aller vers le bas et le haut vers le côté.
La couche suivante de film d'étanchéité doit être fixée avec un côté directement sur le profil de la fenêtre et avec l'autre côté sur le contour général du film d'étanchéité à la maison.
Il existe plusieurs façons d'effectuer ces procédures.
- Nous achetons un film d'étanchéité auto-adhésif. Ici, il vous suffit de le coller sur le profil de la fenêtre et sur le film qui est inséré dans l'ouverture du mur.
- Nous achetons du ruban adhésif double face spécialement conçu pour l'installation de fenêtres. Ensuite, nous en collons un côté sur le profil de la fenêtre et de l'autre, nous collons un morceau auto-découpé du film coupe-vent le plus ordinaire. Il ne reste plus qu'à fixer cette pièce à l'ouverture avec le même ruban adhésif.
Quelques conseils à prendre en compte
Lorsque vous commandez un bloc de fenêtre en plastique, vous devez savoir par vous-même si vous avez besoin d'une moustiquaire. L'option la plus appropriée serait toujours de le commander avec le bloc, car, comme dans les maisons de campagne et dans la ville, il y a beaucoup de mouches, de moustiques et d'autres créatures vivantes. Ce problème doit être pris en compte avant de commander l'unité, car plus tard, si vous souhaitez l'acheter, la conception de la fenêtre, qui ne le prévoyait pas, ne permettra tout simplement pas d'effectuer cette installation.
Un autre point est la question de l'économie sur l'installation par les travailleurs professionnels de l'entreprise où la fenêtre a été commandée. Bien sûr, si vous avez une certaine expérience avec un marteau et des vis autotaraudeuses, vous pouvez essayer de l'installer vous-même. Mais ce qui suit doit être pris en compte. Presque toutes les entreprises n'offrent une garantie pour leurs biens que si elles sont installées par leurs propres travailleurs.


De plus, si un problème survient et que le verre se brise en raison de la faute des travailleurs, l'entreprise fournit gratuitement un verre similaire. Cependant, si vous faites cela, personne ne donnera quoi que ce soit gratuitement. Et si votre fenêtre à double vitrage a des dimensions non standard, acheter la même vous coûtera une somme colossale de temps et d'argent.
Faites également attention au réglage correct du châssis de l'unité de fenêtre installée. Si leur position n'est pas ajustée, la fenêtre apparaîtra beaucoup.
Il convient de noter que l'installation de fenêtres en plastique dans une maison à ossature est un processus assez laborieux et difficile pour une personne qui n'a jamais rencontré ce problème auparavant. Ayant une expérience minimale de la "communication" avec des fenêtres en plastique, ainsi qu'un grand désir de tout faire correctement, nous pouvons dire avec confiance que tout est entre vos mains et que rien n'est impossible. Pour obtenir de l'aide, il ne sera pas superflu d'appeler un voisin ou un collègue, c'est à la fois plus amusant et pratique.
Bas de l'ouverture
Séparément, nous devrions parler d'un élément structurel tel que le bas de l'ouverture. Dans le cas où la fenêtre est montée sur des plaques, elles sont alors fixées au cadre à travers le profil de support à l'aide d'une vis autotaraudeuse avec une rondelle de presse et à l'aide d'un foret dont la longueur ne dépasse pas 5 centimètres.
On peut ajouter que pour obtenir le meilleur résultat, il est nécessaire d'installer un ruban EPDM élastique, qui se replie sous le film d'étanchéité à la verticale de l'ouverture. La profondeur du pli est d'environ 15 cm.





























