Les entreprises d'installation de fenêtres en plastique fournissent avec succès des services à la population depuis plus de dix ans. Pendant ce temps, des technologies d'installation standard ont été formées, prévoyant la présence d'un certain espace entre l'unité de verre en plastique et l'ouverture de la fenêtre.
En laissant trop d'espace, le maître réduira le degré d'isolation thermique, réduisant l'efficacité du chauffage et aggravant le microclimat interne. L'absence totale de brèche n'est pas non plus autorisée. Dans tous les cas, une certaine distance entre le cadre et le mur restera. S'il n'y a pas assez d'espace, le plastique se dilatera sous l'influence du froid, ce qui conduira à un cadre biaisé.
Mauvaise taille de fenêtre sélectionnée
Une telle erreur est une conséquence d'une mesure incorrecte de l'ouverture de la fenêtre et de telles fenêtres ne doivent pas être installées du tout: si elles sont trop grandes, la couche d'isolation ne rentrera pas, si elle est trop petite, elles auront l'air disgracieuses. Dans les deux cas, une installation correcte est impossible et avec le temps, le soufflage et la pénétration d'humidité à travers ces fenêtres en plastique commenceront.

Tailles des fenêtres en plastique
Dimensions des fenêtres dans une nouvelle maison
Dans la nouvelle maison, la surface vitrée totale, la taille et l'emplacement des fenêtres sont choisis en fonction des exigences de diverses normes architecturales, de construction et sanitaires - normes et règles d'hygiène.
Le vitrage doit fournir l'éclairage nécessaire de la pièce avec la lumière naturelle, ainsi que l'insolation - l'irradiation des locaux par la lumière du soleil. De plus, l'emplacement, la taille et la forme des fenêtres affectent considérablement l'expressivité architecturale des façades, ainsi que l'intérieur des locaux à l'intérieur de la maison.
Lors du choix de la taille des fenêtres, les caractéristiques de conception des murs de la maison sont également prises en compte. Ainsi, il est plus rapide et plus pratique de construire des murs si les dimensions des ouvertures des fenêtres sont des multiples des dimensions des briques, des blocs ou du bois. Les dimensions de l'ouverture de la fenêtre affectent également la résistance et la stabilité des murs de la maison.
GOST 23166-99 Blocs de fenêtres. Conditions techniques générales " recommande d'utiliser des blocs de fenêtres des dimensions hors tout suivantes:
- Avec une largeur de bloc de 570 mm. la hauteur peut être égale à 580; 860; 1160; 1320 ou 1460 mm.
- Avec une largeur de bloc de 720 mm. la hauteur peut être égale à 580; 860; 1160; 1320; 1460; 1760 ; 2060; 2175 ou 2375 mm.
- Avec une largeur de bloc de 870; 1170; 1320 ou 1470 mm. la hauteur peut être égale à 580; 860; 1160; 1320; 1460; 1760; 2060; 2175; 2375 ou 2755 mm.
- Avec une largeur de bloc de 1770 mm. la hauteur peut être égale à 1160; 1320 ; 1460; 1760; 2060; 2175; 2375 ou 2755 mm.
- Avec une largeur de bloc de 2070; 2370 ou 2670 mm. la hauteur peut être égale à 1160; 1320; 1460; 1760 ou 2060 mm.
De nombreux fabricants de fenêtres en plastique produisent massivement des fenêtres de tailles standard, ainsi que d'autres tailles standard, par exemple pour remplacer les fenêtres dans les bâtiments à plusieurs étages en panneaux. Sur le marché de la construction, dans les hypermarchés de la construction, vous pouvez trouver en vente des fenêtres en plastique prêtes à l'emploi de dimensions standard ou typiques. Les fenêtres standard sont produites en grande quantité sur les lignes de production. Par conséquent, le prix de ces fenêtres en plastique est beaucoup plus basque les fenêtres fabriquées sur mesure.
Lors du choix de la taille des fenêtres, il convient de garder à l'esprit que
avec une augmentation de la surface vitrée:
- Le coût de la construction d'une maison augmente. Le prix de 1 m2 d'une fenêtre est beaucoup plus élevé que le coût de construction d'un mur de la même surface.
- Les pertes de chaleur augmentent, et donc le coût du chauffage et de la climatisation à la maison.
Comme déjà mentionné ci-dessus, il convient de choisir les dimensions hors tout de l'ouverture de la fenêtre en multiples des dimensions des matériaux du mur, en tenant compte de l'épaisseur des joints de maçonnerie. La taille de l'ouverture de la fenêtre est choisie de manière à ce qu'il reste un espace entre le bloc de fenêtre et le mur.
Tailles des ouvertures de fenêtres dans les murs. Autorisations technologiques
Lors de l'installation, il est nécessaire de laisser des espaces technologiques entre le bloc de fenêtre et l'ouverture dans le mur, dont la taille est recommandée par "GOST 30971-2012 Coutures des ensembles de montage pour joindre les blocs de fenêtre aux ouvertures murales. Conditions techniques générales ".
Les autorisations technologiques sont requises:
- Pour le placement des matériaux d'étanchéité du joint d'assemblage en eux.
- Tenir compte des écarts de dimensions, ainsi que des écarts par rapport à la verticale et à l'horizontale du bloc de fenêtre et de l'ouverture dans le mur.
- Pour compenser les changements de température dans la taille du bloc de fenêtre.
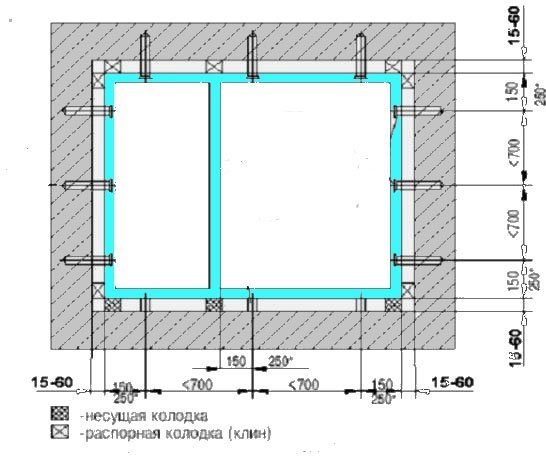
Disposition des écarts technologiques entre l'ouverture de la fenêtre et le bloc de fenêtre en plastique. A gauche, une ouverture sans quart, à droite avec un quart.
Il y a un jeu de montage d'extrémité (latéral) ( une - sur la figure) - l'espace entre l'ouverture murale et la surface d'extrémité de la boîte de fenêtre, et l'espace de montage avant (b) - l'espace entre la surface d'un quart (faux quart) de l'ouverture du mur et la surface avant de la boîte de fenêtre.
Pour une fenêtre en plastique de dimensions inférieures à 2000 mm. il est recommandé de sélectionner la taille de l'espace de montage une, entre 20 et 60 mm. Pour les fenêtres de dimensions hors tout supérieures à 2000 mm. - taille de l'espace de montage une, = 25 à 60 mm. Écart b dans tous les cas = 10 - 20 mm. Lors de l'installation de blocs de fenêtre dans des ouvertures de quart, la course recommandée du bloc de fenêtre pour un quart de la boîte doit être d'au moins 10 mm.
Aux dimensions globales connues de l'unité de fenêtre, ajoutez la taille de l'espace de montage et déterminer la taille de l'ouverture dans le mur pour installer une fenêtre de taille standard... Ou vice versa, l'espace d'installation est soustrait des dimensions de l'ouverture de la fenêtre et recevoir les dimensions hors tout de la fenêtre pour la commande auprès du fabricant.
Nettoyage de surface inadéquat
Cela se produit à la fois lors du remplacement d'anciennes fenêtres par de nouvelles et lors de l'installation de fenêtres en plastique dans de nouveaux bâtiments. Des morceaux de mortier non durci, des débris, de la poussière ou d'anciens résidus de scellant font que la mousse adhère mal au substrat. La pollution absorbe l'humidité et l'eau, qui peuvent ainsi pénétrer à l'intérieur de la maison. Ils peuvent également provoquer des souffles.


Quelle documentation normative est utilisée lors de l'installation de Windows?
Raisons de l'apparition de lacunes
La norme GOST 30971-2002 donne une définition correspondante au concept de «jeu de montage». La loi fédérale n ° 184-FZ «sur la réglementation technique» (27.12.02) place ce GOST et les SNiPs stipulés au niveau des ouvrages de référence de recommandation. Seules les normes directement liées à la garantie de la sécurité lors de l'installation des fenêtres sont acceptées pour la mise en œuvre.
Les entreprises spécialisées dans la pose de blocs de fenêtres en PVC peuvent ne pas se conformer aux dispositions de la norme. Si le client devient trop insistant, il peut alors se voir proposer de payer le double des frais d'installation. Cet environnement n'est pas désespéré.


Schéma de localisation des fixations.
Les GOST sont des lignes directrices obligatoires pour l'exécution si des informations à leur sujet sont indiquées dans le contrat ou le plan. Si une entreprise ne travaille pas sur la base des GOST, elle doit dans tous les cas effectuer l'installation sur la base de tout document réglementaire, qui est accepté comme guide obligatoire par cette entreprise.
Parfois, un client signe un contrat sans l'avoir lu. Les entreprises négligentes ne comptent que sur cela. Si une situation de conflit est survenue en termes de mauvaise installation, le client indigné peut se faire dire qu'il souhaitait lui-même que l'installation des cadres de fenêtres soit effectuée pendant la journée, puisqu'il a donné son consentement à de telles actions de la part de l'organisation .
Nous installons des fenêtres en plastique: conditions pour une installation correcte
Pourquoi les entreprises de fenêtres ont-elles une attitude négative à l'égard des réglementations facultatives mais valides? Cela s'explique par le fait que GOST 30971-2002 prescrit l'utilisation de mousse de polyuréthane comme isolant thermique. L'impact atmosphérique négatif est neutralisé par l'utilisation d'un ruban auto-expansible perméable à la vapeur (PSUL).
Pour répondre à ces exigences établies par la norme, une préparation appropriée de l'ouverture est nécessaire.Il doit être nivelé et toutes les surfaces défectueuses doivent être fixées avec un apprêt. Les travaux préparatoires désignent généralement l'étape des travaux de construction généraux. Par conséquent, les installateurs de fenêtres en plastique n'entreprennent pas ces travaux, mais placent des blocs de fenêtres dans des ouvertures non préparées.
Après l'installation, la forme des distances de montage peut être de mauvaise qualité. Les fentes, c'est-à-dire les interstices, peuvent être de toute forme, y compris sinueuses, avec de grandes dimensions, il n'est donc plus possible de les fermer avec le ruban PSUL. La solution consiste à enduire les joints d'un mortier étanche à la vapeur et aux intempéries fabriqué à l'aide de ciment lors de l'installation en été. En hiver, une composition ciment-polymère à prise rapide est nécessaire.
Une autre option consiste à fermer les joints d'assemblage de l'extérieur avec un ruban perméable à la vapeur qui sert d'isolant à l'eau. Ensuite, l'installation de la bande est effectuée, c'est-à-dire le produit inclus dans l'emballage fourni par les fabricants de fenêtres en PVC. Avant de passer une commande pour l'installation de nouvelles fenêtres en plastique, assurez-vous d'étudier les caractéristiques de l'installation et de la production de fenêtres en plastique.
Le principe d'éliminer l'espace entre l'ouverture de la fenêtre et le bloc de fenêtre en PVC


Exemples de localisation du support et des blocs d'espacement lors de l'installation de fenêtres à profil PVC.
Avant d'éliminer l'espace entre l'ouverture du mur et le cadre de l'unité de fenêtre, il est nécessaire de déterminer de quel matériau le mur est fait. En présence de fenêtres dont la taille est la même et que la taille des ouvertures est augmentée, l'écart est éliminé à l'aide d'entretoises en bois. Ils sont attachés aux coins inférieurs du cadre de la fenêtre, de sorte que la taille des entretoises doit être grande. Après avoir installé les joints, l'écart diminuera jusqu'à 15-30 mm requis.
Il est nécessaire d'effectuer l'installation correcte des blocs de chaque côté du bloc de fenêtre. Les coussinets sont installés du côté opposé à l'autre côté avec les charnières situées dessus dans la partie supérieure. Dans le même temps, les coussinets doivent être installés du côté où se trouvent les charnières en bas. Par conséquent, s'il y a deux volets, alors 4 blocs doivent être installés.
Afin d'éliminer les grands espaces latéraux, placez des entretoises en bois entre l'ouverture de la fenêtre et le cadre avec un espace maximum de 15 mm.
Chacun des éléments en bois du bloc de fenêtre doit être traité avec un antiseptique approprié. L'espace entre le mur et le bloc doit être rempli d'une couche d'étanchéité.
Avec des dimensions hors tout accrues des fenêtres en PVC, démontez l'ancien cadre, puis insérez un nouveau bloc de PVC dans l'ouverture, dont la taille correspond aux dimensions hors tout de l'ouverture.


Valeurs de référence de la capacité portante des chevilles d'expansion de cadre d'un diamètre de 10 mm.
Il est impératif de rappeler qu'avant de commencer l'installation, le mesureur qui s'occupe de l'installation de fenêtres en PVC doit mesurer chacune des fenêtres, ce qu'il convient avec le client, en tenant compte de toutes les nuances. Si le mesureur fait une erreur, l'entreprise en est responsable, elle est donc obligée d'éliminer le mariage. Dans ce cas, il est impossible d'installer des fenêtres en PVC.
Si la taille de l'espace est inférieure à 15 millimètres, cela sera dû à la complication de la procédure d'élimination de l'espace, car le diamètre du bec avec lequel le pistolet de distribution est équipé est de 10 mm. En comblant l'espace, il est possible d'obtenir un niveau de transfert thermique accru grâce à la mousse PU, qui doit passer en couche mince entre la structure et le cadre de la fenêtre. Avec un écart important, la consommation de mousse de polyuréthane augmente, cela vaut également pour la consommation de ruban isolant, qui sera nécessaire en grande quantité.
Les écarts les plus importants doivent être compensés, en se concentrant sur certaines conditions.À cette fin, il est impératif d'utiliser des isolants thermiques en feuille spéciaux, par exemple du polystyrène expansé, des blocs de bois conviennent, il est possible d'utiliser de la maçonnerie ou un profil de système d'expansion. En utilisant une isolation sous la forme d'une feuille, vous pouvez fournir des performances thermiques accrues.
La procédure de soutien juridique pour l'installation de fenêtres en plastique
En concluant un contrat approprié pour l'installation de fenêtres en plastique, vous pouvez vous assurer une sécurité juridique. La spécification des réglementations pertinentes dans le contrat aidera à éviter les violations des règles d'installation. Si un employé de l'entreprise essaie de fournir un contrat type qui n'est pas complet, il doit alors indiquer la nécessité de toutes les réglementations du contrat.
Une attention particulière est portée à l'installation de fenêtres en PVC en hiver. S'ils ont été mal installés, après un certain temps, des flaques d'eau apparaissent sur le rebord de la fenêtre ou de l'humidité apparaît, les pentes sont couvertes de moisissure, les volets ne s'ouvrent plus. Dans ce cas, vous devez immédiatement déposer une plainte auprès du tribunal.


Pénétration et assise minimales recommandées des goujons.
Un soutien efficace peut être fourni par la Société pour la protection des droits de l'acheteur, où une assistance qualifiée peut être obtenue auprès d'un spécialiste indépendant. Cela vous permettra de savoir quelle documentation normative a été utilisée par l'installateur de Windows.
L'acheteur recevra un avis approuvé par un expert indépendant contenant des informations sur toutes les violations qui ont été commises lors de l'installation des fenêtres. Les preuves obtenues seront nécessaires au tribunal, ce qui augmentera les chances de succès. Il sera possible de fixer une fenêtre en PVC à l'ouverture s'il y a une enveloppe de bâtiment.
Pourquoi l'isolation des pentes des fenêtres en PVC est-elle nécessaire?
Si, lors de l'installation de l'unité de fenêtre, la profondeur d'installation d'une boîte de 58 mm est prise en compte, le mur de briques doit avoir une ouverture dont la largeur est de 2,5 briques, soit 610 mm. Il est très important de prendre en compte le gel saisonnier des murs, qui appartient à la zone du joint d'assemblage, en isolant les pentes.
Il est préférable d'exclure les cloisons sèches en tant que matériau d'isolation, car une chambre à air peut apparaître en dessous, où la condensation et l'humidité s'accumulent, ce qui s'infiltre dans la finition des cloisons sèches et la détruit. Il est préférable d'utiliser des pentes en plastique avec des doublures isolantes ou des panneaux sandwich.


Diagramme schématique de la couture d'assemblage.
Si les murs sont en briques, les fenêtres sont généralement installées avec une large boîte dont la taille est de 120 mm. Cela garantira que des températures élevées sont présentes dans les zones où il y a des pentes internes. Il est nécessaire de déplacer l'unité de fenêtre plus profondément vers la pièce, ce qui réduit la niche de la fenêtre et l'air chaud commence à mieux circuler près de la surface de la fenêtre.
Dans le même temps, le joint d'assemblage se dilate, ce qui augmente sa résistance lors du transfert de chaleur. À l'intérieur de la couture, de la mousse de polyuréthane est généralement posée afin d'éviter la formation de condensation.
Mauvaise installation des fenêtres en PVC en termes d'isolation thermique des murs
Cette erreur contribuera à la création de ponts froids à la jonction du mur - cadre de fenêtre. Dans un mur monocouche, la fenêtre doit être située au milieu du mur, dans un mur à trois couches - dans le plan de l'isolation thermique et dans un mur à deux couches - tout au bord dans le voisinage immédiat de l'isolation ou aller au-delà.


Disposition des points de jonction des blocs de fenêtres
Le choix de la solution structurelle des nœuds de la jonction du bloc de fenêtre (porte) à l'ouverture du mur extérieur est effectué au stade du développement de solutions architecturales et de conception, en tenant compte des charges existantes et est confirmé par les calculs correspondants (clause 5.1.3 GOST 30971-2012).
Des exemples de solutions constructives pour les nœuds de jonction des blocs de fenêtres aux ouvertures de mur sont donnés dans l'annexe B GOST 30971-2012 et l'annexe A GOST R 52749-2007 (lors de l'utilisation de PSUL - bandes isolantes auto-expansibles perméables à la vapeur).
Sélectionnons les nœuds de jonction les plus courants des blocs de fenêtres:
Figure B.1 GOST 30971-2012 - Unité de la jonction supérieure (latérale) du bloc de fenêtre à l'ouverture avec un quart dans le mur de briques à l'aide de ruban PSUL sans terminer la pente intérieure. 1 - ruban isolant auto-expansible perméable à la vapeur (PSUL); 2 - isolation en mousse; 3 - plaque d'ancrage; 4 - scellant pare-vapeur


Figure В.2а GOST 30971-2012 - L'unité de la jonction supérieure (latérale) du bloc de fenêtre à l'ouverture avec un quart dans le mur de briques à l'aide d'un scellant perméable à la vapeur avec finition de la pente intérieure avec du mortier de plâtre. 1 - mastic perméable à la vapeur; 2 - cheville de cadre; 3 - bouchon décoratif; 4 - mastic; 5 - isolation en mousse; 6 - scellant pare-vapeur; 7 - mortier de plâtre.


Figure B.5 GOST 30971-2012 - Le nœud de la butée inférieure du bloc de fenêtre à l'ouverture sans quart dans un mur de panneaux de béton monocouche à l'aide d'un ruban pare-vapeur. 2 - doublure insonorisante; 3 - isolation en mousse; 4 - bloc de support; 5 - coin en PVC; 6 - scellant ou ruban pare-vapeur étanche à la vapeur; 7 - barre de support; 8 - Appui de fenêtre en PVC; 9 - mortier de plâtre Figure A.3 GOST R 52749-2007 - Le nœud de la butée latérale du bloc de fenêtre à l'ouverture avec un quart d'un mur de briques en couches avec une isolation efficace et une finition de la pente intérieure avec du mortier de plâtre. 1 - isolation en mousse; 2 - ruban isolant auto-expansible perméable à la vapeur (PSUL); 3 - plaque d'ancrage flexible; 4 - mastic; 5 - ruban pare-vapeur; 6 - couche de plâtre de la pente intérieure (avec un chanfrein pour la couche de scellant); 7 - treillis de renfort; 8 - cheville avec une vis de verrouillage


Figure А.4 GOST R 52749-2007 - Nœud de la butée inférieure du bloc de fenêtre, rebord de fenêtre et drain jusqu'à l'ouverture d'un mur en couches avec une isolation efficace. 1 - panneau de fenêtre; 2 - isolation en mousse; 3 - ruban pare-vapeur; 4 - plaque d'ancrage flexible; 5 - bloc de support pour le rebord de la fenêtre; 6 - mortier de plâtre; 7 - cheville avec une vis de verrouillage; 8 - un insert en bois antiseptique ou une couche de nivellement de mortier de plâtre (recommandé uniquement pour l'unité inférieure); 9 - ruban imperméable à l'eau et perméable à la vapeur; 10 - joint absorbant le bruit; 11 - drain; 12 - ruban isolant auto-expansible perméable à la vapeur (PSUL); 13 - une fine couche de scellant
Exigences pour les blocs de fenêtre en PVC selon GOST
Dimensions standard des ouvertures de fenêtres et de portes selon GOST
Mauvais dépôt d'une fenêtre en plastique dans le mur
Une adhérence excessive du cadre de la fenêtre au caisson ou à la pente rendra impossible la réalisation correcte du joint à ces endroits. Si, en outre, la jonction du cadre de fenêtre en PVC et du mur est enduite, des fissures apparaîtront après un certain temps à cet endroit en raison de la compression et de l'étirement du cadre de la fenêtre en raison de la dilatation thermique du matériau. L'humidité finira par pénétrer à travers les fissures formées, ce qui conduira à l'humidité de la couche d'isolation du mur.
Service de fenêtres gratuit pour la sélection et le calcul des fenêtres en plastique dans toute la Russie |
|
| Acheter une fenêtre en plastique, installation professionnelle | |
C'est également une erreur que la distance entre la fenêtre et la pente soit trop grande. Ceci conduit à des contraintes excessives sur les chevilles ou ancrages, créant un risque de déformation et de déplacement de la fenêtre en plastique sous l'influence de charges externes. La taille maximale de l'espace entre le cadre et l'ouverture doit être de 3 à 4 cm (légèrement plus grande en bas si un profil de rebord de fenêtre est installé). La distance correcte entre le cadre et la garniture est d'environ 1,5 cm.


Procédure d'installation des fenêtres en plastique
Comment la mousse de polyuréthane est-elle utilisée?
Il existe plusieurs types d'installation de fenêtres en PVC. L'installation habituelle implique le retrait de l'ancien cadre de fenêtre par les installateurs et un bloc de fenêtre en plastique est monté dans l'ouverture résultante. Lors de l'installation de fenêtres en plastique, toutes les dimensions des ouvertures peuvent ne pas être prises en compte.


Composants d'une fenêtre en plastique.
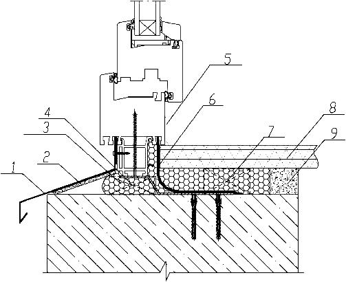
Avant de commencer l'installation de fenêtres en PVC, il est nécessaire de pré-sceller l'ouverture avec du ruban d'étanchéité, en la pressant, sinon le cadre ne sera pas installé uniformément. Ce ruban est perméable à la vapeur, il est imprégné d'une certaine composition, grâce à laquelle le matériau peut rester élastique pendant une longue période.
Lors de l'installation de fenêtres en plastique pendant la saison fraîche, le ruban doit être réchauffé à l'avance avec un sèche-cheveux de construction, jusqu'à ce qu'il soit complètement étiré. Effectuez ensuite l'installation du cadre dans l'ouverture de la fenêtre. Pour cela, des cales d'espacement sont utilisées.
Un ruban d'étanchéité en caoutchouc butyle est renforcé de chaque côté du cadre de la fenêtre. Ensuite, l'espace d'installation est rempli de mousse de polyuréthane de construction. Le respect des règles d'installation des fenêtres en plastique est associé à un contrôle approprié de l'utilisation de la mousse lors de leur installation.
La mousse de polyuréthane doit être protégée avec un ruban étanche, abrégé PSUL, pour empêcher la mousse de sortir. En même temps, le ruban protège contre la lumière du soleil et l'excès d'humidité. Lorsque la mousse durcit, son excès saillant doit être éliminé. Ensuite, l'espace est fini avec un ruban pare-vapeur protecteur du côté de la pièce elle-même, et non de la surface extérieure du cadre.
Comment le cadre du bloc de fenêtre en PVC est-il monté?


Limitez les écarts par rapport aux dimensions hors tout des boîtes de blocs de fenêtre lors de l'installation de blocs de fenêtre à partir de profilés en aluminium et PVC.
Ensuite, vous devez considérer comment la procédure d'installation des fenêtres en plastique est effectuée. Toutes les règles d'installation sont prescrites par GOST 30971-2002, qui prévoit plusieurs étapes. Tout d'abord, une fenêtre en PVC est préparée en perçant des trous qui permettent de fixer des ancrages. Chaque surface latérale doit être collée avec du ruban étanche, qui est appliqué directement sur la surface du cadre, c'est-à-dire à l'extérieur de la fenêtre le long du bord.
Une attention particulière doit être portée à la distance qui se forme entre le cadre et le bord extérieur du mur, sa taille est supérieure à 120 mm. Vérifiez la taille de la largeur de l'espace formé entre le cadre de la fenêtre et le mur, qui doit être de 2 à 4 cm, et la taille de l'espace doit être de 5 à 20 mm.
À l'étape suivante, il est nécessaire d'effectuer des travaux sur l'exposition des éléments du cadre qui sont horizontaux, tout en vérifiant leur position horizontale. Après cela, procédez à une procédure similaire avec des éléments de cadre verticaux.
Pour la fixation des cadres, des plaques d'ancrage et des ancrages sont utilisés. A la fin de l'installation, les cales avec joints sont retirées. Après cela, chaque bloc de support est approfondi dans le mur de 1 à 1,5 cm. Le reflux est installé en le fixant au cadre avec des vis ou au mur à l'aide de chevilles.
Comment éliminer l'espace d'installation lors de l'installation d'un rebord de fenêtre?


Un exemple de l'emplacement des blocs de support (paliers) et des fixations.
Ensuite, un rebord de fenêtre en plastique est installé. Après cela, il est nécessaire d'insérer une fenêtre à double vitrage et d'accrocher chaque châssis. Versez de la mousse de polyuréthane dans l'espace formé, en tenant compte des 2/3 de la profondeur de l'espace. À la fin des travaux d'installation, la structure est ajustée et régulée.
La violation la plus courante de la technologie d'installation de fenêtres en PVC est l'application de plâtre à la surface des pentes externes et internes. Selon les exigences de GOST, une composition spéciale perméable à la vapeur doit être appliquée sur ces pentes.Dans la pratique, les fenêtres en PVC ont des propriétés de consommation, en fonction de la qualité de leur installation, par conséquent, la présence du facteur humain est associée à l'impossibilité d'effectuer des types de travaux importants lors de l'installation de fenêtres en plastique. Il devient clair qu'un grand nombre d'erreurs peuvent être commises lors de l'installation de Windows, ce qui se produit pour deux raisons:
- Le désir des propriétaires d'économiser de l'argent en économisant sur les coûts.
- Faible niveau de qualification des installateurs.
Il convient de garder à l'esprit que des erreurs mineures commises lors du processus d'installation peuvent entraîner de nombreux problèmes lors de l'utilisation de Windows.
Le manuel d'installation, introduit en 2003, est GOST 30971-2002 pour l'installation de fenêtres en PVC. Le document est valide pour le moment, il a été adopté par le Comité d'État de la construction de la Fédération de Russie, il indique non seulement les étapes d'installation, mais également la taille admissible des écarts possibles lors de l'installation de fenêtres en PVC. Toutes les instructions de ce manuel doivent être strictement suivies par tous les installateurs lors de l'exécution des travaux.
Quelles exigences faut-il prendre en compte dans le contrat pour l'installation de fenêtres en plastique?
Dégagements de montage latéraux recommandés.
Lors de l'achat de fenêtres en PVC et de leur demande d'installation, il est nécessaire de conclure un contrat approprié, qui doit inclure des informations sur les exigences d'installation, qui sont contenues dans le manuel de la norme GOST 30971-2002. Conformément au SNiP, toute entreprise engagée dans l'installation de structures de fenêtres en PVC doit disposer d'instructions approuvées par les autorités exécutives locales.
Il est impératif de prévoir l'enregistrement des certificats d'acceptation non seulement pour les structures de fenêtres, mais également pour les ouvertures avant leur installation. L'acheteur peut ne pas connaître toutes les exigences des GOST et des SNiP, les travailleurs professionnels doivent avoir toutes les informations, mais la connaissance des exigences de base qui doivent être respectées pendant le processus d'installation est impérative. Une attention particulière doit être accordée au respect de ces exigences.
Si les exigences ne sont pas remplies et qu'une étude préliminaire appropriée de l'effet du niveau de température n'a pas été réalisée, cela conduira à la fin au fait que de la condensation se formera constamment dans la zone du joint formé lors de l'installation. . La raison en sera la différence de niveau de température à l'extérieur de la pièce et à l'intérieur de celle-ci à la limite du contact des murs, en conséquence, l'humidité entrera inévitablement par les pentes de la fenêtre.


Disposition des fenêtres en PVC.
Les erreurs énumérées ci-dessus lors de l'installation de fenêtres en PVC à l'aide de matériaux perméables à la vapeur et imperméables à l'eau peuvent être évitées, car les propriétés du ruban étanche ne permettront pas les fuites dans la pièce en raison de la condensation. Dans la plupart des cas, une attention particulière est accordée aux coutures d'assemblage, c'est-à-dire à leur exécution. Au cœur du joint d'assemblage se trouve une certaine couche, qui comprend divers matériaux d'isolation utilisés dans le processus de remplissage des espaces.
Le trou de drainage du profilé dans les fenêtres en PVC est obstrué
Cela aide à détruire le cadre et à réduire l'étanchéité des fenêtres en plastique. Cette situation peut survenir lors du remplacement d'anciennes fenêtres par de nouvelles, si le reflux est situé plus haut que le rebord intérieur de la fenêtre. Dans ce cas, des systèmes de profils supplémentaires sont utilisés et les fenêtres sont adaptées à la large bande déjà existante.


Caractéristiques de la mesure d'une fenêtre de balcon
La structure sur laquelle la fenêtre sera installée dans ce cas sera la balustrade du balcon, de sorte que la largeur de la fenêtre sera égale à sa longueur. Étant donné que la combinaison des parties latérales et avant de la structure sera réalisée en installant le profilé d'angle à l'endroit requis, leur largeur doit être soustraite de la longueur de la clôture - ce sera la largeur de la nouvelle fenêtre.


Mesure du balcon
La hauteur du produit est la distance entre le haut de la clôture et la dalle du balcon de l'étage supérieur. Il est nécessaire de soustraire 3 cm de cette valeur pour l'installation du joint d'assemblage.
Absence de rebord de fenêtre
Cela gênera l'étanchéité du joint entre le rebord de fenêtre externe et le cadre de la fenêtre et peut entraîner la pénétration d'eau sous le cadre de la fenêtre et l'humidification du mur, et par la suite même la corrosion des chevilles. La bande de seuil doit être légèrement plus étroite que le cadre afin qu'un appui externe puisse être installé sous le cadre de la fenêtre.


Démonter une vieille fenêtre
Avant de démonter l'ancienne fenêtre, il est conseillé de fermer les portes de la pièce et de recouvrir toutes les choses et les meubles de la pièce avec du papier d'aluminium. Cela est nécessaire pour faciliter le nettoyage de la pièce de la poussière, car il y en aura beaucoup.
Le reste est simple. Le châssis de la fenêtre est retiré. Ils sont faciles à retirer avec un levier. Ensuite, l'ancien cadre de fenêtre est scié et démonté également à l'aide d'un pied de biche ou d'un levier.
Après avoir retiré l'ancien cadre de fenêtre, il est nécessaire de retirer la couche de plâtre autour du périmètre de l'ouverture de la fenêtre.
Si le temps le permet, il est conseillé de coller toutes les fissures et irrégularités dans l'ouverture de la fenêtre. Fondamentalement, cette étape est sautée, car personne ne veut attendre un jour jusqu'à ce que le mastic durcisse. Par conséquent, n'oubliez pas au moins de couvrir l'ouverture de la fenêtre avec un apprêt.


Nous supprimons les châssis de fenêtre.


Démontage de l'ancienne fenêtre.


Démontage de l'ancienne fenêtre.
Remplissage insuffisant des joints avec de la mousse de polyuréthane
C'est le seul matériau isolant qui remplit l'espace entre la fenêtre en plastique et le mur, son absence conduira donc à la formation de ponts thermiques. La mousse de polyuréthane doit être appliquée avec précaution afin que l'espace entre la pente et le cadre soit bien rempli.


Fonctionnalité des coutures d'assemblage
Il est erroné de considérer le joint d'assemblage comme un espace autour du périmètre de la fenêtre, qui doit être scellé avec de la mousse, avec ou sans PSUL (ruban d'étanchéité pré-comprimé), et de le fermer (plateaux, bandes, plâtre, etc. ).


Il s'agit d'une lacune technologique avec des paramètres régulés et un certain nombre de fonctions.
Technologue SPK FORUMHOUSE Participant
Tout est très simple. Le joint d'assemblage isole le mur de la fenêtre. La température du mur sur le lieu d'installation de la fenêtre est inférieure à celle de la fenêtre elle-même et de sorte que le cadre de la fenêtre ne reçoive pas de signe négatif du mur et qu'un joint d'assemblage est nécessaire. Le but le plus important du joint d'assemblage est de séparer deux matériaux avec une conductivité thermique différente.
Le remplissage, qu'il s'agisse de mousse polyuréthane ou autre, assure l'étanchéité:
- protège contre le souffle;
- isole la pièce des influences atmosphériques extérieures;
- empêche la sortie d'air chaud de la pièce.
Et aussi, le bloc de fenêtre est "convivial" avec l'ouverture.
Technologue SPK
… Les lieux les plus capricieux sont les lieux où se rencontrent des matériaux de nature différente. C'est là que la mousse aide, ce qui est mieux que ces matériaux en physique thermique.
Le paramètre le plus important de la couture d'assemblage est la largeur.
membre de vasterFORUMHOUSE
Maison d'un bloc de gaz 400 mm. Quelle marge pour les coutures d'assemblage sur le côté / bas / haut recommandez-vous? J'ai trouvé les options de 10-15 à 30-50 mm. Sur quoi se concentrer? En théorie, plus la couture est petite, plus la fenêtre est grande. Installation de fenêtres dans l'ouverture murale à partir d'un bloc de gaz de 400 mm. Indiquez comment est correct.
Ce n'est certainement pas une option pour enregistrer sur le bloc de fenêtre en augmentant la couture. Les coutures trop larges et très fines sont également indésirables.
Le matériau du profilé et les dimensions de la fenêtre sont pris comme point de référence, car le bois, le métal et le polychlorure de vinyle ont une dilatation linéaire différente et les fluctuations de température dans notre climat sont de dizaines de degrés.
Il existe également une opinion selon laquelle les gabarits d'installation laissent délibérément des espaces délibérément importants afin de niveler les jambages possibles et de simplifier l'installation. En effet, des situations où les «maîtres», pour le moins dire, ne sont pas des professionnels, se produisent.
Membre de FORUMHOUSE
Je ne suis pas un installateur, mais j'ai installé les fenêtres moi-même, et pour cette raison, j'ai dû beaucoup pelleter. La principale raison de l'installation par vous-même est l'incompétence du mesureur arrivé, qui est également un installateur. En communiquant, j'ai réalisé qu'il ne connaissait pas du tout son entreprise. L'homme a exprimé 25 ans d'expérience dans l'installation de fenêtres.À ma question, au détriment de l'amorce - ses yeux "sont tombés". Lorsqu'on lui a demandé quelle méthode de fixation est la meilleure, la réponse était encore plus stupéfaite - "Comme vous le dites, nous allons le réparer." En général, je devais d'abord me plonger dans la théorie moi-même.
Néanmoins, les dimensions du joint d'installation sont réglementées par la norme de l'État, et non par les installateurs.
Spécificité d'installation dans une pièce en bois


- Lors de l'installation de fenêtres, le matériau dans lequel elles sont insérées compte également. Par exemple, un mur en béton ou en brique ne diffère que par la profondeur des ancrages. Alors qu'une cabane en rondins a une approche différente d'elle-même. Ce n'est pas seulement l'installation des packages qui joue un rôle ici, mais aussi l'heure à laquelle vous pouvez les installer.
- Des fenêtres en plastique sont installées, s'il s'agit d'un nouveau bâtiment, uniquement pour l'année prochaine, encore mieux pour la seconde. La maison rétrécira et vous pourrez ensuite procéder à l'installation. Si la maison est faite de bois de placage stratifié, la coupe peut être effectuée plus tôt. Les blocs ne peuvent pas être placés dans l'ouverture, ils sont placés dans une boîte en bois. Cela protégera la structure de la déformation.
- Le travail commence par le traitement de l'ouverture avec des agents antiseptiques. Le retrait continuera après l'installation des blocs et la finition, mais pas aussi activement.
- Il vaut la peine de laisser un espace jusqu'à 7 cm entre le plan de l'ouverture et le cadre, principalement régulé par la teneur en humidité des matériaux utilisés. Une fois l'installation terminée, l'espace doit être rempli d'isolant en jute et recouvert de plateaux des deux côtés.
- Si nous parlons du rebord de la fenêtre, il peut être en bois ou en polymère. Il peut être préparé à l'avance et il n'est pas effrayant que le profil repose sur le rebord de la fenêtre.
- Le bois a la capacité de laisser passer l'évaporation, par conséquent, cela affectera la qualité de la mousse de polyuréthane. Pour éviter que cela ne se produise, il est nécessaire de l'équiper d'un matériau en mousse de polyéthylène recouvert d'une feuille.
GOST dans l'installation
Chaque document spécifie le processus d'installation exact qui prolonge la durée de vie des fenêtres. Ces normes sont pertinentes en Russie. La première étape consiste à tout mesurer par niveau. De plus, le processus devra installer un certain nombre d'ancrages, il y en a 14. Bien que beaucoup puissent penser qu'il y en a trop. Selon les exigences, cela donne une chance pour une longue durée de vie. Trois couches de couture ne sont pas toujours bénéfiques, mais cela vous permet de vous protéger de la vapeur et d'isoler la pièce.
Si le bâtiment est neuf, GOST 30971-2012 deviendra pertinent pour l'exécution. Lorsque le démontage est en cours, une violation de la structure de l'ouverture se produit, qui, selon les règles, a ses propres limites et écarts admissibles. Pour créer des conditions à part entière, du plâtre et du mastic sont utilisés, mais ce sont des coûts et du temps supplémentaires. Même après cela, il est difficile de créer un pare-vapeur complet.
Aujourd'hui, les fenêtres en plastique sont très demandées précisément en raison de la création d'un microclimat confortable. Ils ne sont pas aussi sensibles à la dégradation que ceux en bois. Il existe des règles pour travailler dans des directions différentes. Par conséquent, l'installation de fenêtres en bois conformément à GOST est bénéfique et prolonge leur durée de vie.

















