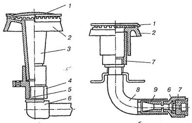
Colonne de gaz Proton-1M
Le nom d'usine de ces modèles est VPG - 1712 - V11 - UHL4.2. L'aspect de l'appareil est illustré à la Fig. 1. Les dimensions (hauteur X largeur X profondeur) sont 719X360X230 mm, poids - 13 kg, productivité - 5 litres d'eau chaude par minute. Le schéma fonctionnel de la colonne de gaz est illustré à la Fig. 2.
Examinons plus en détail le principe de fonctionnement de l'appareil.

L'eau froide d'une conduite d'eau ou d'un puits sous une pression de 2,0 ... 2,5 kg / cm2 de l'entrée 15 entre dans l'échangeur de chaleur 23. Ici, l'eau est chauffée à une température prédéterminée et par la sortie 4 entre dans le système d'alimentation en eau chaude. des locaux. Le gaz naturel provenant du principal par l'entrée 18 entre dans la vanne 19. Le but de la vanne 19 est d'interrompre l'alimentation en gaz en cas de panne d'urgence dans la colonne ou de pression de gaz insuffisante dans la conduite d'entrée. Après avoir passé la vanne, le gaz entre dans le réducteur, ce qui réduit la surpression, puis à travers la vanne 22 - jusqu'au brûleur central 25. Le brûleur central est allumé par la flamme des brûleurs pilotes 7, 20, 21.
Lorsque vous éteignez l'appareil avec le bouton 1 et maintenez-le enfoncé pendant 3 secondes. Le levier 16 ouvre la soupape 19 et la soupape 17. Le gaz entre dans le brûleur à allumage rapide 20. Le bouton 1 contient un dispositif d'allumage piézo connecté à la bougie 5. Au moment de la pression sur le bouton 1, une étincelle est générée entre la broche centrale de la bougie d'allumage. et le corps, allumant le gaz dans les brûleurs 7, 20, 21. Après un court laps de temps (2-3 secondes), une force électromotrice apparaît sur les thermocouples 6, 8, ce qui maintient la vanne 19 ouverte. Lorsqu'on appuie sur le bouton 2 «Ouvrir», le gaz s'écoule à travers le réducteur 24 et la vanne 22 vers le brûleur principal 25. Dans l'état initial, la vanne est fermée et s'ouvre s'il y a un débit d'eau chaude.
La stabilité de la température de l'eau à la sortie de l'appareil est assurée par un détendeur 24 et une soupape 14, qui maintiennent une pression constante de gaz et d'eau, réglés par un régulateur situé sur le panneau avant de l'appareil. Dans le modèle «Proton-1M-1», un thermomètre supplémentaire est installé pour le contrôle visuel de la température de l'eau. L'appareil est éteint en appuyant sur le bouton 3 «Extinction» relié mécaniquement au bouton 1 «Allumage» et au bouton 2 «Ouverture». Après le premier clic, le brûleur principal s'éteint. L'appareil passe en mode veille lorsque seul le brûleur pilote est allumé. Ensuite, après une nouvelle pression, après le deuxième déclic, le brûleur d'allumage est également éteint. Pour transférer le chauffe-eau à gaz du mode veille au mode de fonctionnement, il suffit d'ouvrir le robinet du système d'alimentation en eau chaude. Considérez le fonctionnement du système d'automatisation de la colonne dans diverses situations d'urgence.
Les principales unités d'un chauffe-eau instantané (Fig. 12.3) sont: un brûleur à gaz, un échangeur de chaleur, un système d'automatisation et une sortie de gaz.
Du gaz basse pression est fourni au brûleur d'injection 8
... Les produits de combustion traversent l'échangeur de chaleur et sont évacués dans la cheminée. La chaleur des produits de combustion est transférée à l'eau circulant à travers l'échangeur de chaleur. Un serpentin sert à refroidir la chambre de combustion
10
à travers lequel l'eau circule, en passant par le radiateur.
Les chauffe-eau instantanés à gaz sont équipés de dispositifs de sortie de gaz et d'interrupteurs de traction qui, en cas de perte de tirage à court terme, empêchent la flamme de s'éteindre
dispositif de brûleur à gaz. Il y a un tuyau de fumée pour le raccordement à la cheminée.
Les chauffe-eau à circulation sont conçus pour obtenir de l'eau chaude lorsqu'il n'est pas possible de la fournir de manière centralisée (à partir d'une chaufferie ou d'une installation de chauffage), et sont classés comme dispositifs à action immédiate.
Figure. 12.3. Schéma de principe d'un chauffe-eau instantané:
1 –
réflecteur;
2 –
capuchon supérieur;
3 –
capuchon inférieur;
4 –
chauffe-eau;
5 –
allumeur;
6 –
enveloppe;
7 –
grue de bloc;
8 –
brûleur;
9 –
chambre à feu;
10 –
bobine
Les appareils sont équipés de dispositifs de sortie de gaz et de disjoncteurs de traction, qui empêchent la flamme du dispositif de brûleur à gaz de s'éteindre en cas de brève interruption de la traction. Il y a un tuyau de fumée pour le raccordement au conduit de fumée.
En fonction de la charge thermique nominale, les appareils sont divisés:
- avec une charge thermique nominale de 20934 W;
- avec une charge thermique nominale de 29075 W.
L'industrie domestique produit en série des chauffe-eau domestiques au gaz VPG-20-1-3-P et VPG-23-1-3-P. Les caractéristiques techniques de ces chauffe-eau sont données dans le tableau. 12.2. Actuellement, de nouveaux types de chauffe-eau sont en cours de développement, mais leur conception est proche de celle actuelle.
Tous les éléments principaux de l'appareil sont montés dans un boîtier en émail rectangulaire.
Les parois avant et latérales du boîtier sont amovibles, ce qui crée un accès pratique et facile aux unités internes de l'appareil pour des examens préventifs et des réparations sans retirer l'appareil du mur.
Des dispositifs à gaz à circulation d'eau pour le chauffage de l'eau du type VPG sont utilisés, dont la conception est illustrée à la Fig. 12.4.


Sur la paroi avant du boîtier de l'appareil, il y a un bouton de commande de la vanne de gaz, un bouton pour allumer l'électrovanne et une fenêtre de visualisation pour observer la flamme de la veilleuse et des brûleurs principaux. Au-dessus de l'appareil, il y a un dispositif de sortie de gaz qui sert à évacuer les produits de combustion dans la cheminée, d'en bas il y a des buses pour connecter l'appareil aux réseaux de gaz et d'eau.
| Figure. 12.4. Appareil de chauffage de l'eau à circulation au gaz domestique, type VPG: 1 – gazoduc; 2 – soupape de blocage de gaz; 3 – brûleur pilote; 4 – brûleur principal; 5 – arrivée d'eau; 6 – té de brûleur; 7– échangeur de chaleur; 8 – dispositif de sécurité de traction; 9 – capteur de poussée; 10 – thermocouple; 11 – sortie d'eau chaude; 12 – sortie des gaz résiduaires |
L'appareil comprend les composants suivants: gazoduc 1
, vanne de blocage de gaz
2
, veilleuse
3
, brûleur principal
4
, raccordement eau froide
5
, bloc eau-gaz avec té de brûleur
6
, échangeur de chaleur
7
, dispositif de sécurité de traction automatique avec électrovanne
8
, capteur de poussée
9
, raccordement eau chaude
11
et dispositif de ventilation de gaz
12
.
Le principe de fonctionnement de l'appareil est le suivant. Gaz à travers le tuyau 1
entre dans l'électrovanne, dont le bouton d'activation est situé à droite du bouton d'activation de la vanne de gaz. La vanne d'arrêt de gaz du brûleur à eau et à gaz exécute la séquence forcée de l'allumage du brûleur et de l'alimentation en gaz du brûleur principal. La vanne de gaz est équipée d'une poignée qui tourne de gauche à droite avec une fixation en trois positions. La position extrême gauche correspond à la fermeture de l'alimentation en gaz de la veilleuse et des brûleurs principaux. La position fixe médiane (tourner la poignée vers la droite jusqu'à ce qu'elle s'arrête) correspond à l'ouverture complète de la vanne pour l'alimentation en gaz du brûleur d'allumage lorsque la vanne est fermée sur le brûleur principal. La troisième position fixe, obtenue en appuyant sur la poignée de la vanne dans le sens axial jusqu'à ce qu'elle s'arrête puis en la tournant vers l'extrémité vers la droite, correspond à l'ouverture complète de la vanne d'alimentation en gaz des brûleurs principal et pilote. En plus du blocage manuel de la vanne, il existe deux dispositifs de blocage automatique sur le chemin du gaz vers le brûleur principal. Blocage du flux de gaz vers le brûleur principal
4
avec le fonctionnement obligatoire du brûleur d'allumage
3
fournie par une électrovanne.
Le blocage de l'alimentation en gaz du brûleur, en fonction de la présence d'un écoulement d'eau à travers l'appareil, est réalisé par une vanne entraînée à travers une tige d'une membrane située dans le bloc de brûleur eau-gaz. Lorsque vous appuyez sur le bouton du solénoïde de la vanne et ouvrez la vanne d'arrêt de gaz vers le brûleur d'allumage, le gaz s'écoule à travers l'électrovanne vers la vanne d'arrêt, puis à travers le té à travers la conduite de gaz jusqu'au brûleur d'allumage. Avec un tirage normal dans la cheminée (le vide est d'au moins 2,0 Pa). Le thermocouple, chauffé par la flamme du brûleur pilote, transmet une impulsion à l'électrovanne, qui ouvre automatiquement l'accès du gaz à la vanne d'arrêt. En cas de défaillance du tirage ou de son absence, la plaque bimétallique du capteur de tirage est chauffée par les produits de combustion de gaz sortants, ouvre la buse du capteur de tirage et le gaz entrant dans le brûleur d'allumage pendant le fonctionnement normal de l'appareil quitte la buse du capteur de tirage. La flamme du brûleur pilote s'éteint, le thermocouple est refroidi et l'électrovanne est désactivée (dans les 60 s), c'est-à-dire qu'elle arrête l'alimentation en gaz de l'appareil. Pour assurer un allumage régulier du brûleur principal, un ralentisseur d'allumage est fourni, qui fonctionne lorsque l'eau s'écoule de la cavité au-dessus de la membrane comme un clapet anti-retour, fermant partiellement la section de soupape et ralentissant ainsi le mouvement de la membrane vers le haut, et, par conséquent, l'allumage du brûleur principal.
Tableau 12.2
Caractéristiques techniques des chauffe-eau instantanés au gaz
| Caractéristique | Marque de chauffe-eau | |||
| VPG-T-3-P I | VPG-20-1-3-P I | VPG-231 | VPG-25-1-3-V | |
| Puissance thermique du brûleur principal, kW | 20,93 | 23,26 | 23,26 | 29,075 |
| Consommation nominale de gaz, m3 / h: naturel liquéfié | 2,34-1,81 0,87-0,67 | 2,58-2,12 0,96-0,78 | 2,94 0,87 | pas plus de 2,94 pas plus de 1,19 |
| Efficacité,%, pas moins | ||||
| Consommation d'eau lorsqu'elle est chauffée à 45 ° С, l / min, pas moins | 5,4 | 6,1 | 7,0 | 7,6 |
| Pression d'eau devant l'appareil, MPa: minimum nominal maximum | 0,049 0,150 0,590 | 0,049 0,150 0,590 | 0,060 0,150 0,600 | 0,049 0,150 0,590 |
| Aspirateur de cheminée pour le fonctionnement normal de l'appareil, Pa | ||||
| Dimensions de l'appareil, m: hauteur largeur profondeur | ||||
| Poids de l'appareil, kg, pas plus | 15,5 |
La classe supérieure comprend un appareil de chauffage d'eau à écoulement continu VPG-25-1-3-V (tableau 12.2). Il gère automatiquement tous les processus. Cela garantit: l'accès au gaz au brûleur pilote uniquement s'il y a une flamme et un débit d'eau dessus; arrêt de l'alimentation en gaz des brûleurs principal et pilote en l'absence de vide dans la cheminée; régulation de la pression du gaz (débit); régulation de la consommation d'eau; allumage automatique du brûleur pilote. Les chauffe-eau capacitifs AGV-80 (Fig. 12.5) sont encore largement utilisés, comprenant un réservoir en tôle d'acier, un brûleur avec un allumeur et des dispositifs d'automatisation (une électrovanne avec un thermocouple et un thermostat). Un thermomètre est installé dans la partie supérieure du chauffe-eau pour contrôler la température de l'eau.
Figure. 12.5. Chauffe-eau à gaz automatique AGV-80
1 –
disjoncteur de traction;
2 –
manchon de thermomètre;
3 –
unité d'automatisation de sécurité de traction;
4 –
stabilisateur;
5 –
filtre;
6 –
valve magnétique;
7– —
thermostat;
8 –
robinet de gaz;
9 –
brûleur pilote;
10 –
thermocouple;
11 –
amortisseur;
12 –
diffuseur;
13 –
brûleur principal;
14 –
raccordement d'alimentation en eau froide;
15 –
Char;
16 –
isolation thermique;
17 –
enveloppe;
18 –
tuyau de dérivation, pour la sortie d'eau chaude au câblage de l'appartement;
19 –
soupape de sécurité
L'élément de sécurité est une électrovanne 6
... Gaz entrant dans le corps de la vanne depuis le gazoduc à travers la vanne
8
allumer l'allumeur
9
, chauffe le thermocouple et entre dans le brûleur principal
13
, sur lequel le gaz est enflammé par l'allumeur.
Tableau 12.3
Caractéristiques techniques des chauffe-eau à gaz
avec circuit d'eau
| Caractéristique | Marque de chauffe-eau | |||
| AOGV-6-3-U | AOGV-10-3-U | AOGV-20-3-U | AOGV-20-1-U | |
| Dimensions, mm: diamètre hauteur largeur profondeur | – – | – – | – | – – |
| Surface de la pièce chauffée, m2, pas plus | 80–150 | |||
| Puissance thermique nominale du brûleur principal, W | ||||
| Puissance thermique nominale du brûleur d'allumage, W | ||||
| Température de l'eau à la sortie de l'appareil, ° С | 50–90 | 50–90 | 50–90 | 50–90 |
| Vide minimum dans la cheminée, Pa | ||||
| Température des produits de combustion à la sortie de l'appareil, ° C, pas moins | ||||
| Raccordement du filetage des raccords, pouces: pour l'alimentation et l'évacuation de l'eau pour l'alimentation en gaz | 1 ½ 1 ½ | 1 ½ 1 ½ | ¾ | ¾ |
| Efficacité,%, pas moins |
Le chauffe-eau à gaz automatique AGV-120 est conçu pour l'approvisionnement local en eau chaude et le chauffage de locaux jusqu'à 100 m2. Le chauffe-eau est un réservoir cylindrique vertical d'une capacité de 120 litres, enfermé dans un boîtier en acier. Un brûleur à gaz à injection en fonte à basse pression est installé dans la section du four, auquel un support avec un allumeur est fixé. La combustion du gaz et le maintien d'une certaine température de l'eau sont automatiquement contrôlés.
Le circuit de commande automatique est à deux positions. Les principaux éléments de l'unité d'automatisation de contrôle et de sécurité sont un thermostat à soufflet, un allumeur, un thermocouple et une électrovanne.
Les chauffe-eau à circuit d'eau de type AOGV fonctionnent au gaz naturel, propane, butane et leurs mélanges.
Figure. 12.6. Appareil de chauffage au gaz AOGV-15-1-U:
1
- thermostat;
2
- capteur de poussée;
3
- vanne d'arrêt et de commande;
4
- vanne d'arrêt;
5
- raccordement du brûleur d'allumage;
6
- filtre;
7
- thermomètre;
8
- raccord pour alimentation directe en eau (chaude);
9
- tube de raccordement (commun);
10
- tee;
11
- tube de liaison du capteur de poussée;
12
- conduite d'impulsion du brûleur d'allumage;
13
- soupape de sécurité;
14
- tube de raccordement du capteur d'extinction de flamme;
15
- boulon de montage;
16
- joint en amiante;
17
- orienté vers;
18
- capteur d'extinction de flamme;
19
- collectionneur;
20
- gazoduc
Les appareils de type AOGV, contrairement aux chauffe-eau à accumulation, ne sont utilisés que pour le chauffage.
L'appareil AOGV-15-1-U (Fig.12.6), réalisé sous la forme d'un piédestal rectangulaire avec un revêtement en émail blanc, se compose d'une chaudière à échangeur de chaleur, un conduit de fumée avec un registre de contrôle comme stabilisateur de tirage, un boîtier , un dispositif de brûleur à gaz et une unité de contrôle et de sécurité automatique.
Filtre gaz 6
tombe dans la vanne d'arrêt
4
, à partir de laquelle il y a trois sorties:
1) principal - vers la vanne d'arrêt et de commande 3
;
2) au raccord 5
couvercle supérieur pour l'alimentation en gaz du brûleur d'allumage;
3) au raccord du couvercle inférieur pour l'alimentation en gaz des capteurs de tirage 2
et la flamme s'éteint
18
;


Par la vanne d'arrêt et de contrôle, le gaz entre dans le thermostat 1
et le long du gazoduc
20
au collectionneur
19
, d'où il est alimenté par deux buses dans le confuseur des buses du brûleur, où il est mélangé avec l'air primaire, puis dirigé vers l'espace de combustion.
un B
Figure. 12.7. Brûleurs verticaux (mais
) et réglable à l'horizontale
mélangeur tubulaire (b
):
1
- casquette;
2
- buse d'incendie;
3
- diffuseur;
4
- portail;
5
- mamelon de buse;
6
- corps de buse;
7
- douille filetée;
8
- tube mélangeur;
9
- embout mélangeur
Dysfonctionnements de la colonne de gaz proton
# 1. Le brûleur d'allumage est éteint
Causes possibles: interruption de courte durée de l'alimentation en gaz, extinction de la flamme avec une rafale d'air, dysfonctionnement du thermocouple. En conséquence, le thermocouple 6 cesse de chauffer, la tension à ses sorties diminue à zéro. L'électrovanne 19 est fermée par un ressort et interrompt l'alimentation en gaz de l'appareil. La colonne s'éteint.
# 2. Manque de tirage dans la cheminée
Causes possibles: colmatage de la cheminée, dommages mécaniques. Dans ce cas, la sortie de gaz chaud par la cheminée est fortement réduite. La température du thermostat 26 s'élève au-dessus de 900 ° C et le thermostat s'éteint. Il en résulte que le circuit d'alimentation en tension de la vanne 19 est interrompu et le dispositif est désactivé.
Numéro 3. Manque d'eau dans l'échangeur de chaleur
Une cause possible est une violation de l'étanchéité de l'échangeur de chaleur. La température de l'échangeur de chaleur 23 augmente fortement. À des températures supérieures à 1300C, le fusible 9, situé sur le thermostat, fond. Le circuit d'alimentation en tension de la vanne 19 est interrompu et la colonne est désactivée.
Numéro 4.Interruption à court terme de l'approvisionnement en gaz du principal
Raisons possibles - travaux de réparation sur la conduite principale de gaz. En conséquence, le brûleur d'allumage 7 s'éteint, le thermocouple 6 cesse de générer de la force électromotrice et l'électrovanne 19 interrompt l'alimentation en gaz. Lors de la reprise de l'alimentation, le gaz ne pourra pas pénétrer dans le dispositif, puisque la vanne 19 est fermée. Pour reprendre le travail, vous devez réactiver la colonne. Cela se fait de la manière habituelle.
N ° 5. Interruption de l'alimentation en eau ou chute de pression inférieure à 25 kPa (0,25 kg / cm2)
Une diminution de la pression dans le système d'approvisionnement en eau de la ville se produit principalement chez les consommateurs vivant aux étages supérieurs des immeubles de grande hauteur pendant les heures de prise d'eau maximale. Pour une maison de campagne, il y a des raisons possibles: une diminution du débit (productivité) d'un puits, un dysfonctionnement d'une station d'alimentation en eau. Pour éviter un accident, l'appareil dispose d'un dispositif appelé «unité d'eau». L'appareil fonctionne comme suit. Lorsque l'eau est coupée, la pression dans les cavités A et B est égalisée. La membrane 27 se déplace vers la droite et la vanne 22 coupe l'alimentation en gaz du brûleur principal. La colonne passe en mode veille.
Afin d'assurer la fiabilité du chauffe-eau à gaz, les éléments du circuit d'automatisation sont complétés par des pièces produites par des sociétés étrangères bien connues, par exemple, le thermostat est fabriqué par la société anglaise Elmwood Sensor, et l'électrovanne et le thermocouple sont fabriqués par la société tchèque Mora Moravia. Pour se protéger contre la pénétration de corps étrangers, des filtres sont installés aux entrées de gaz et d'eau. Le fait que Proton - 1M soit le gagnant du concours «100 meilleurs produits de Russie» témoigne également de la fiabilité et de la qualité de l 'appareil.
Colonne de gaz "Proton - 3 / 3-1"
Le nom d'usine de ces modèles est "VPG-17 12-V11-UHL 4.2". Ils ont une puissance de 17 kW, des dimensions hors tout 809 X 360 X 250 mm, un poids - 15 kg et une productivité - 5 litres d'eau chaude par minute. Le schéma fonctionnel de l'appareil est illustré sur la figure.
Considérons le principe de fonctionnement de l'appareil Proton - 3 / 3-1.
Pour allumer la colonne de gaz, appuyez à fond sur le bouton 3 de l'électrovanne. Tout en maintenant le bouton 3 enfoncé, le bouton 1 de l'allumage piézoélectrique est enfoncé. Le gaz de la conduite passe à travers la vanne 5, le filtre 23 et entre dans le brûleur d'allumage 18. L'étincelle sur la bougie d'allumage 17 enflamme le gaz. Après cela, le bouton 1 est relâché. Maintenez le bouton 3 enfoncé (pendant environ 30 secondes). Pendant ce temps, le thermocouple 16 s'échauffe, à sa sortie apparaît une force électromotrice qui maintient l'électrovanne 6 ouverte. Le bouton 3 peut maintenant être omis. Radiateur. Le gaz ne commencera à s'écouler vers le brûleur principal 19 qu'après l'ouverture du robinet d'eau chaude du système. Cela ouvrira les vannes 9, 10 et le brûleur s'allumera. L'appareil dispose d'un réducteur d'eau 13, qui vous permet de maintenir une température d'eau d'entrée constante lorsque la pression dans l'alimentation en eau change. L'appareil dispose d'un thermomètre pour contrôler la température de l'eau chaude. Sur le panneau avant de la colonne, il y a des boutons pour régler l'alimentation en gaz du brûleur principal et le débit d'eau. Le fonctionnement du système d 'automatisation en cas de situation d' urgence (similaire à celle évoquée précédemment dans l 'appareil «Proton - 1 M»).
Inconvénients de la colonne de gaz "Proton - 3/3 - 1" par rapport à "Proton - 1M":
- en raison de l'absence d'un thermocouple supplémentaire, le temps de mise sous tension de la colonne est passé de 3 à 30 s;
- en raison de l'absence de réducteur de gaz, le changement de pression de gaz dans la ligne d'entrée n'est pas surveillé, ce qui conduit à une augmentation de l'instabilité de la température de l'eau chaude;
- résistance mécanique insuffisante du bouton d'activation de l'électrovanne.
Les avantages de "Proton - 3 / 3-1" incluent un prix inférieur avec un haut degré de fiabilité du circuit d'automatisation.
Mèche
La mèche a deux fonctions principales - allumage automatique de la colonne lorsque l'eau est fournie et chauffage constant du thermoélément de la soupape de sécurité. Si la mèche s'éteint ou si sa flamme est faible et instable, le thermoélément se refroidit ou ne se réchauffe pas suffisamment et la vanne éteint la colonne.C'est la faible flamme de la mèche qui est la plus fréquente la raison de l'arrêt spontané de la colonne de gaz
! Le plus souvent, cela se produit pendant le fonctionnement de la colonne (par exemple, lorsque vous êtes dans la salle de bain et que vous prenez une douche :)). Il existe plusieurs raisons. D'abord, peut-être
obstruer le raccord
- c'est le plus simple. Deuxièmement, il arrive souvent que
prise de pression de gaz
au niveau de la mèche du brûleur principal, pendant que la colonne fonctionne, la flamme de la mèche est beaucoup plus petite. Le thermoélément, qui est chauffé par cette mèche, se refroidit progressivement et la colonne s'éteint. C'est plus difficile à gérer. À la suite d'une série de longues expériences, je suis arrivé aux améliorations suivantes:
- Modification de la conception du boîtier du guide de mèche - allongé (voir l'image).
- J'ai été obligé d'augmenter le diamètre du trou d'étranglement. Malheureusement, cela augmente la consommation de gaz en mode veille, mais je n'ai pas pu trouver d'autre issue. Le raccord peut être percé et lorsque la force brute est pressée avec une pince. Dans tous les cas, cela vaut la peine de s'en approvisionner.
- J'ai mis un ressort en tungstène sur le thermoélément, ce qui l'a allongé et augmenté le chauffage, réduisant la dépendance à la forme et à la direction de la flamme de la mèche.
D'ailleurs, même lorsque le raccord est nettoyé (par soufflage, de préférence avec trempage préalable dans kérosène / essence / acétone), après torsion, des taches y tombent souvent et la flamme de la mèche recommence à jouer (parfois plus, parfois moins ). Parfois, il suffit de souffler à nouveau à l'endroit de son attachement, parfois de le frapper légèrement. Si cela ne résout pas le problème, dévissez et soufflez à nouveau (y compris la place à visser).
Colonnes de gaz "Proton-2 / 2-1"
Le nom d'usine de ces modèles est "VPG 17 12-V11UHL 4.2". Ils ont une puissance de 17 kW, dimensions hors tout 809 X 360 X 250 mm, poids - 15 kg, productivité - 5 litres d'eau chaude par minute.
Le schéma fonctionnel est illustré sur la figure.
Ce sont des modèles budgétaires. Par rapport aux appareils précédents, ils ont une conception plus simple et une unité gaz-eau de production domestique. En raison de l'absence de réducteurs d'eau et de gaz dans le circuit, la température de l'eau chauffée change en fonction de la pression de l'eau et du gaz dans les conduites d'alimentation. Un thermomètre à eau chaude n'est pas fourni. Sur le panneau avant de l'appareil, il y a un bouton d'allumage piézo-électrique 1 et un bouton de réglage d'alimentation en gaz pour le brûleur principal. Pour allumer la colonne de gaz, le bouton de réglage de l'alimentation en gaz est déplacé de la position extrême gauche au secteur d'allumage. Le robinet d'eau chaude du système doit être fermé. Appuyez à fond sur le bouton 1. L'allumage piézo du brûleur pilote a lieu. La flamme du brûleur est clairement visible à travers la découpe sur le panneau avant. Après un court laps de temps (environ 20 secondes) nécessaire au réchauffement du thermocouple, le bouton est relâché.
J'ouvre le robinet d'eau chaude. Le brûleur central s'allume alors. Réglez le thermocouple à eau souhaité avec le bouton d'alimentation en gaz. «Proton 2 / 2-1» fait référence à des dispositifs capables de fonctionner à une pression d'eau réduite (à partir de 4 kPa). Ceci est particulièrement important s'il n'y a pas d'approvisionnement en eau centralisé. La valeur de la pression minimale est réglée à l'aide de la vis de réglage située sur le boîtier du réducteur d'eau. Il est à noter qu'en raison de la conception simplifiée de l'appareil et de l'absence de dispositifs de verrouillage supplémentaires dans le circuit d'automatisation, il est nécessaire de suivre strictement les règles de fonctionnement de la colonne de gaz.
Il est strictement interdit d'allumer la colonne dans le secteur du brûleur principal lorsque le robinet d'eau chaude est ouvert! Dans ce cas, une grande quantité de gaz de la ligne principale peut s'accumuler dans l'appareil et une explosion est possible lorsque l'allumage piézo est activé.
Si vous sentez du gaz dans la pièce, éteignez la colonne et fermez le robinet de gaz installé sur le gazoduc devant l'appareil. N'effectuez pas d'actions pouvant entraîner la formation d'étincelles: n'allumez pas de feu, n'allumez pas les appareils électriques et l'éclairage, ne fumez pas. Il est nécessaire de ventiler la pièce.Cette précaution est nécessaire! Un mélange de gaz et d'air forme un mélange explosif qui peut exploser à la moindre étincelle. L'emplacement de la fuite de gaz est déterminé à l'aide d'une solution savonneuse.
La vérification avec une allumette allumée est interdite! La cause la plus fréquente de dysfonctionnements des colonnes de gaz listées ci-dessus est une fuite dans le robinet à boisseau à l'entrée de la colonne. Au fil du temps, le lubrifiant à l'intérieur du robinet sèche et l'étanchéité est rompue. Pour éliminer le dysfonctionnement, fermez l'alimentation en gaz de la conduite principale et démontez la vanne. L'ancienne graisse est éliminée avec du kérosène ou un autre solvant.
S'il y a des rayures profondes lors de la réparation du chauffe-eau à gaz, broyer le cône du robinet avec du papier de verre fin. Ensuite, le cône est abondamment lubrifié avec une graisse épaisse, inséré dans le corps de la vanne et serré l'écrou. Pour le rodage, tournez le robinet en rond plusieurs fois. Dans les vannes à bille, le défaut est beaucoup moins fréquent. Les fuites au niveau du joint de tuyau sont éliminées par un serrage supplémentaire des raccords et des écrous.
Vue d'ensemble des enceintes Tula
"Proton-1M"
Désignation de production VPG-1712-V11-UHL 4.2. Dimensions - 71,9x36x23 cm (hauteur / largeur / profondeur). L'appareil pèse un peu - 13,5 kg. De l'eau chauffée est distribuée à un débit de 5 l / min.
«Proton 2»
17 kW. 15 kg - poids. Les caractéristiques techniques sont les mêmes que dans la version précédente. Ils différaient par leur moindre coût. La réduction de prix a été obtenue en simplifiant la conception de l'unité gaz-eau. Il n'y a pas de réducteurs - il n'y a donc pas de stabilité des paramètres. Un thermomètre n'est pas non plus fourni. Sur la façade - un levier d'allumage piézo-poussoir à bouton-poussoir et un régulateur mécanique.
L'appareil peut fonctionner à basse pression dans les conduites d'eau - ce fait est important pour les consommateurs sans alimentation en eau centralisée. Le minimum est réglé avec une vis de réglage située directement sur le réducteur d'eau.
La simplicité constructive et l'absence de bloqueurs est un fait qui oblige les utilisateurs à suivre les instructions des instructions aussi précisément que possible. Il est strictement interdit d'allumer le brûleur principal si les robinets ECS sont ouverts. Cette situation provoque l'accumulation de carburant dans la colonne - si vous allumez ensuite l'allumage piézo, il peut exploser.


«Proton 3»
Leur puissance est de 17 kW. Ils pèsent 15 kg et chauffent 5 litres d'eau par minute. Les schémas fonctionnels et électriques et les systèmes de protection sont similaires aux modèles précédents. Mais par rapport à la modification 1M, le troisième modèle présente plusieurs inconvénients:
- La tenue du levier à bouton-poussoir a décuplé - vous devez le maintenir pendant une demi-minute.
- Il n'y a pas de réducteur de gaz - il est impossible de suivre l'évolution de la pression dans le gazoduc. Il en résulte qu'il n'est pas possible de stabiliser le chauffage dans l'alimentation en eau chaude, il est difficile pour les propriétaires d'une telle colonne de se laver confortablement.
- Les leviers à bouton-poussoir ne sont pas assez solides et ont tendance à se casser.
De plus - un prix bas avec une protection automatique assez fiable.

