Design de maison
Retour à
Publié le: 06.02.2020
0
15
- 1 En quoi consiste un robinet de salle de bain?
- 2 Combien coûte l'installation d'un mélangeur?
- 3 critères pour choisir un robinet de salle de bain
- 4 Installation d'une grue coûteuse
- 5 Démontage de l'ancien mélangeur
- 6 méthodes pour installer un robinet dans une salle de bain
- 7 astuces d'installation
- 8 Installation d'un mitigeur de bain mural
- 9 Schéma d'installation et de raccordement
- 10 nuances d'installation
- 11 Outils nécessaires
- 12 Travaux préparatoires
- 13 Détails d'installation
- 14 Quelques conseils utiles
En quoi consiste un robinet de salle de bain?
Avant de démonter et d'installer le mélangeur dans la salle de bain, vous devez déterminer à quoi il ressemble et de quelles pièces il se compose. De plus, savoir comment il est doté peut aider à éviter les vendeurs peu scrupuleux. Les articles sanitaires emballés se composent des éléments suivants:
- Logement. Son schéma standard est le suivant: deux buses pour l'alimentation en eau chaude et froide, deux prises et un bec;
- Tuyau de douche. C'est la partie du système qui relie le corps du mitigeur à la pomme de douche. Étant donné que cette partie est la plus souvent en panne, il n'est pas recommandé d'enregistrer dessus.
Avant d'installer le robinet dans la salle de bain, voyons quels types de tuyaux de douche existent, car leur choix est énorme: des produits en plastique avec un emballage métallique, aux modèles avancés avec protection anti-torsion et une couche de silicone sur une tresse métallique.
- Pomme de douche (également appelée pomme de douche). Pommes de douche des plus simples avec deux ou trois modes standard, à une demi-douzaine de fonctions pour créer un doux aéré, massage ou jet stream, mode "économie" et bien d'autres options de douche agréables.
- Excentrique. Ce type d'adaptateur de douche est allongé, arrondi, avec un bord attaché au mélangeur et l'autre au tuyau. La longueur et la taille des excentriques sont individuelles pour chaque modèle.
- Un regard appelé un bec ou une boucle. Les modèles de Gander les plus courants sont en forme de J, C et L.
- Nuances décoratives.
- Joints en caoutchouc ou en silicone.
Les nuances de l'installation d'un mélangeur dans la salle de bain avec vos propres mains vidéo
Cependant, la vérification de l'équipement ne suffit pas toujours, car pour être complètement sûr qu'il n'y a pas de défaut dans le produit acheté, il est nécessaire de s'assurer que les filetages des excentriques et des écrous de fixation sont intacts. Les instructions d'assemblage sont incluses avec la plomberie. L'assemblage et le démontage sont assez simples, vous pouvez vous en assurer en regardant la leçon vidéo d'assemblage.
Comment installer un mitigeur dans la salle de bain?
L'installation à faire soi-même d'un robinet dans la salle de bain commence par l'acquisition d'une nouvelle plomberie. Les robinets de salle de bain peuvent varier en longueur du col de cygne, la présence ou l'absence d'une pomme de douche, le mécanisme d'ouverture (mitigeurs à levier ou classique) et bien d'autres caractéristiques. La question de savoir quelle grue choisir, il vaut mieux d'abord clarifier avec un spécialiste ou demander conseil au vendeur - il conseillera le meilleur fabricant et vous aidera à choisir un modèle pour le budget.
- installation ouverte;
- installation dissimulée.
Le premier type de mélangeurs est recommandé pour les plombiers débutants. Il est beaucoup plus facile de monter un tel robinet sur le mur en raison du fait que le raccordement à l'alimentation en eau ne nécessite pas d'opérations supplémentaires pour la fente du mur ou des calculs complexes lors de l'installation des tuyaux d'alimentation.

Installer vous-même un mitigeur encastré dans la salle de bain est plus difficile, mais également possible.Le principal problème lorsque l'on travaille avec de telles grues est qu'il est plus difficile pour le capitaine d'accéder aux communications.
En fin de compte, la manière de connecter le mélangeur - en cachant les tuyaux ou non - est décidée par les propriétaires en fonction de leurs propres préférences. L'essentiel est d'évaluer correctement vos compétences en plomberie et de ne pas assumer des tâches accablantes.
Combien coûte l'installation d'un mélangeur?
Premièrement, il existe différents mitigeurs: pour installation dissimulée, installation ouverte, avec leviers, vannes, thermostatiques, sans contact. Lors de l'installation d'un mitigeur dans la salle de bain, il est nécessaire de prendre en compte toutes les nuances de l'équipement et la tuyauterie d'origine dans la salle de bain.
Les maisons anciennes et nouvelles diffèrent les unes des autres: différents systèmes d'approvisionnement en eau, différents tuyaux, différentes conditions du système d'égouts. Nos spécialistes desservent des dizaines de maisons dans différents quartiers de Moscou et connaissent bien les particularités de Khrouchtchev, les nouveaux bâtiments, les bâtiments de l'époque stalinienne.
Le coût d'installation d'un mélangeur dans la salle de bain dépend du type de baignoire, du type de mélangeur, de la disponibilité des communications fournies, du besoin d'équipement supplémentaire. Appelez nos spécialistes et décrivez brièvement la tâche, puis nous pouvons nommer le coût approximatif du service.


Pour déterminer le coût d'installation d'un robinet dans une salle de bain, un plombier doit savoir:
- type de mélangeur;
- type de montage (caché sur le mur, à bord, caché sur le rack);
- vos projets (rénovation en cours, rénovation complète, rénovation dans un immeuble neuf);
- marque de mélangeur.
Le capitaine sera en mesure de donner l'évaluation la plus précise et la plus objective du coût après avoir déterminé la portée des travaux.
Critères de choix d'un robinet de salle de bain
Comment installer un robinet sur le mur, quelles sont les méthodes les plus courantes? Premièrement, il s'agit du remplacement de l'ancien, et deuxièmement, de l'installation lors de la réparation.
Afin de remplacer l'ancienne plomberie par une nouvelle, vous devez tout d'abord choisir la bonne. Ce n'est pas difficile à faire, car l'assortiment actuel de produits proposés par les magasins de plomberie permet, compte tenu des possibilités financières, de choisir un mélangeur, à la fois national et étranger. Voici les caractéristiques à surveiller lors de l'achat:
- Poids. Même si vous n'êtes pas un expert et que vous n'êtes pas en mesure de distinguer l'acier inoxydable du laiton, la qualité d'un produit peut être déterminée par sa masse. Un produit trop léger indique sa faible épaisseur et la fragilité de l'appareil.
- Métal. Si le consultant du magasin propose un choix de modèles de mélangeurs en silumine et en laiton, privilégiez le second. Le silumin n'est pas très durable, sa composition est un alliage de silicium avec de l'aluminium, les produits fabriqués à partir de celui-ci ont un poids minimum et peuvent se déformer lors de l'installation.
De nombreux artisans novices font l'erreur standard en choisissant des produits en raison de leur prix bas. La ténacité la plus élevée de l'alliage est possédée par les modèles en laiton, qui ne permettent pas à l'écrou de serrage d'éclater avec de légères déformations et installation. De plus, les luminaires en laiton sont moins sensibles à la corrosion.
- Dimensions. Cette caractéristique ne concerne pas tant la taille du mitigeur que sa correspondance avec le lieu d'installation au mur de la salle de bain. Dans le cas d'une sélection incorrecte d'un modèle (excessivement long ou court, massif ou, au contraire, une grue miniature et autres incohérences) ou ne correspond pas au site d'installation, cela peut non seulement paraître ridicule, mais aussi échouer rapidement.
Choisir un robinet de salle de bain
La nécessité d'installer ou de remplacer un mélangeur peut survenir pour un certain nombre de raisons - par exemple, lors d'une révision majeure d'une pièce, à la suite d'une panne d'un ancien robinet, ou, si vous le souhaitez, simplement le changer en installant un autre. maquette. Dans tous les cas, si l'affaire ne concerne pas une rénovation complète de la pièce, qui nécessite toute une série de travaux de réparation et de finition, l'installation du mélangeur sera une tâche assez simple.
La première étape consiste à acheter un nouveau mélangeur.La différence entre le mitigeur et les robinets traditionnels est qu'il n'est pas nécessaire de tirer des conclusions distinctes de l'approvisionnement en eau froide et chaude. Outre la commodité, les robinets se distinguent également par de bonnes qualités visuelles - il vous suffit de choisir le modèle qui convient le mieux au style de la pièce.


Dans les magasins de plomberie, vous pouvez trouver de nombreux modèles de robinets dans la plus large gamme de prix, et le processus de sélection est en grande partie compliqué par cette variété. Pour restreindre la gamme des recherches, vous devez décider exactement quelles exigences sont imposées à un modèle particulier et vous en inspirer lors du choix.
Selon la méthode d'installation, il existe trois principaux types de mélangeurs:
- Horizontal, qui sont montés sur des surfaces horizontales;
- Vertical, situé dans un plan vertical;
- Encastré, qui sont installés directement dans le mur.
Les robinets horizontaux sont généralement montés sur le bord d'une baignoire ou d'un évier. Les produits verticaux sont fixés directement au mur au point de sortie des tuyaux. Les mélangeurs intégrés ne se trouvent pratiquement pas dans la construction privée en raison de la complexité de l'installation et de l'impraticabilité, il est donc pratiquement inutile de les considérer.


Pour les salles de bain, vous devez généralement choisir au moins deux robinets, dont l'un sera situé dans la baignoire / douche et l'autre sur le lavabo. Lors du choix, vous devez prendre en compte les caractéristiques de la pièce. Si une révision majeure n'est pas prévue, il est préférable de prendre le même modèle qui a été installé auparavant - il sera plus facile de l'installer au même endroit.
La conception des mélangeurs peut différer en fonction de la distinction entre les types d'appareils suivants:
- Deux soupapes;
- Levier;
- Thermostats;
- Sans contact.
La première option est la plus populaire parmi les utilisateurs. La conception d'un mélangeur à deux vannes comprend deux vannes, dont l'une est conçue pour réguler le débit d'eau chaude et l'autre est responsable de l'eau froide. De plus, la conception prévoit la présence de joints, qui peuvent être en caoutchouc ou en céramique.
Installation d'une grue coûteuse
Pour installer correctement le mitigeur dans la salle de bain, vous devez comprendre la conception des produits de différents fabricants et connaître les subtilités de l'installation de robinets d'une marque particulière. Surtout si vous avez choisi une bonne option européenne - beaucoup d'entre eux sont désormais équipés d'un système d'économie d'eau.
Une installation incorrecte réduira à zéro tous les avantages d'un achat coûteux. Avec une installation incorrecte, vous pouvez pincer les joints en caoutchouc, isoler mal les joints de tuyaux et assembler la vanne de manière incorrecte. L'installation professionnelle d'un robinet dans la salle de bain prolongera sa durée de vie.
Démontage de l'ancien mélangeur


Retirer un vieux robinet dans une salle de bain est une tâche assez simple. Pour ce faire, vous aurez besoin de pinces et de clés - à gaz et réglables. Le démontage s'effectue en plusieurs étapes:
- Coupez l'eau fournie à la fois par la conduite principale et par la chaudière électrique ou le chauffe-eau à gaz;
- Vidangez l'eau restante dans le système;
- Retirez le robinet du mur. Faites-le très soigneusement, en prenant soin de ne pas casser le filetage du raccord dans le mur;
- Nettoyez les filets sur les tuyaux en plastique renforcé dans le mur de l'enroulement.
Méthodes d'installation d'un robinet dans une salle de bain
Il existe plusieurs options pour installer la grue:
- installation cachée sur le mur - la grue est placée sur le mur, les tuyaux sont recouverts de carreaux ou de plaques de plâtre;
- montage mural avec un rack spécial;
- installation d'un robinet sur une baignoire.
L'installation dissimulée est plus difficile à faire, car il est plus difficile pour un plombier d'accéder aux communications. Si vous disposez de suffisamment d'espace libre dans la salle de bain, vous pouvez créer un support séparé, connecter le mélangeur et fermer les communications avec des carreaux de céramique.
Astuces d'installation
Comment installer un mélangeur dans la salle de bain si les tuyaux sur le mur sont tordus vidéo
- Il n'est pas difficile d'utiliser le câble correctement, pour ce faire, enroulez-le étroitement autour du fil dans le sens de la torsion. Veillez à ne pas tordre le câble en faisceaux.
- Lors de l'installation de la plomberie avec des conduites d'eau, vous devrez marquer la hauteur. Il est de 15 à 20 cm au-dessus du haut de la baignoire.
Nous vous suggérons de vous familiariser avec Comment choisir le bon dentifrice par bandes
Comment installer correctement le mélangeur dans la salle de bain sur le mur, ce qui ne nécessite pas d'appel au maître et des coûts financiers. En plus d'une expérience inestimable, ce processus vous aidera à grandir à vos propres yeux. N'oubliez pas: si vous voulez faire quelque chose de haute qualité, faites-le vous-même!
Installer un robinet de salle de bain mural
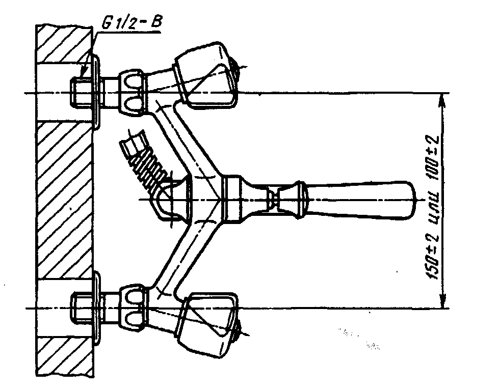
La hauteur au-dessus du niveau du bain doit être inférieure à 30 cm, choisie en tenant compte de la taille du mélangeur et des préférences du propriétaire. La distance standard entre les centres de deux ferrures est de 150 mm, les excentriques permettent de corriger les erreurs dans le sens horizontal et vertical jusqu'à 5 mm.
Extrait de GOST 25809-96
Mitigeur baignoire monocommande avec raccords séparés, mural avec filet de douche sur tuyau flexible, bec avec mousseur
Mélangeur pour baignoire et lavabo, à deux poignées avec entrées dans des trous séparés, fixé au mur avec un filet de douche sur un tuyau flexible
Travailler avec du ruban adhésif
Par exemple, envisagez d'installer un mélangeur sur un nouveau mur. Les canalisations ont déjà été installées, plâtrées et carrelées.
Étape 1. Étudiez les instructions du fabricant du mélangeur, vérifiez son exhaustivité et la présence de tous les joints en caoutchouc. Les sorties de tuyau doivent avoir un filetage interne.
Mitigeur mural monocommande
Si ce n'est pas le cas, plusieurs problèmes se posent.
- D'abord. Nous devrons acheter et visser des accouplements. Ce sont des emplois supplémentaires et de nouveaux endroits où une fuite peut apparaître.
- Deuxième. Le mélangeur s'éloignera du mur, ne s'ajustera pas parfaitement contre celui-ci, les raccords seront visibles. Il s'agit d'un défaut esthétique majeur.
- La troisième. En raison de l'augmentation de la longueur des raccords filetés, le risque de fissuration augmente. L'épaule augmente, en raison de laquelle la contrainte mécanique augmente.
Étape 2. Nettoyez les tuyaux des matières résiduelles. Pour ce faire, il est préférable d'ouvrir les robinets des tuyaux avec de l'eau chaude et froide pendant quelques secondes. Une forte pression éliminera toute la saleté. Une telle opération est beaucoup plus facile à faire tout de suite que de démonter le mélangeur ultérieurement en cas de colmatage.
Tuyaux préparés pour l'installation du mélangeur
Étape 3. Retirez deux excentriques. D'une part, ils ont un filetage ø1 / 2 ″, et d'autre part - ø3 / 4 ″. Différents fabricants ont des attitudes différentes vis-à-vis de la précision de la fabrication des excentriques. Nous vous conseillons de vérifier ses dimensions. Pour ce faire, vissez les excentriques dans les sorties filetées sans joint, faites attention à la facilité de vissage.
Installation de la vanne à l'aide de manchons adaptateurs excentriques
Installation d'excentriques


En même temps, notez la position correcte des excentriques. Après les avoir vissés sans joint, fixez le mélangeur. Faites attention si les écrous de serrage coïncident avec le filetage et la position horizontale de leur position, si nécessaire, serrez / dévissez un peu, selon qu'il est nécessaire d'augmenter ou de diminuer la distance entre eux.
Vérification de la position horizontale des excentriques installés
Gardez à l'esprit que les excentriques avec des joints déjà enroulés ne doivent être vissés que, la torsion provoquera des fuites. Encore une fois, nous vous rappelons que lors de la pose, vous devez vous souvenir approximativement de la position des excentriques.
Après l'enroulement, appuyez sur le ruban sur tout le diamètre de l'excentrique avec vos doigts jusqu'à ce que les fils apparaissent.
Étape 4. Vissez une came dans le raccord de tuyau. La position excentrique est la même que dans le montage d'essai. N'essayez pas trop.Si l'excentrique est vissé très facilement, vous devez le dévisser, retirer l'ancien joint et en appliquer un nouveau, mais en quantité accrue.
Étape 5. Vissez le deuxième excentrique. Ne le gâchez pas jusqu'au bout. Lorsqu'il reste environ un tour à gauche, essayez plusieurs fois le mélangeur, faites attention à ce que les écrous de serrage s'adaptent exactement. Répétez les opérations jusqu'à ce que les axes des écrous du mélangeur coïncident avec les axes des excentriques. Les noix devraient être faciles à tirer à la main.
Excentriques vissés
Étape 6. Remettez les coupelles décoratives en place. Ils sont filetés et vissés sur le filet saillant des excentriques. Vissez-les jusqu'au mur.
Après avoir installé les excentriques, nous enroulons les coupes
Étape 7. Insérez les joints en caoutchouc dans les écrous de serrage, ils sont fournis avec le mélangeur. Vissez les écrous sur les excentriques avec vos mains jusqu'à ce qu'ils s'arrêtent. Serrez avec une clé pour sceller complètement.
Installation du mélangeur
Étape 8. Vérifiez l'étanchéité de toutes les connexions, ouvrez les robinets d'alimentation en eau froide et chaude. Les fuites peuvent être si légères qu'elles ne peuvent pas être remarquées tout de suite. Placez un morceau de papier sous les joints et attendez quelques minutes. Si des taches humides apparaissent dessus - un problème.
Étape 9. Assemblez le bec, le tuyau flexible et la pomme de douche sur le mélangeur. Ils ont également des joints en caoutchouc, n'utilisez pas trop de force lors du serrage des écrous.
Comment fixer le tuyau de douche et la douchette à main
Lors de l'assemblage final du mélangeur, travaillez soigneusement, n'endommagez pas le revêtement extérieur décoratif du mélangeur.
Arrosoir connecté au tuyau
Vérifiez si le mitigeur et la douche fonctionnent
L'installation d'un robinet sur une baignoire n'est possible que si elle comporte des trous pour les tuyaux et un mélangeur. S'il y a des trous, vous devez choisir un eye-liner - des tuyaux flexibles qui relient les tuyaux et la sortie du mélangeur.
Les tuyaux sous-marins diffèrent par le matériau, le diamètre des trous et la longueur. Si vous ne les avez pas encore achetés, notre plombier apportera tout ce dont vous avez besoin avec lui et connectera le mélangeur sans tracas supplémentaire pour vous.
Démontage et installation d'un robinet dans la salle de bain
Au fil du temps, même les robinets les plus fiables commencent à fuir et à rouiller. Il est conseillé de changer l'ancienne plomberie à temps, sans attendre un moment critique. Il est tout à fait possible de changer le robinet de la salle de bain de vos propres mains. De nombreux modèles de mélangeurs modernes sont conçus de manière à ce qu'il ne soit pas difficile de les dévisser.


Le dispositif d'un mitigeur monocommande avec un aérateur et un filtre intégré: a - mélangeur démonté: 1 - élément de fixation, 2 - poignée rotative (joystick), 3 - couvercle du boîtier, 4 - écrou circulaire, 5 - cartouche remplaçable pour nettoyage mécanique, 6 joints, 7 corps, b - cartouche à bille démontée, c - cartouche céramique démontée.
Avant de démonter le mélangeur, il est nécessaire de couper l'alimentation en eau sur la colonne montante. Il est conseillé de tapisser le fond de la salle de bain avec de vieux journaux et chiffons afin d'atténuer le coup d'une éventuelle chute des éléments du robinet. Ainsi, si l'un des outils ou des pièces tombe sur la surface de la salle de bain, de profondes rayures dans ce cas seront inévitables.
Une mesure obligatoire est de bloquer le trou de vidange. C'est dommage, mais c'est là que tombent souvent les petites pièces et les attaches importantes. Il est possible que certaines des anciennes pièces de la grue soient utiles à l'avenir.
En général, la grue doit être démontée dans son ensemble, sans démontage préalable. Pour dévisser le robinet, vous devez utiliser une seule clé (réglable ou serrurier). Le processus de démontage consiste à dévisser les écrous, à l'aide desquels le robinet est fixé aux tuyaux d'eau froide et chaude. Dans le cas où vous devez remplacer les tuyaux en plastique, vous devez effectuer les travaux aussi soigneusement que possible et ne pas tirer fortement avec la clé, sinon les tuyaux peuvent être endommagés. De plus, pendant le fonctionnement, vous devez tenir les tuyaux avec vos mains.
Les écrous utilisés pour fixer la vanne avec les tuyaux sont toujours inclus avec le mélangeur, il faut donc prendre en compte s'ils peuvent toujours fonctionner ou s'ils doivent être remplacés par des neufs. Pour dévisser les écrous rouillés et endommagés, vous devez utiliser un outil spécial - une clé liquide (WD-40). Son action vise à corroder la couche de rouille formée, les dépôts de sel et la peinture durcie. L'outil agit assez rapidement, après quelques minutes, même l'écrou le plus ancien peut être retiré.


Étapes de réparation du mélangeur.
Avant d'installer une nouvelle vanne, le filetage du tuyau doit être scellé avec un ruban isolant sanitaire FUM. Avant d'enrouler le ruban autour du filetage du robinet de la salle de bain, vous devez y mettre une rondelle brillante. Il est conçu pour masquer les zones qui servent de jonction.
Lors de l'utilisation d'un ruban isolant, il y a quelques nuances: il doit être enroulé strictement dans la direction dans laquelle l'écrou sera serré à l'avenir. Si vous faites tout correctement, l'écrou se resserrera en douceur, facilement, sans l'utilisation d'outils supplémentaires. Si vous soupçonnez que l'écrou s'est mal posé et n'est pas tordu le long du filetage, vous devez tout recommencer et ne pas essayer de serrer l'écrou de force.
Il est strictement interdit de trop serrer les écrous. Ainsi, vous pouvez gâcher les joints ou casser les écrous.
Une fois l'ancienne grue démontée, vous pouvez commencer à en installer une nouvelle. La plomberie est fournie en standard et toutes les pièces nécessaires doivent être incluses.
L'élément principal du mélangeur est l'excentrique. Grâce à lui, la transition de la chemise à l'écrou de différents diamètres est réalisée, et ils permettent également l'installation en cas de décalage dans la distance centre à centre. Les excentriques sont principalement en laiton. Ils doivent être installés entre le mélangeur et le raccord de tuyau ou la sortie d'eau.
Il est facile de fixer divers capuchons décoratifs sur le côté large du fil excentrique, qui servent de déguisement contre les imperfections lors de l'installation d'une sortie de distribution d'eau dans une salle de bain.
Schéma d'installation et de connexion
Vous avez donc sélectionné le modèle dont vous avez besoin, vous pouvez maintenant vous mettre au travail. Tous les modèles, quels que soient le prix et la qualité, doivent être accompagnés d'instructions avec un schéma d'installation. Après l'avoir soigneusement étudié, vous pouvez connecter indépendamment le mélangeur. Il devrait déjà être assemblé, il vous suffit donc de vérifier le joint dans le bec, l'ajustement des joints d'huile, le fonctionnement de la tête de soupape, d'inspecter les joints et les joints, et la soupape tourne.
Nous vous invitons à vous familiariser avec Comment couper des carreaux de céramique avec un coupe-verre manuel?


Ensuite, déballez toutes les boîtes et emballages fournis avec le kit. Il existe un ensemble standard: des joints, des écrous, des excentriques, des réflecteurs muraux, des bagues, un bec de robinet et une pomme de douche. Tout cela dont vous aurez besoin pour vous connecter au robinet.
Le strict respect des instructions ne créera aucun problème. Mais n'oubliez pas les normes: la hauteur d'installation doit être d'au moins 1 mètre du sol.
Installez les prises d'eau aux endroits appropriés, lors du retrait des raccords, calculez la distance entre les tuyaux avec de l'eau - elle doit être de 15 cm.Il est très important que les raccords soient montés strictement horizontalement les uns par rapport aux autres et ne soient pas trop longs. Après avoir terminé avec les conclusions des raccords, passez à la partie principale des travaux.
Un ensemble d'outils et d'accessoires
- deux clés à molette (32 mm);
- clé à gaz;
- pinces;
- tournevis avec buses;
- hexagones;
- clé à fourche 12/14;
- ruban isolant à base de vinyle.
Vous devez commencer par démonter l'ancien robinet, après avoir préalablement préparé l'endroit et fermer le robinet principal de l'alimentation en eau. Vous pouvez changer le robinet de la baignoire, qui coule sans démontage, dévisser les écrous de fixation et les retirer.Si vous pensez que les pièces de l'ancien mixeur vous seront utiles, vous pouvez le démonter. Si les écrous ne peuvent pas être tordus, un convertisseur de rouille doit être utilisé. Essayez de remplacer toutes les fixations usées pour éviter d'éventuelles fuites et la rouille. Pour sceller les substrats métalliques en contact, des joints à base de silicone doivent être utilisés.


Il est nécessaire de connecter toutes les pièces fournies avec l'emballage de la vanne. S'il s'agit d'un tuyau de douche, vous pouvez le fixer à la main sans trop d'effort. Le bec doit être fermement inséré dans le trou de montage et le contre-écrou doit être serré. Il est impératif de remplacer les joints du robinet de la salle de bain par des neufs, également inclus dans le kit. Tout en serrant les écrous de fixation, collez les surfaces de contact avec du ruban isolant en plusieurs couches afin de ne pas rayer le revêtement du robinet.
Nuances d'installation
Une attention particulière doit être accordée à l'installation du mélangeur sur le côté de la baignoire en acrylique - dans ce cas, vous pouvez percer des trous pour l'installation dans un endroit pratique et monter n'importe quel mélangeur. Il a également ses propres particularités:
- les trous doivent être percés avec un foret spécial en tungstène;
- vous devez installer le mélangeur avant d'installer le bain lui-même;
- le côté de la baignoire doit être renforcé avec un joint spécial afin qu'il ne se plie pas pendant le fonctionnement;
- le robinet doit être situé à côté du côté ouvert afin d'accéder facilement et sans problèmes inutiles aux tuyaux et aux vannes.
Installation du mélangeur
Ensuite, nous installons un mélangeur de bain. Des coussinets en fibre doivent être inclus avec le mélangeur. Ils doivent être trempés pendant 10 minutes dans de l'eau fraîche. Si les joints sont en caoutchouc ou en silicone, ils n'ont pas besoin d'être trempés. Maintenant nous poussons mélangeur excentrique... Il est préférable de le faire avec des écrous évasés.
- Mettre les entretoises au point de fixation.
- Commencez à visser le mélangeur avec vos mains.
- Quand cela devient difficile, utilisez une clé à molette.
- Serrez les écrous à tour de rôle, lentement, sans déformations.
- Après l'installation, vérifiez la force du mélangeur - il ne doit pas osciller et pour son uniformité.


Outils nécessaires
Vous devez immédiatement préparer tous les outils nécessaires: le mélangeur lui-même et tous ses composants, pinces, niveau du bâtiment, ruban à mesurer, clé à molette, clés à fourche. Préparez également du fil de lin, du silicone, du ruban d'étanchéité. Vous aurez certainement besoin d'un morceau de chiffon doux, d'un seau, de lingettes humides et même de papier toilette.
Les outils sans dents sont une excellente option, mais s'ils ne le sont pas, ne vous découragez pas, couvrez simplement les pièces avec un chiffon ou une serviette. Cela les protégera des dommages au revêtement. Du papier est nécessaire pour tout essuyer et vérifier les fuites. Et en cas de fuite, vous devrez démonter et remonter la structure, ce qui ne vous fera probablement pas plaisir.
Subtilités d'installation
Il est nécessaire de visser le jars à l'unité principale, puis de tourner le tuyau avec un arrosoir. Vous n'avez pas besoin d'utiliser les clés et de serrer les écrous aussi. Une fois le modèle assemblé, vous pouvez commencer l'installation, qui comprend les étapes suivantes: enveloppez les excentriques avec du ruban d'étanchéité, puis insérez les raccords situés dans le mur, restés du robinet précédent.
Cela doit être fait très soigneusement. S'il n'y a pas de ruban adhésif à portée de main, le remorquage peut être un substitut. Ensuite, nous vissez les excentriques, en mesurant strictement la distance entre les entrées sur le mélangeur et en utilisant un niveau. Ceci est fait pour une raison - la distance doit être strictement de 15 centimètres. Après cela, nous enroulons le bloc principal sur les excentriques. Cela doit être fait lentement, car il doit être sécurisé avec soin.
Essayez de ne pas vous précipiter, et si quelque chose ne fonctionne pas, il est préférable de faire une courte pause et de vous calmer. Si le bloc des deux côtés est vissé calmement, tout peut être mis correctement.Ensuite, le bloc doit être retiré et les abat-jour décoratifs doivent être vissés sur les excentriques, qui doivent nécessairement s'ajuster parfaitement contre le mur et fermer les points d'insertion du mélangeur au fil. Si tout est exactement comme ça, alors votre travail est parfaitement bien fait. Ensuite, nous revissons le bloc à l'aide de la bobine. Pour que le retrait soit serré, les joints des écrous de serrage doivent être utilisés. Les écrous doivent être serrés avec une clé, mais pas très fermement.
Nous ouvrons le robinet d'eau chaude et vérifions le fonctionnement du mélangeur. Commencez le test avec une basse pression, en augmentant progressivement la puissance de l'alimentation en eau. Assurez-vous de vérifier le fonctionnement de la douche. Si tout va bien, vous l'avez fait la première fois. Mais s'il y a une fuite, vous devez trouver sa source, éteindre à nouveau l'eau et recommencer. Il y a de fortes chances que vous ayez trop serré l'écrou ou un élément de fixation.
Vous avez déjà compris comment installer un nouveau mélangeur au lieu d'un mélangeur usé, traitons maintenant une tâche plus difficile: installer un mélangeur sur un nouveau mur. Tout d'abord, les tuyaux sont remplacés, les murs sont carrelés. En outre, des tuyaux de plomberie sont disposés, des balises pour le plâtre sont installées.
Vous devez calculer les encoches dans le mur de manière à ce qu'elles coïncident exactement avec la distance entre le phare et le plan carrelé, soit environ 17 centimètres. Si vous n'êtes pas sûr de pouvoir effectuer tous ces travaux, il est préférable d'inviter un spécialiste après tout, afin que plus tard, il n'y ait aucun problème lors de l'installation de la console de mixage.
Après tout le travail effectué, vous pouvez commencer à installer les raccords. Pour les installer, vous devez reporter la distance entre les centres des raccords - 15 centimètres. Les centres doivent être sur le même parallèle, le point final doit dépasser du mur et les raccords doivent affleurer à une hauteur appropriée. Une fois les raccords installés, le mélangeur peut être fixé. Cela se fait de la même manière que dans la version précédente.
Considérons maintenant une autre option pour installer le mélangeur - sur une surface horizontale. Ce besoin se pose lors de l'installation du mélangeur sur le côté de la baignoire. Avant de se lancer dans une telle installation, il est impératif de préciser si le côté porteur du côté peut supporter la charge accrue. Pour monter ce type de mélangeur, vous aurez besoin d'une perceuse avec un ensemble de couteaux, clés et tournevis.
Au début de l'installation, vous devez faire un balisage afin de renforcer ensuite les plaques le long de celle-ci. Après le marquage, des trous sont percés sur le côté du bain. Étudiez attentivement les instructions sur la façon de connecter le mélangeur à la canalisation à l'aide des tuyaux de raccordement et d'autres composants inclus dans le kit. Ensuite, nous collons la surface horizontale avec du ruban de masquage pour protéger la surface des copeaux et des dommages, appliquons les marquages et commençons à percer les trous nécessaires pour installer le mélangeur. Une fois les trous prêts, retirez-les et traitez les bords avec un outil spécial.
Nous vous suggérons de vous familiariser avec Installation d'un écran sous une baignoire: comment installer un écran de vos propres mains sous un modèle en acrylique, instructions d'installation
L'étape suivante consiste à collecter tous les détails et à les corriger sans utiliser de clés. Si les tuyaux de raccordement ont pris leur place sans entrave, tout a été fait au besoin et vous pouvez procéder à la fixation finale de toutes les pièces du mélangeur. L'étape suivante consiste à vérifier le mélangeur pour les fuites.
La dernière méthode d'installation du mélangeur, reconnue comme la plus difficile et la plus coûteuse, consiste à installer le mélangeur dans le sol. Avant toute rénovation de votre salle de bain, vous devez commencer à poser deux tuyaux pour l'eau froide et l'eau chaude. Dans le sol, des évidements sont réalisés de la taille du diamètre des tuyaux, des tuyaux sont posés le long de ces évidements jusqu'à l'endroit où la baignoire sera située. Après cela, les rainures sont fermées, la chape de sol est fabriquée et les carreaux sont posés. Ensuite, nous agissons selon la technologie décrite ci-dessus - nous montons le mélangeur, vérifions les fuites, etc.
Installer un nouveau robinet de salle de bain au mur
La hauteur au-dessus du niveau du bain doit être inférieure à 30 cm, choisie en tenant compte de la taille du mélangeur et des préférences du propriétaire. La distance standard entre les centres de deux ferrures est de 150 mm, les excentriques permettent de corriger les erreurs dans le sens horizontal et vertical jusqu'à 5 mm.
Extrait de GOST 25809-96
Mitigeur baignoire monocommande avec raccords séparés, mural avec filet de douche sur tuyau flexible, bec avec mousseur
Mélangeur pour baignoire et lavabo, à deux poignées avec entrées dans des trous séparés, fixé au mur avec un filet de douche sur un tuyau flexible
Travailler avec du ruban adhésif
Par exemple, envisagez d'installer un mélangeur sur un nouveau mur. Les canalisations ont déjà été installées, plâtrées et carrelées.
Étape 1. Étudiez les instructions du fabricant du mélangeur, vérifiez son exhaustivité et la présence de tous les joints en caoutchouc. Les sorties de tuyau doivent avoir un filetage interne.
Mitigeur mural monocommande
Si ce n'est pas le cas, plusieurs problèmes se posent.
- D'abord. Nous devrons acheter et visser des accouplements. Ce sont des emplois supplémentaires et de nouveaux endroits où une fuite peut apparaître.
- Deuxième. Le mélangeur s'éloignera du mur, ne s'ajustera pas parfaitement contre celui-ci, les raccords seront visibles. Il s'agit d'un défaut esthétique majeur.
- La troisième. En raison de l'augmentation de la longueur des raccords filetés, le risque de fissuration augmente. L'épaule augmente, en raison de laquelle la contrainte mécanique augmente.
Nous vous suggérons de vous familiariser avec Comment nettoyer un robinet dans la cuisine
Étape 2. Nettoyez les tuyaux des matières résiduelles. Pour ce faire, il est préférable d'ouvrir les robinets des tuyaux avec de l'eau chaude et froide pendant quelques secondes. Une forte pression éliminera toute la saleté. Une telle opération est beaucoup plus facile à faire tout de suite que de démonter le mélangeur ultérieurement en cas de colmatage.
Tuyaux préparés pour l'installation du mélangeur
Étape 3. Retirez deux excentriques. D'une part, ils ont un filetage ø1 / 2 ″, et d'autre part - ø3 / 4 ″. Différents fabricants ont des attitudes différentes vis-à-vis de la précision de la fabrication des excentriques. Nous vous conseillons de vérifier ses dimensions. Pour ce faire, vissez les excentriques dans les sorties filetées sans joint, faites attention à la facilité de vissage.
Installation de la vanne à l'aide de manchons adaptateurs excentriques
Installation d'excentriques
En même temps, notez la position correcte des excentriques. Après les avoir vissés sans joint, fixez le mélangeur. Faites attention si les écrous de serrage coïncident avec le filetage et la position horizontale de leur position, si nécessaire, serrez / dévissez un peu, selon qu'il est nécessaire d'augmenter ou de diminuer la distance entre eux.
Vérification de la position horizontale des excentriques installés
Gardez à l'esprit que les excentriques avec des joints déjà enroulés ne doivent être vissés que, la torsion provoquera des fuites. Encore une fois, nous vous rappelons que lors de la pose, vous devez vous souvenir approximativement de la position des excentriques.
Après l'enroulement, appuyez sur le ruban sur tout le diamètre de l'excentrique avec vos doigts jusqu'à ce que les fils apparaissent.
Étape 4. Vissez une came dans le raccord de tuyau. La position excentrique est la même que dans le montage d'essai. N'essayez pas trop. Si l'excentrique est vissé très facilement, vous devez le dévisser, retirer l'ancien joint et en appliquer un nouveau, mais en quantité accrue.
Étape 5. Vissez le deuxième excentrique. Ne le gâchez pas jusqu'au bout. Lorsqu'il reste environ un tour à gauche, essayez plusieurs fois le mélangeur, faites attention à ce que les écrous de serrage s'adaptent exactement. Répétez les opérations jusqu'à ce que les axes des écrous du mélangeur coïncident avec les axes des excentriques. Les noix devraient être faciles à tirer à la main.
Excentriques vissés
Étape 6. Remettez les coupelles décoratives en place. Ils sont filetés et vissés sur le filet saillant des excentriques. Vissez-les jusqu'au mur.
Après avoir installé les excentriques, nous enroulons les coupes
Étape 7.Insérez les joints en caoutchouc dans les écrous de serrage, ils sont fournis avec le mélangeur. Vissez les écrous sur les excentriques avec vos mains jusqu'à ce qu'ils s'arrêtent. Serrez avec une clé pour sceller complètement.
Installation du mélangeur
Étape 8. Vérifiez l'étanchéité de toutes les connexions, ouvrez les robinets d'alimentation en eau froide et chaude. Les fuites peuvent être si légères qu'elles ne peuvent pas être remarquées tout de suite. Placez un morceau de papier sous les joints et attendez quelques minutes. Si des taches humides apparaissent dessus - un problème.


Étape 9. Assemblez le bec, le tuyau flexible et la pomme de douche sur le mélangeur. Ils ont également des joints en caoutchouc, n'utilisez pas trop de force lors du serrage des écrous.
Comment fixer le tuyau de douche et la douchette à main
Lors de l'assemblage final du mélangeur, travaillez soigneusement, n'endommagez pas le revêtement extérieur décoratif du mélangeur.
Arrosoir connecté au tuyau
Vérifiez si le mitigeur et la douche fonctionnent
Mélangeur embarqué
Position très pratique des mélangeurs, facilite le processus de réglage de la température de l'eau, semble spectaculaire. Il peut être installé non seulement dans les éviers, mais également dans les baignoires. La seule condition préalable est la présence de trous technologiques spéciaux. En ce qui concerne les éviers en céramique, ils ont tous déjà des trous d'usine. Comment faire des trous dans une baignoire en émail et acrylique?
Le travail est assez complexe et nécessite certaines compétences et certains soins. Pour faire des trous, vous devez avoir un marqueur, une perceuse à plumes pour la céramique et le verre, un tournevis ou une perceuse, du ruban adhésif et de la pâte à modeler.
Étape 1. Marquez l'emplacement du trou. Scellez-le hermétiquement avec du ruban adhésif, de préférence transparent.
Étape 2.Faites un petit collier de pâte à modeler d'environ 0,5 cm de haut et deux fois le diamètre du trou. Collez fermement la pâte à modeler dans la salle de bain, versez de l'eau dans le récipient obtenu.
Étape 3. Percez un trou Ø 5–6 mm au centre de la marque avec une perceuse à métaux. Les rotations de la perceuse ou du tournevis sont faibles, maximum 500 tr / min. N'appuyez pas trop fort sur la perceuse. Percer soigneusement, l'épaisseur du bain est petite, ne pas permettre une situation où la perceuse tombe brusquement et le mandrin heurte le bain.
Étape 4. Une fois le trou traversant formé, l'eau disparaîtra. Nettoyez la surface sur le site de forage. Faites un petit bouchon en pâte à modeler et fixez-le sous le trou à l'arrière de la baignoire. La fixation doit être étanche à l'air et retenir l'eau.
Percer un trou pour un mélangeur


Étape 5. Insérez une mèche de Ø 10–12 mm et agrandissez le diamètre du trou. Retirez le ruban adhésif avec une épaule, nettoyez la surface des copeaux. Retirez le capuchon inférieur.
Trou fini
Le trou principal est prêt, vous devez maintenant travailler avec une buse en caoutchouc et en toile émeri, les révolutions du mandrin sont maximales, la pression est minimale. Faites des marques pour les éléments du mélangeur, couvrez la surface avec du ruban adhésif transparent. Cela minimisera les risques d'écaillage de l'émail. Plus vous travaillez lentement, meilleur est le bord du trou. S'il y a de petits copeaux, peu importe, ils sont recouverts par les surfaces du mélangeur et deviennent invisibles. Tout le travail prendra environ 2 à 2,5 heures.
Commençons par l'option la plus simple: les prises d'eau sont faites, la distance entre elles est standard de 15 centimètres. Horizontalement, les conclusions sont à peu près au même niveau. Toutes les petites erreurs peuvent être éliminées en ajustant les excentriques.
Étape 1. Vérifiez l'exhaustivité du mélangeur. Tous les éléments de l'appareil, les excentriques et les joints doivent être présents.
Kit mélangeur dans une boîte
Excentriques du kit
Mélangeur mural
Étape 2. Coupez l'eau, retirez les fiches des prises. Nettoyez le fil, enlevez la saleté. Si la plomberie n'a pas été préalablement connectée aux tuyaux, il est conseillé de les rincer. Pour ce faire, placez un récipient au fond pour recueillir l'eau, couvrez les prises avec un chiffon pour éviter un fort jet horizontal et ouvrez complètement le robinet d'eau.
Produits préparés
Étape 3. Enroulez du ruban FUM sur les excentriques.
On dirait un excentrique, sur le fil duquel est enroulé un ruban fumigène
Nous vous recommandons fortement d'utiliser du ruban plutôt que le câble traditionnel. Il retient parfaitement l'eau, pour une étanchéité fiable des raccords filetés, il n'est pas nécessaire de les serrer trop. Nous avons déjà mentionné ci-dessus que les excentriques de silumin réagissent négativement à de grands efforts. Mais la bande a une propriété désagréable: elle ne peut être utilisée qu'une seule fois. Si vous n'avez pas enveloppé suffisamment de scellant, vous ne pouvez pas submerger l'ancien. Il est complètement retiré et un nouveau matériau est utilisé pour le sceller.
Enrouler le lin sur du fil
Appliquer de la pâte hygiénique sur le linge
La pâte protège le lin de la pourriture
Au lieu d'une pâte, vous pouvez appliquer un scellant sur le lin
Pour connaître la quantité approximative de ruban à enrouler, vissez les excentriques dans le filetage sans joint. Voyez s'il y a un grand écart entre eux, s'ils sont très lâches. Si le vissage est normal, vous devez enrouler 5 à 6 rangées de ruban, si les excentriques sont visiblement desserrés, 10 à 12 rangées seront nécessaires.
Nous vous suggérons de vous familiariser avec l'eau de la machine à laver













