En bref sur la combustion par pyrolyse
Le processus de pyrolyse est la lente décomposition des carburants carbonés, qui se produit sous l'influence de températures élevées avec un manque d'oxygène. Du gaz combustible ou du carburant liquide est obtenu en sortie, en fonction de la charge et des conditions de la réaction chimique.
Les chaudières à pyrolyse produisent et brûlent exactement du gaz, d'où le deuxième nom - production de gaz ou gazéification. Matières premières initiales - bois de chauffage sec, charbon, briquettes de combustible.

Schéma d'une usine de générateur de gaz qui produit du carburant pour un moteur à combustion interne
Référence. Une grande variété de combustibles solides contenant des composés hydrocarbonés est utilisée pour la combustion par pyrolyse. Un exemple est la production de carburant liquide à partir de vieux pneus de voiture ou l'incinération de déchets dans des fours industriels à gaz.
Comment se produit la pyrolyse du bois:
- Un certain volume de bois haché ou de sciure de bois est chargé dans un réservoir fermé (réacteur).
- Le récipient métallique est chauffé de l'extérieur jusqu'à 500 ... 900 ° C, l'air est fourni à travers les tuyères (trous de soufflage) de manière limitée.
- Le bois couve et se décompose en ses constituants - hydrogène, méthane, monoxyde de carbone, vapeur d'eau, dioxyde de carbone. A la fin de la réaction, des cendres restent au fond.
- Le mélange gazeux résultant est refroidi, nettoyé, puis pompé dans des cylindres pour une utilisation ultérieure.
Avant le chargement dans le générateur de gaz, le bois est séché. Sinon, l'énergie de chauffage sera dépensée pour l'évaporation de l'eau, la réaction de pyrolyse ralentira considérablement et nous aurons un tas de vapeur d'eau à la sortie.
A noter que tout processus de combustion de combustible solide s'accompagne d'un dégagement de gaz de bois, même en cas d'incendie (voir la photo). La pyrolyse est décrite plus en détail dans notre autre publication.


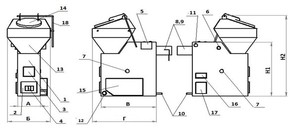
DESCRIPTION DE LA CHAUDIÈRE BARIN - 18M
La chaudière BARIN-M est conçue pour chauffer des bâtiments et des structures résidentielles, publiques et industrielles avec une température maximale de chauffage de l'eau de +95 ° C. Les chaudières fonctionnent avec confort, ne nécessitent pas une attention constante et un entretien intensif. En pratique, la chaudière doit être allumée une fois par saison. Le rendement des chaudières est compris entre 82 et 88%, selon la qualité du combustible utilisé.
La puissance nominale de la chaudière est de 18 kW, le maximum peut atteindre 28 kW. En conséquence, le volume de la pièce chauffée peut atteindre 600 m3
2.1 Description technique


Figure. 1 - Représentation schématique de la chaudière "Barin - 18M"
1. Corps de chaudière.
2. Porte avant du bac à cendres.
3. Porte du foyer. Ouvert pendant le fonctionnement interdit
!
4. Registre de régulation d'air primaire. Grâce à lui, l'alimentation en air primaire est fournie. Fonctionne en mode «Run-Stop» à partir de l'entraînement électrique à la commande de capteurs thermiques.
5. Unité de contrôle. Les éléments de commande sont situés dans un boîtier de protection.
6. Fenêtre de visualisation. Pour surveiller la combustion dans la chambre de combustion.
7. Volets de régulation de l'alimentation en air secondaire. Avec leur aide, l'alimentation en air de la chambre de chauffage est régulée, où elle est chauffée à une température de 300 à 400 ° C.
8. Vanne à vanne et levier pour l'ajuster. Nécessaire pour réguler le tirage des gaz de combustion en bloquant la cheminée.
9. Tuyau de fumée.
10. Tuyau de remplissage de la chaudière avec de l'eau.
11. Tuyau de dérivation pour fournir de l'eau chauffée au système de chauffage.
12. Tuyau de dérivation pour renvoyer l'eau du système de chauffage à la chaudière.La température de l'eau de retour ne doit pas être inférieure à 60 ° С. Il est conseillé d'utiliser une pompe de circulation.
13. Bunker - conçu pour stocker du carburant. La trémie est boulonnée au tambour de la chaudière. Un couvercle hermétiquement fermé est situé sur le dessus de la trémie.
14. Couvercle de la trémie avec joint en amiante. S'ouvre avec une poignée. Si le joint fuit, le carburant peut s'enflammer dans la trémie. Il n'est pas recommandé d'ouvrir complètement le couvercle à la fois. Tout d'abord, vous devez l'ouvrir de 15 à 20 mm pour que les gaz de pyrolyse pénètrent dans le four de la chaudière, puis, après 3 à 5 minutes, ouvrez-le complètement.
15. Housse de protection. Protège les pièces mécaniques mobiles de la chaudière.
16. Porte du compartiment de collecte des gaz de combustion résiduaires. Il est recommandé de le nettoyer 1 à 2 fois par mois ou au besoin.
17. La porte du bac à cendres latéral est conçue pour recueillir les scories et les roches.
18. Poignée pour ouvrir le couvercle de la trémie.
Tableau 1 - Dimensions techniques de la chaudière "Barin 18M"
| Dimensions techniques Nom de la chaudière | Largeur chaudière / trémie, mm | Longueur, mm | Hauteur avec trémie (couvercle fermé / ouvert), mm |
| BARIN-M | 580/695 | 1190 | 1730/2160 |
| Le fabricant se réserve le droit de modifier la conception de la chaudière sans compromettre les caractéristiques techniques. |
2.2 Spécifications
Tableau 2 - Valeur des caractéristiques techniques
| Puissance calorifique nominale, kW (kcal / h) (fraction de noix de charbon "D") | 18 |
| Consommation de carburant en mode «Travail», kg / h (fraction de noix de charbon de qualité «D») | 5,1 |
| Rendement pour le charbon de qualité «D» avec fraction de noix,% | 85 |
| Trémie + volume de la mine, l | 160 |
| Température de l'eau de travail, ° С | 65 — 90 |
| Température de l'eau de retour, ° С | Pas moins de 60 |
| Température maximale de l'eau, ° С | 95 |
| Le volume de la pièce chauffée, m3 | 600 |
| Diamètre du tuyau de fumée, mm | 159 |
| Température maximale des fumées, ° С | 250 |
| Consommation d'électricité, W / h | 25 |
| Pression de service, bar | 1,3 |
| Volume d'eau de la chaudière, l | 120 |
| Poids (kg | 305 |
Règles de fonctionnement
Pour obtenir un bon transfert de chaleur d'un générateur de chaleur à gaz avec une consommation de carburant minimale, les fabricants recommandent de respecter les règles suivantes:
- utiliser uniquement du bois sec, teneur en humidité autorisée 12 ... 20%;
- lors de l'installation et de la tuyauterie de la chaudière, il est impératif d'utiliser un mitigeur à trois voies ou un dispositif Laddomat-21 complexe pour maintenir la température de retour à 65 ° C;
- température de fonctionnement de l'agent chauffant à l'alimentation - 80 ... 90 ° C;
- le générateur de chaleur doit fonctionner à une puissance proche du maximum; il est impossible de faire fonctionner l'appareil pendant une longue période en mode de faible productivité (moins de 50%);
- il est très souhaitable de se noyer avec de grosses bûches, mais pas des bûches rondes;
- avec les chaudières à pyrolyse, il est fortement recommandé d'utiliser un réservoir tampon, qui accumulera l'excès d'énergie thermique;
- le volume minimum requis pour l'accumulateur de chaleur est de 25 litres pour chaque kilowatt de puissance de chauffage.
Explication. Si un liquide de refroidissement froid avec une température inférieure à 65 degrés entre dans le réservoir de la chaudière, alors lors du processus de gazéification du carburant dans la chambre primaire, du condensat et du goudron se formeront. En savoir plus sur la bonne tuyauterie dans un manuel séparé sur le raccordement des chaudières TT.


L'alimentation en agent de chauffage de la chaudière doit être régulée par une vanne à trois voies. Après le réservoir tampon, une autre unité de mélange est installée pour abaisser la température de l'eau
L'utilisation du réservoir tampon est due au mode de fonctionnement efficace de la chaudière - combustion intensive, la température de sortie est de 80 à 90 degrés. C'est dans ces conditions qu'un rendement élevé de 86 à 87% est atteint. Il est impossible «d'étouffer» le générateur de chaleur par l'air, l'efficacité de la combustion diminuera à 40-50%, comme dans un poêle-poêle fait maison.
Chaudières à combustible solide générant du gaz de pyrolyse pour une combustion longue sur bois
Le fonctionnement des chaudières à pyrolyse est basé sur le principe de la gazéification du combustible.
Le four de la chaudière est divisé en deux parties. Dans la chambre supérieure de la chaudière (chambre de chargement du combustible), le combustible brûle.Sous l'influence de la température élevée et du manque d'air pour une combustion complète, du gaz combustible est libéré du bois, qui est ensuite brûlé dans la chambre inférieure (chambre de combustion).
Ce processus augmente l'efficacité de la chaudière jusqu'à 85-90% et augmente temps de combustion jusqu'à 12 heures.
Les chaudières à pyrolyse sont des dispositifs assez complexes et coûteux. En règle générale, les chaudières sont équipées d'un extracteur de fumée, de dispositifs de contrôle et de surveillance électroniques.
Les chaudières nécessitent l'utilisation obligatoire de bois de chauffage dont la teneur en humidité ne dépasse pas 20-25%.
Avec un séchage naturel dans un tas de bois, le bois de chauffage haché n'acquiert la teneur en humidité spécifiée qu'après deux ans de stockage sous un auvent.
Pour augmenter la durée de combustion des chaudières à pyrolyse, un combustible de certaines tailles est nécessaire, par exemple, l'épaisseur de la bûche ne doit pas être inférieure à 10 cm.
Plage de régulation de la puissance de la chaudière 50-100% Le fonctionnement de la chaudière est perturbé à faible charge,
avec une capacité inférieure à 30-50%. Une source de chaleur différente est nécessaire pour chauffer la maison en basse saison.
Les chaudières à pyrolyse des marques VERNER et ATMOS ont de bonnes critiques de la part des propriétaires.
Les réels avantages des appareils de chauffage à pyrolyse
Énumérons les avantages des chaudières à gazéification, déclarés par les vendeurs, puis nous éliminerons les histoires franches:
- les sources de chaleur de pyrolyse sont des générateurs de gaz à part entière émettant un gaz de synthèse combustible;
- les unités sont très économiques et respectueuses de l'environnement en raison de leur rendement élevé;
- les chaudières brûlent complètement le charbon et le bois de chauffage, pratiquement sans résidu;
- temps de combustion - plus de 10 heures (le chiffre le plus modeste est de 8 heures).
Noter. Les annonceurs et les fabricants pas trop consciencieux comparent toujours les générateurs de gaz avec les chaudières à combustion directe conventionnelles, "oubliant" les appareils de chauffage à pellets tout aussi efficaces. Mais même cette comparaison n'est pas très gagnante.
La première déclaration est trop audacieuse. Rappelons-nous: une pyrolyse intense commence par un fort chauffage et un manque d'oxygène, mais que se passe-t-il dans la chaudière? Le ventilateur souffle de l'air dans la chambre de combustion en excès, il n'y a pas de combustion lente. Le gaz de synthèse, bien sûr, est libéré, mais la combustion directe du carburant est également présente.


À gauche, une torche à flamme dans le compartiment de postcombustion pendant le fonctionnement de la chaudière, à droite un échangeur de chaleur à tube de feu (vue de dessus)
Jetons un coup d'œil au reste des avantages:
- La déclaration sur l'économie et le respect de l'environnement n'est pas un conte de fées. Grâce à son efficacité décente, la chaudière assimile mieux l'énergie du combustible et émet des composés beaucoup moins toxiques - oxyde d'azote et monoxyde de carbone - dans l'atmosphère. A la condition 1 : les préconisations sur le mode de fonctionnement et le taux d'humidité du bois de chauffage sont parfaitement respectées.
- Les raisons d'une combustion plus complète sont le bois sec et l'injection d'air forcé. Si vous mettez des briquettes de sciure ou de l'acacia sec dans une chaudière à turbocompresseur traditionnelle, le résidu de cendre sera également nul. Beaucoup de cendres légères sont simplement soufflées par un ventilateur dans la cheminée. Cela signifie que ce fait n'est pas un avantage.
- La durée de la combustion dépend de 2 facteurs: l'efficacité et la capacité du compartiment à carburant. En termes d'efficacité, les chaudières à combustible solide perdent au profit des chaudières à pyrolyse de 10%, c'est une légère augmentation de la durée de fonctionnement. Le facteur principal est le volume de la chambre de combustion, s'il atteint 80 litres ou plus, le bois de chauffage brûlera en 6-8 heures.
Référence. Le fabricant tchèque Atmos décrit les avantages de ses générateurs de chaleur (littéralement): une grande soute à combustible - une longue durée de combustion. D'où la conclusion: la déclaration sur la durée des travaux est vraie, seule la raison est différente - la capacité du four, et non le fait de générer du gaz de bois.
En outre, beaucoup de fables sont racontées sur le mode économique de combustion lente, qui est tout simplement absent dans les unités de pyrolyse. Il est écrit dans le mode d'emploi "Atmos DC15E" - une diminution de l'intensité de la flamme entraîne une diminution de l'efficacité et une augmentation de la consommation de carburant.


Le plus récent générateur de chaleur "Atmos" de type pyrolyse à l'exposition "Aquatherm-2019"
Combustion à sole supérieure de combustibles solides dans les chaudières et les fours
15.11.2018 1308
Le moyen le plus propre et le plus efficace de brûler des combustibles solides dans les chaudières et les fours
Maintenant, il existe un stéréotype stable selon lequel la combustion du combustible dans le four ne peut avoir lieu qu'en fournissant de l'air à partir du bas du signet. À travers la grille dans la zone de combustion. Mais il existe également une option alternative - brûler du carburant de haut en bas.
La plupart des chaudières vendues en Russie ont une conception de four à grille, cela est dû à une certaine polyvalence du combustible. La structure de la grille a été assez bien étudiée par les vendeurs et les consommateurs. Les chaudières Grizzly sont plus faciles à vendre. À cet égard, entre autres, leur plus grande distribution est associée.
Cependant, cette situation n'est pas partout. Dans les pays où les exigences d'émission de CO2 sont plus strictes, la combustion aérienne est considérée comme plus correcte. Il vous permet d'obtenir une combustion plus complète du carburant avec les émissions de CO2 les plus faibles par unité de temps et les résidus de carburant non brûlés, soit 4 à 5 fois moins qu'avec une combustion à grille volumétrique.
Contrairement à certaines opinions, du point de vue du déroulement des processus naturels, ce type de combustion est plus naturel, par exemple, un feu fait dans une forêt brûle généralement aussi avec une combustion supérieure ou frontale, des grilles dans le sol, pour fournir l'air d'en bas, rarement personne.
La combustion supérieure est également appelée combustion inférieure et frontale. Le foyer s'appelle le plancher blanc de la chambre de combustion. Dans la chaudière à foyer, le bois de chauffage, principal type de combustible, est empilé au fond. Une conception approximative du foyer peut ressembler à ceci:
— Air primaire est alimenté par le canal d'alimentation en air primaire situé dans la porte de chargement de la chaudière et pénètre dans la cheminée le long des bûches, c'est-à-dire directement dans la zone de combustion (souffle du foyer), le front de combustion se déplace progressivement vers la paroi arrière du four avec le formation d'une quantité minimale de cendres (moins de 1%).
— Air secondaire, préchauffé, est alimenté par une fente dans la partie supérieure de la porte de la chaudière à grande vitesse, brûle les gaz de four résultants et étend un miroir de combustion horizontal sur la cheminée.
Les bûches les plus grosses doivent être placées au fond de la chambre de combustion, les bûches doivent être amenées à la moitié de la hauteur de l'ouverture de la porte de la chaudière (plus l'empilement est haut, plus les bûches sont fines). La pose doit être bien serrée, mettre du petit bois dessus (écorce de bouleau, éclat).
Ainsi, le bois brûlera par les extrémités et sur le dessus de la pile, et le bois à l'intérieur servira de combustible, alimentant progressivement le processus de combustion. Les gaz pyrolytiques formés lorsque le bois est chauffé à l'intérieur du signet seront brûlés dans la couche de combustion supérieure horizontale. La régulation de l'alimentation en air primaire et secondaire permettra d'ajuster facilement la puissance de la chaudière dans une large plage et d'assurer une combustion optimale du bois.
Lors de l'organisation de la combustion supérieure, il y a un processus de transfert de chaleur intense au moyen d'un rayonnement infrarouge. Dans le même temps, la couche supérieure de bois de chauffage n'est pas protégée par une énergie radiante jusqu'à ce que tout le signet soit engagé dans le feu, comme cela se produit avec l'allumage classique par le bas sur la grille. En brûlant, le fond du four est impliqué dans le processus de transfert d'énergie radiante, réduisant la composante convective des flux de chaleur.
Pendant la combustion au foyer, tous les charbons formés restent dans le four, ne tombent pas à travers les fentes de la grille et brûlent complètement, dégageant de la chaleur. Dans la chambre de combustion avec grilles, les charbons brûlent également presque complètement, mais ceux d'entre eux qui sont tombés à travers la grille brûlent déjà dans la boîte à cendres et n'apportent aucun avantage au système de chauffage, ne participent pas au chauffage du liquide de refroidissement.
Top brûlant - le processus est cyclique, c'est-à-dire que l'onglet est allumé par le haut et s'éteint complètement, seulement après que le prochain chargement de carburant est effectué. L'ensemble du processus n'est absolument pas compliqué et l'utilisateur n'a qu'à modifier légèrement ses habitudes.
Certains prétendent que seul le bois de chauffage peut être brûlé par le haut. Ce n’est pas tout à fait vrai. Il est tout à fait possible de brûler des briquettes combustibles (sciure broyée pressée), des briquettes de tourbe, du lignite, tout combustible dont la température d'inflammation est inférieure à 400 ° C. Vous pouvez également brûler du charbon si vous le jetez sur un signet brûlant, par exemple à partir de bois de chauffage, en petites portions.
Par exemple, le fabricant des chaudières largement annoncées, Stropuva, propose d'y brûler confortablement du charbon par combustion aérienne. Par conséquent, il est faux de parler d'une restriction stricte sur le carburant dans les chaudières à sole. L'essentiel est d'utiliser des tactiques lors de la combustion du charbon dans des fours à sole conventionnels - en ajoutant du combustible par petites portions. Et s'il est calculé pour être chauffé uniquement avec du bois, les avantages des fours à sole sont plus qu'évidents. Une combustion correcte peut économiser jusqu'à 30% du carburant utilisé.
De plus, dans les chaudières à sole, la combustion des signets peut se produire non seulement avec une combustion par le haut, mais aussi volumétrique, comme sur des grilles. Pour ce faire, placez un feu d'allumage au bas de la chambre de combustion, allumez-la, placez une petite quantité de bois de chauffage sec de plus petite taille sur le dessus et fermez la porte de la chambre de combustion. Lorsque le bois commence à brûler, signalez le reste de l'empilement, sans amener la hauteur d'empilement à 10 cm du haut de l'ouverture de la porte.
Lors de la combustion en volume, l'efficacité de la chaudière diminue, car une partie des gaz du four n'a pas le temps de réagir avec l'oxygène et s'envole dans le tuyau. Le bois de chauffage d'en haut protège la flamme inférieure, ce qui nuit au transfert de chaleur avec l'énergie radiante jusqu'à ce que le bois de chauffage soit occupé dans tout son volume.
Avec une porte complètement ouverte de l'alimentation en air primaire, la chaudière peut développer une puissance une fois et demie supérieure à sa puissance nominale, tandis que le temps de combustion de la cheminée est réduit. S'il s'avère nécessaire d'ajouter du bois de chauffage alors que le bois de chauffage n'est pas encore brûlé, des précautions doivent être prises. Le bois de chauffage ou tout autre combustible peut être jeté sur des charbons ardents en petites portions sans noyer la flamme.
Il est nécessaire d'éliminer les cendres du four car elles s'accumulent à travers 10-12 fours (selon l'état du bois de chauffage), avec un mode de combustion volumétrique, une petite couche de cendres de 1,5 à 2 cm améliore le fonctionnement de la chaudière, car Les écrans de cendres chauffent dans l'épaisseur du signet, accélérant le processus de chauffage du bois de chauffage et la puissance de la chaudière au mode nominal.
En parlant de fumée de cheminée, on peut dire qu'une épaisse fumée grise est un composant gazeux du combustible qui s'échappe dans l'air.
La fumée est constituée de gaz non brûlés libérés par chaque type de charbon et de bois lorsqu'ils sont chauffés. Chaque tonne de charbon contient 300 kg de gaz, et une tonne de bois contient plus de 700 kg de gaz! Ces gaz ne sont brûlés qu'à des températures de 400-500 ° C. À la bonne température du foyer, les gaz brûlent et la fumée se transforme en vapeurs presque transparentes. C'est la bonne combustion économique du charbon et du bois.
La méthode de combustion aérienne elle-même ne crée pas de nouveaux risques de sécurité pour la cuisson par rapport à l'utilisation classique des chaudières et des poêles, et réduit même quelque peu le problème des explosions de gaz ou des feux de cheminée. La méthode en elle-même n'est pas difficile; lorsque vous utilisez un équipement de chauffage, vous devez toujours être prudent et ne pas faire ce dont vous n'êtes pas sûr. Le principal risque de brûlage en hauteur est associé à une charge excessive de carburant.
Ne surchargez pas la chaudière avec du bois, une surcharge peut provoquer une combustion instable (pulsations) avec le dégagement de fumée dans les ouvertures d'alimentation en air, ce qui est inacceptable pendant le fonctionnement de la chaudière.
Ajustez le tirage de la cheminée. Lors de son réglage, il convient de garder à l'esprit qu'une diminution excessive du tirage peut entraîner la pénétration de fumées et de gaz de four dans la chaufferie, et un tirage trop élevé augmente le taux de combustion et le taux de passage des gaz dans la convection. partie de la chaudière, réduit l'efficacité et l'évacuation de la chaleur. Un tirage excessif peut également provoquer une combustion instable du bois (pulsations) avec dégagement de fumée dans les ouvertures d'alimentation en air, ce qui est inacceptable pendant le fonctionnement de la chaudière.
Brûler du charbon et du bois de manière économique n'est pas nouveau. Il s'agit de la création de conditions dans la chaudière, dans lesquelles les gaz combustibles ont la possibilité de brûler et des vapeurs presque transparentes devraient pénétrer dans la cheminée. L'organisation de la combustion par le haut est la réalisation de la manière la plus propre et la plus efficace de brûler du carburant.
Inconvénients importants des chaudières
Si vous visitez une boutique en ligne d'unités de chauffage et demandez combien coûtent les générateurs de chaleur à pyrolyse, vous verrez immédiatement leur principal inconvénient. Pas la chaudière russe la plus chère "Suvorov M" K-20 (20 kW) coûtera 1320 cu. Autrement dit, et l'ATMOS DC 20 GS, identique en puissance, est de 2950 cu. e) À titre de comparaison: le prix d'un appareil de chauffage traditionnel coûteux Buderus Logano S131-22 H est de 1010 $. e.
Désignons d'autres inconvénients de la gazéification des sources de chaleur:
- 2 chambres, revêtement en brique ou en céramique plus une chemise d'eau dans la partie inférieure du corps - les solutions de conception ci-dessus augmentent considérablement le poids et les dimensions des unités;
- exigences élevées en matière de qualité du carburant;
- un liquide de refroidissement avec une température de 80 ° C est rarement utilisé pour chauffer des maisons privées, ce qui signifie que vous ne pouvez pas vous passer d'un accumulateur de chaleur coûteux + éléments de tuyauterie;
- les pièces en céramique de la doublure ne durent pas éternellement - la buse peut se fissurer à cause de la surchauffe et devra être remplacée.
Je dois dire que les chaudières à pyrolyse attirent les artisans à domicile. Mais fabriquer une telle unité de vos propres mains est très difficile, vous avez besoin d'expérience et d'investissement dans l'achat de matériaux. Il ne sera pas possible de fabriquer un appareil de chauffage gratuitement. Beaucoup plus facile de souder une chaudière conventionnelle ou minière.
Noter. À en juger par les critiques des propriétaires des chaudières sur les forums thématiques, il est toujours possible d'utiliser du bois de chauffage brut. L'algorithme est le suivant: l'unité est fondue et réchauffée avec des bûches sèches, puis du bois humide est jeté. Mais la part d'un tel carburant ne doit pas dépasser 30%, sinon la suie et la suie disparaîtront. Écoutons l'avis de l'expert sur la vidéo:
Chaudières à combustible solide au bois
Les chaudières à bois sur le principe de la combustion de combustibles sont divisées en trois catégories:
Chaudières à combustible solide à combustion naturelle et naturelle
|
| Dans une chaudière à combustible solide avec un processus de combustion de combustible naturel conventionnel tout le signet du bois de chauffage brûle à la fois . |
Dans les chaudières traditionnelles à combustion naturelle, le processus naturel habituel de combustion du carburant se produit. De telles chaudières ont un dispositif simple, relativement peu coûteux, moins exigeant sur la qualité du combustible et pas difficile à entretenir.
La puissance de la chaudière peut être contrôlée en modifiant l'intensité de la combustion du combustible, mais dans une plage limitée de 60 à 100%. Pour ce faire, en fermant le registre, l'alimentation en air de la chaudière est réduite, ce qui réduit non seulement la puissance, mais aussi le rendement de la chaudière. L'efficacité maximale des chaudières à combustion classiques ne dépasse pas 80%.
Le plus large inconvénient - courte durée de combustion
une charge de carburant, généralement pas plus de 4 heures.
Conclusions et recommandations pour le choix
Il est logique de choisir des chaudières à pyrolyse parmi toutes les chaudières existantes dans cette situation:
- vous êtes prêt à payer pour l'efficacité et la conservation de l'environnement;
- le budget vous permet d'acheter un appareil de chauffage et un accumulateur de chaleur du volume requis;
- il y a suffisamment d'espace pour l'équipement dans la chaufferie;
- il est possible de récolter du bois de chauffage de haute qualité, d'acheter des briquettes ou de sécher du bois fraîchement coupé.
Le modèle de générateur de chaleur est sélectionné en termes de puissance et de fonctionnalité. Comment choisir la bonne source de chaleur au bois pour votre maison, lisez nos instructions.
Initialement, les chaudières domestiques à pyrolyse sont conçues pour installer un réservoir de stockage et utiliser un bon combustible. Il s'agit d'une pratique en Europe occidentale où les unités à combustible solide ne peuvent pas fonctionner sans réservoir tampon.
Nos revenus ne sont pas si élevés, c'est pourquoi les propriétaires économisent sur tout - équipement, carburant, mode de combustion. D'où la conclusion : pour le moment, les générateurs au gaz sont incompatibles avec les besoins et les coûts de la plupart des propriétaires, car ils ne pourront pas fonctionner correctement.
Chaudières à combustible solide avec alimentation en air secondaire du four
(Chaudières pseudo-pyrolyse)
Dans les chaudières conventionnelles avec un processus de combustion naturelle, afin de réguler la puissance, l'alimentation en air du four est réduite. Le manque d'air pour la combustion, comme dans les chaudières à pyrolyse, provoque l'apparition de gaz combustibles dans les gaz d'échappement, qui volent inutilement dans la cheminée. La consommation de carburant augmente et le rendement de la chaudière diminue.
|
| Dans une chaudière à combustible solide avec alimentation en air secondaire vers le four, le processus naturel habituel de combustion du combustible se produit - le signet entier du bois de chauffage brûle à la fois. L'apport d'air secondaire à la partie supérieure du four contribue à la combustion des gaz combustibles qui apparaissent lorsque l'alimentation en air du four est limitée. Le conduit d'air secondaire dans la porte supérieure est représenté par une flèche bleue. |
Pour augmenter l'efficacité des chaudières à combustible solide conventionnelles, les fabricants ont mis au point fournir en plus de l'air secondaire à la partie supérieure du four
et des gaz combustibles sont brûlés dans la chambre de combustion.
Pour de telles chaudières, le rendement augmente, mais la durée de combustion de la charge en combustible et autres les paramètres restent les mêmes que pour les chaudières traditionnelles.
Cependant, certains fabricants et vendeurs appellent ces chaudières également la pyrolyse. Un tel stratagème de marketing - des chaudières à pyrolyse bon marché, volez et achetez. Comme on dit, vous ne pouvez pas tricher - vous ne pouvez pas vendre.
Dans de vraies chaudières à pyrolyse
une augmentation de la durée de la combustion est due au fait que le processus de combustion ne se produit que dans la couche inférieure du bois de chauffage. Pour que la totalité de la tablette de carburant ne brûle pas,
le tirage dans la chambre de combustion est dirigé vers le bas ou sur le côté
de la zone de combustion. Le bois couve et la majeure partie de la chaleur est générée par la combustion des gaz.
Dans les chaudières traditionnelles avec alimentation en air secondaire vers le four
, la combustion de gaz n'augmente que légèrement l'apport de chaleur, et seulement pendant la période où la puissance de la chaudière est limitée par la coupure de l'alimentation en air. La principale quantité de chaleur générée est fournie par le processus naturel de combustion du bois.
Le tirage dans le four de la chaudière est dirigé vers le haut
par conséquent, la totalité de la languette de carburant est allumée.
En vente il y a des chaudières (russes, chinoises ...) avec un faux système pour fournir de l'air secondaire au four. Lors de l'achat d'une chaudière, ils vous montreront les détails du système, vous expliqueront son fonctionnement, mais en pratique, il n'y aura aucun effet, car les autres conditions de combustion du gaz ne sont pas remplies.
Méfiez-vous si le vendeur prétend que dans sa chaudière à "pyrolyse", il est possible de brûler un autre combustible en plus du bois de chauffage, et la postcombustion du gaz dans la chambre de combustion fonctionne avec du bois à forte humidité. Une grande partie de la vapeur d'eau est libérée du carburant humide, ce qui réduit la concentration et la température des gaz d'échappement et les gaz ne brûlent pas.
La vidéo montre un exemple de sans scrupules annoncer une pseudo chaudière à pyrolyse comme pyrolyse
.












