Les essais hydrauliques sont une série d'activités d'essais effectuées conformément aux dispositions des codes et règlements du bâtiment. Au cours des travaux, l'étanchéité, la résistance et le volume du système sont déterminés, la conformité (ou la non-conformité) des produits de tuyauterie aux exigences spécifiées dans la documentation réglementaire est établie, tous les défauts des systèmes sont révélés au étape de leur installation et de leur exploitation.

Quand un test hydraulique est-il nécessaire?
Les tests hydrauliques conformes aux règles SNiP sont obligatoires pour les réseaux internes d'incendie, les conduites d'alimentation en eau chaude et froide, les systèmes de chauffage, les canalisations de traitement dans les cas suivants :
- Lors de la fabrication de tuyaux. Les produits de tuyauterie eux-mêmes et les composants des systèmes de canalisation sont testés.
- Après l'installation des utilitaires.
- À divers stades d'exploitation à titre préventif ou après des réparations majeures.
Activités préparatoires
Avant de tester il faut :
- Divisez le pipeline en parties conventionnelles. Les communications privées à usage domestique sont généralement entièrement testées.
- Inspectez le système de tuyauterie.
- Consultez la documentation technique du système.
- Dans les endroits où la communication est conditionnellement divisée en parties, fixez les vannes.
- Connectez les presses et les remplisseuses aux communications installées temporairement.
- Déconnectez la zone testée du système général et de l'équipement, débranchez-la.
Quelles sont les caractéristiques des tests de pipeline?
La pleine pression n'est pas immédiatement appliquée au pipeline. Cela se fait lentement et en douceur. Sinon, un coup de bélier peut se produire, ce qui entraînera la formation d'un accident. La valeur de la pression est déterminée à l'aide d'une formule spéciale. Le plus souvent, il dépasse celui de travail de 25 pour cent.
Les manomètres et les canaux de mesure aident à contrôler la force avec laquelle l'eau est fournie. Les sauts dans les indicateurs sont autorisés lorsque des tests hydrauliques des pipelines sont effectués (ce qui est affiché dans SNiP). Cela est dû au fait que le liquide change parfois de température trop rapidement. Il est nécessaire de surveiller la façon dont les gaz s'accumulent dans les différentes parties du système pendant le remplissage de la cuve principale.
Ils essaient d'exclure la possibilité d'un accident au stade initial.
Lorsque le pipeline est plein, passez au temps de maintien. Pendant cette période, l'équipement fonctionne à haute pression. Mais pendant la procédure, il ne doit garder qu'un seul niveau. A la fin du test, la valeur de la pression est à nouveau réduite au minimum.
IMPORTANT! Aucune personne n'est autorisée à proximité des tuyaux pendant les tests.
Procédure d'hydrotest
Conformément aux normes, le contrôle est effectué dans un certain ordre:
- nettoyer le réseau;
- installation de robinets et de manomètres;
- assurer l'écoulement de l'eau;
- remplir la zone isolée avec de l'eau au niveau requis;
- marquage des pièces défectueuses du pipeline;
- réparation des problèmes identifiés;
- réinspection après les travaux de réparation ;
- déconnecter la zone inspectée de la communication temporaire, retirer l'eau du pipeline ;
- démontage d'instruments de mesure, robinets et prises.
Méthode d'hydrotest pour la résistance et l'étanchéité
Des conditions de test spécifiques sont établies, en fonction du matériau des éléments du système - fonte, acier, polymères.
Les activités de test de force comprennent les étapes suivantes :
- Une pression de test est créée dans le système et maintenue pendant 10 minutes. Si la pression de consigne chute de plus de 0,1 MPa, le test est arrêté.
- La pression est réduite aux valeurs de fonctionnement et maintenue par pompage d'eau.
- Le pipeline est inspecté à la recherche de défauts.
- Si des défauts sont détectés, ils sont corrigés et revérifiés.
- S'il n'y a aucun dommage, les tests sont répétés immédiatement pour confirmer les résultats du premier contrôle.
Conformément aux instructions énoncées dans la réglementation, la valeur de la pression d'essai lors des essais hydrauliques des canalisations est de 1,25 du maximum établi par la documentation technique de ce système de communication. Le temps d'hydrotest du pipeline pour la résistance ne doit pas dépasser 10 minutes.
Le contrôle des fuites s'effectue en plusieurs étapes :
- l'heure de début des tests est enregistrée ;
- le niveau d'eau initial est noté dans le bac de mesure ;
- déterminer la chute de pression dans le système.
Après avoir effectué le test d'étanchéité, calculez le volume d'eau supplémentaire dans la section testée de la canalisation.
Méthodes d'hydrocontrôle :
- Manomètre : à l'aide de manomètres qui indiquent toutes les pressions lors des contrôles.
- Hydrostatique. C'est la méthode la plus populaire pour établir immédiatement le comportement d'un système de tuyauterie sous des charges accrues.
Le besoin de tests pneumatiques
Il est effectué si le test hydraulique de la canalisation devient impossible pour les raisons suivantes.
- Le poids de l'eau est trop lourd et la tension de fonctionnement devient élevée.
- Manque d'eau sur place.
- Maintien d'une température négative près de l'air.
- Selon la réglementation, les tests supposent l'utilisation de gaz inertes ou d'air dans l'état approprié.
Le réseau d'air comprimé ou de compresseurs devient des auxiliaires indispensables dans de tels tests. Vous pouvez également utiliser des valeurs qui diffèrent de celles de la conception. Mais seulement dans des cas particuliers. Le strict respect de la documentation de projet préparée est obligatoire. Et des instructions qui sont liées à la sécurité.
IMPORTANT! Les tests pneumatiques ne sont pas effectués pour les canalisations aériennes en verre et en fonte, faolite. Les tests d'air et de gaz sont autorisés pour les objets qui ont des raccords en fonte. Une exception à cette application est la variété malléable du matériau. Auparavant, dans ce cas, des contrôles de résistance supplémentaires sont effectués.
Dans quel ordre les travaux sont-ils exécutés ?
Les essais de pipeline utilisant l'hydraulique sont effectués en plusieurs étapes.
- La première consiste à connecter une presse ou une pompe hydraulique.
- Le suivant, ils passent à l'installation de manomètres et au remplissage de la structure avec du liquide. Dans le même temps, les bouches d'aération doivent rester ouvertes. Cela vous permettra de contrôler le déplacement de l'air des tuyaux. Si de l'eau apparaît, il n'y a plus d'air.
- Les surfaces de travail sont soigneusement inspectées une fois que tout est rempli d'eau. Le long du périmètre, il ne doit pas y avoir le moindre défaut, fissure ou fuite dans les éléments de connexion.
- Après cela, ils procèdent à l'injection du niveau de pression requis. Lors de la réalisation de tests, la durée d'exposition est importante.
- Ensuite, la charge est progressivement réduite jusqu'à ce que les valeurs de fonctionnement soient atteintes. L'état du système peut alors être réexaminé.
- Le pipeline se débarrasse progressivement de l'eau en se drainant. L'équipement est retiré, séparé du système.
IMPORTANT! Pour les produits verriers, les charges d'essai sont maintenues pendant 20 minutes. Cinq minutes suffisent pour les autres types de matériaux, y compris les fils.
Les soudures et les coutures font l'objet d'une attention maximale lors des réessais. Pour le contrôle, prenez un marteau d'une masse d'un kilo et demi.Et ils le tapent sur toute la longueur, avec un retrait allant jusqu'à 15-20 millimètres.
Un marteau en bois pesant 0,8 kilogramme est utilisé pour travailler avec des pièces en alliages précieux. D'autres options de conception ne nécessitent pas de taraudage ; sous une telle influence, elles peuvent tout simplement s'effondrer.
S'il n'y a pas de chute de pression sur le manomètre pendant les tests, le test est considéré comme réussi. Dans ce cas, les fuites et la buée ne doivent pas être fixées dans les joints de bride, les presse-étoupes avec des joints soudés.
Le test hydraulique est répété si la fois précédente les résultats n'étaient pas satisfaisants.
Quel équipement est utilisé ?
L'installation d'essai hydraulique des canalisations comprend des robinets spéciaux par lesquels l'air est libéré lorsque l'appareil est rempli d'eau. De plus, il est nécessaire d'avoir:
- Bouchons pour vidanger complètement l'eau.
- Manomètre à raccorder au système principal.
L'essentiel lors de l'installation de tels éléments supplémentaires est de prendre en compte la possibilité d'effectuer des tests hydrauliques avant que les systèmes ne soient installés dans la position de conception.
Tests finaux avant la mise en service
Ces travaux ont aussi une certaine procédure.
- La pression monte. Il doit être égal à la performance calculée. Il est soutenu pendant deux heures. Ils passent au pompage d'eau après que le paramètre ait baissé de 0,02 MPa.
- Dans l'étape suivante, la pression monte au niveau dit de test. Cela doit être fait en moins de dix minutes. Et puis ils le soutiennent pendant 120 minutes.
Si des défauts sont détectés lors de ces inspections, ils sont éliminés dans les plus brefs délais. Ensuite, ils procèdent à des essais hydrauliques répétés, selon le programme complet. La canalisation est considérée comme prête à fonctionner uniquement si la fuite de fluide ne dépasse pas les valeurs nominales établies.
Lorsque des zones défectueuses apparaissent, ces dernières doivent être remplacées par de nouvelles. Il est permis d'utiliser uniquement des matériaux et des technologies sur la base desquels d'autres éléments des systèmes sont construits.


Les fonds des chambres sont obligatoirement restaurés si les tests sont positifs. Après cela, les pipelines passent par la tuyauterie. La chloration et le rinçage final des tuyaux ne sont effectués qu'après l'achèvement définitif des étapes précédentes.
Lorsque la rénovation est terminée, l'objet est mis en service comme nouvellement construit. Le remblayage des fosses devient également une étape qui a sa propre séquence d'actions.
- La section du tuyau qui a été ouverte plus tôt est remplie. Pour lesquelles des pelles spéciales sont utilisées, elles adhèrent à une distance de 30 centimètres au-dessus de l'équipement lui-même.
- Le sol est nivelé, compacté. Le travail est effectué uniquement manuellement.
- Le sol est rempli jusqu'à toute la hauteur de la tranchée. Assurez-vous de le bourrer couche par couche.
Des exigences particulières sont imposées aux essais des systèmes par lesquels passent des substances dangereuses et toxiques. Dans ce cas, la caractéristique la plus importante est l'étanchéité des canalisations. La chute de pression est examinée en parallèle avec d'autres indicateurs. Une vérification est requise pour tous les équipements connectés au système sur une base commune.
Les inspections des canalisations hydrauliques sont la responsabilité du personnel qualifié uniquement. Ils doivent être correctement instruits et posséder les compétences nécessaires.
Avec des inspections en temps opportun, la probabilité d'urgences diminue. Cela permet aux clients de réduire les coûts d'exploitation et de maintenance.
Vous ne pouvez pas vous passer d'un acte spécial lorsque les essais hydrauliques des canalisations sont terminés. Ce document contient toutes les informations nécessaires à la mise en service de l'unité. Y compris, ceux qui sont devenus membres de la commission spéciale participant à la mise en service sont décrits.
Rédaction d'un acte basé sur les résultats des essais hydrauliques de la canalisation
Après vérification du système de canalisation, un document est établi confirmant que les essais ont été effectués conformément à la documentation réglementaire et contenant un rapport sur le résultat du contrôle. Le document affiche :
- le nom du réseau de canalisations ;
- le nom de la société de contrôle ;
- les données sur les indicateurs de pression lors des essais et la durée de sa mise en œuvre ;
- données de chute de pression;
- énumération des problèmes identifiés ou indication de leur absence;
- la date du contrôle ;
- conclusions de la commission.
Essais de systèmes de chauffage
Les tests hydrauliques des communications de chauffage sont effectués immédiatement après leur installation. Le remplissage de la communication avec de l'eau se fait de bas en haut. Cela contribue à une évacuation en douceur de l'air du système. Il est important de savoir que le remplissage du système avec de l'eau ne doit pas se produire trop rapidement, sinon des poches d'air peuvent se produire.
Les contrôles de communication chauffage sont effectués en tenant compte du SNiP et font intervenir les indicateurs de pression suivants :
- pression de service standard de 100 kPa;
- pression d'essai d'une valeur de 300 kPa.
Un point important est considéré que le test des canalisations des systèmes de chauffage doit être effectué avec la chaudière déconnectée. Il est également nécessaire de déconnecter au préalable le vase d'expansion. Les mesures de vérification visant à identifier et à éliminer les défauts des systèmes de chauffage ne sont pas effectuées en hiver. Si le système de chauffage a fonctionné normalement pendant 3 mois, son fonctionnement peut être effectué sans contrôles hydrauliques. Une canalisation de chauffage fermée est vérifiée avant de remblayer la tranchée, ainsi qu'avant d'installer le matériau d'isolation thermique.
Remarque! L'équipement de mesure doit être vérifié impérativement avant le début des essais hydrauliques.
Conformément aux codes et réglementations du bâtiment, après toutes les étapes de test, le réseau de chauffage est lavé et un élément de connexion spécial est installé à son point le plus bas - un raccord (avec une section de 60 à 80 mm). Grâce à ce couplage, le fluide est retiré du système. Le service de chauffage est rincé plusieurs fois à l'eau froide.
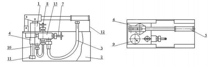
Bancs d'hydrotest
Bancs d'essai pour raccords de canalisation - équipement de recherche, qui comprend : lit, système hydraulique, instrumentation, dispositifs supplémentaires. Les tests sur banc permettent de déterminer avec une grande précision plusieurs caractéristiques à la fois. Il est impossible de réaliser de tels tests sur le terrain et avec ce niveau de précision.
Ces supports sont adaptés pour tester les raccords pour la résistance, l'étanchéité et la fonctionnalité des dispositifs. Ces complexes de test sont recherchés pour :
- inspection à l'arrivée des accessoires achetés ;
- contrôle intermédiaire et final dans les usines de fabrication des éléments de renforcement ;
- vérifications après les activités de réparation;
- surveillance périodique de la fonctionnalité des soupapes de sécurité.
Les tests de résistance et d'étanchéité du corps de vanne sont effectués sous une charge statique avec une pression accrue. Le milieu de travail du système hydraulique est l'eau ou l'huile.








