Systèmes de profilés à six chambres - Windows-tm.ru
| Deceuninck RUS - Inoutic Eforte matériau du profilé - PVC, largeur de montage cadre - 84 mm, nombre de chambres cadre / ouvrant - 6/6 Spécifications Inoutic Eforte |
| VEKA - Alphaline 90 matériau du profilé - PVC, largeur de montage cadre - 90 mm, nombre de chambres cadre / ouvrant - 6/6 Spécifications Alphaline 90 |
| Koemmerling - Koemmerling 88 plus matériau du profilé - PVC, largeur de montage du cadre - 88 mm, nombre de chambres cadre / ouvrant - 6/6 Spécifications Koemmerling 88 plus |
| WDS - SÉRIE WDS 8 matériau du profilé - PVC, largeur de montage du cadre - 82 mm, nombre de chambres cadre / ouvrant - 6/6 WDS 8 SERIES - Système de profilés en PVC pour la production de fenêtres aveugles, battantes et coulissantes et de blocs de balcon. Profondeur de montage 82 mm; L'épaisseur des murs extérieurs selon DSTU B V.2.7-130: 2007, classe B; Un joint en TPV gris à deux composants pour des performances optimales. Spécifications SÉRIE WDS 8 |
| KBE Fenstersysteme - Système 88 mm matériau du profilé - PVC, largeur de montage cadre - 88 mm, nombre de chambres cadre / ouvrant - 6/6 Spécifications Système 88 mm | |
| REHAU - Geneo matériau du profilé - PVC, largeur de montage cadre - 86 mm, nombre de chambres cadre / ouvrant - 6/6 Spécifications Geneo |
| WDS - SÉRIE WDS 7 matériau du profilé - PVC, largeur de montage du cadre - 70 mm, nombre de chambres cadre / ouvrant - 6/6 SÉRIE WDS 7 - Profilé PVC d'une profondeur d'assemblage de 70 mm. Permet la production de fenêtres aveugles, battantes, coulissantes, de blocs de balcon et de portes. Profondeur de montage 70 mm; L'épaisseur des murs extérieurs selon DSTU B V.2.7-130: 2007, classe B; Joint bicomposant gris TPV, ... Spécifications de la SÉRIE WDS 7 |
| aluplast GmbH - Matériau du profilé Ideal 6000 - PVC, largeur de montage du cadre - 80 mm, nombre de chambres cadre / ouvrant - 6/6 Spécifications Ideal 6000 | |
| Internova - INTERNOVA 6000 matériau du profilé - PVC, largeur de montage cadre - 80 mm, nombre de chambres cadre / ouvrant - 6/6 Spécifications INTERNOVA 6000 |
| Deceuninck RUS - Espace préféré matériau du profilé - PVC, largeur de montage cadre - 76 mm, nombre de chambres cadre / ouvrant - 6/6 Le système Favorit Space est recommandé pour la fabrication de fenêtres et de portes à usage résidentiel, public et industriel dans toutes les zones climatiques de la Russie. Six chambres, trois circuits d'étanchéité et une profondeur d'installation de 76 mm fournissent une résistance de transfert de chaleur de 0,87 m2 * 0С / W (avec amplificateur) et 0,94 m2 * 0С / W ... Spécifications Espace préféré |
| aluplast GmbH - Ideal 7000 matériau du profilé - PVC, largeur de montage cadre - 80 mm, nombre de chambres cadre / ouvrant - 6/5 Spécifications Idéal 7000 | |
okna-tm.ru
Profils REHAU populaires
REHAU Blitz - 3 chambres, largeur 60 mm
Le système de profilés REHAU Blitz contient 3 chambres à l'intérieur du profilé, a une profondeur d'installation de 60 mm et répond aux exigences modernes en matière d'isolation thermique et acoustique, de conception, de fiabilité et de durabilité.
Le profil REHAU Blitz est la célèbre qualité allemande et le design de REHAU à un prix attractif spécial!
Conception de profil mise à jour: une nouvelle combinaison de rayons et d'inclinaison étagée de la face de profil assure leur aspect caractéristique. La surface parfaitement plane et blanche comme neige du profilé confère à la fenêtre un aspect soigné et soigné.
- Profondeur de montage - 60 mm
- Nombre de caméras - 3 pcs.
- Épaisseur maximale d'une vitre - 32 mm
- Résistance au transfert de chaleur - 0,64 m2 • ° С / W
- Ouverture de lumière augmentée (+ 10% de lumière) - 116 mm (cadre + vantail)
- Isolation acoustique - jusqu'à la classe 4 (VDI 2719)
- Résistance à l'effraction - jusqu'à la classe 3
Deux circuits d'étanchéité deviendront une barrière fiable contre les courants d'air, l'humidité et la poussière, et la surface lisse des profilés ne gênera pas le client dans l'entretien quotidien des fenêtres.
Systèmes de profil | Profilé de fenêtre en PVC - 3, 5 et 6 chambres
En fait, le profil de la fenêtre est un cadre qui retient le vitrage.Les systèmes de profilés de fenêtre diffèrent par le matériau dans lequel ils sont fabriqués et par la structure interne. Les principaux matériaux à partir desquels les fenêtres modernes sont fabriquées sont le polychlorure de vinyle (PVC), le métal (profilé en aluminium) et le bois.


Aujourd'hui, les fenêtres en plastique sont fermement entrées dans nos vies. Le profilé de fenêtre en PVC se distingue par un haut niveau d'isolation thermique et phonique, une résistance à l'humidité et une variété de conceptions. Lors du choix des fenêtres à partir de ce profil, vous pouvez choisir différentes ferrures, la méthode d'ouverture de la structure, l'apparence et la couleur du profil, ainsi que la largeur du vitrage. Un taux élevé d'isolation thermique est assuré par la présence de chambres à air creuses à l'intérieur du profil du bloc de fenêtre. Le profilé PVC est durable, résistant aux facteurs externes, ne gonfle pas, ne se fissure pas et a un coût abordable. De nombreuses entreprises sont engagées dans la production de profilés en PVC. Les principales différences entre les systèmes de profilés sont la profondeur d'installation, l'épaisseur de la paroi extérieure et le nombre de chambres à air. Examinons de plus près les données et autres caractéristiques.


Profil PVC et ses caractéristiques:
- Nombre de caméras. À l'intérieur, le profil de la fenêtre est divisé par des cloisons longitudinales qui y forment les chambres à air. Il peut y avoir de 3 à 6 caméras de ce type. Les propriétés d'isolation thermique de la fenêtre dépendent du nombre de chambres. Par exemple, le profil de la 2ème chambre aura la plus faible isolation thermique et phonique, et le 6ème profil de chambre aura la plus élevée.
- Comment déterminer un profil à 3 ou 5 chambres?
Pour ce faire, il suffit de compter le nombre de cloisons en plastique sur le profil coupé comme indiqué sur la figure.
Le prix d'un profil à 3 chambres sera inférieur à celui d'un profil à 5 ou 6 chambres, et il ne s'agit pas seulement du nombre de chambres à air. Le profil 3 à 5 chambres peut également différer par son épaisseur. Habituellement, un profilé à 3 chambres à air a une profondeur d'installation de 58 à 60 mm, tandis qu'un profil à 5 chambres a une épaisseur de 70 mm.
- Largeur du profil (profondeur d'installation). Cette distance détermine l'épaisseur du cadre dans la section. Plus le profil est épais (plus la profondeur d'installation est grande), plus les économies de chaleur sont importantes. Ainsi, un profil à 5 chambres sera presque 1,5 fois plus chaud que, par exemple, un profil à 3 chambres. Les largeurs principales des profilés sont de 58, 60 et 70 mm. Plus le profil est large, plus le vitrage peut être installé dans la structure. Cela augmentera également la qualité du produit.
- Fenêtre à double vitrage La fenêtre à double vitrage de largeur maximale peut être installée dans un profil qui a une profondeur d'installation accrue. L'épaisseur de la vitre dépend de la température de la pièce en hiver. La largeur des vitrages isolants peut varier de 24 à 44 mm.


- Épaisseur de la paroi extérieure. Cet indicateur détermine l'appartenance du profil à une certaine classe. Il existe trois classes de profil: Classe A (l'indicateur doit mesurer au moins 3 mm), Classe B (à partir de 2,5 mm) et Classe C (où l'épaisseur de paroi n'est pas normalisée). La valeur optimale est considérée comme une épaisseur de paroi de 3 mm. Plus cette valeur est élevée, plus le système de profil sera coûteux.
- Renforcement. Pour rendre le profil rigide, il est en outre renforcé. Le renforcement assure la fiabilité pendant le fonctionnement de la structure finie. Pour le renforcement, de l'acier galvanisé d'une épaisseur d'au moins 1,5 mm est utilisé. Si la structure finie est grande, l'acier doit être d'une plus grande épaisseur. Il existe plusieurs types de renfort: en forme de L, en forme de U et fermés.


Les professionnels vous aideront à choisir le système de profil optimal qui correspond à vos besoins. Nos gestionnaires se feront un plaisir de vous conseiller sur toutes les questions dans les bureaux de vente ou par téléphone.
N'oubliez pas non plus que l'installation du produit fini doit être approuvée par des installateurs expérimentés. Une installation mal réalisée peut non seulement annuler tous les indicateurs de haut niveau, mais également gâcher la fenêtre finie, ce qui entraînera des coûts financiers imprévus.
Appelez dès que possible!
Pour connaître le coût exact de votre commande, appelez un mesureur ou obtenez des conseils, appelez le 991-56-67 ou remplissez le formulaire
oknanv.ru
REHAU Delight - 5 chambres, 70 mm de large
Le système de profilés REHAU Delight contient 5 chambres à l'intérieur du profilé, a une profondeur d'installation de 70 mm et répond aux exigences modernes en matière d'isolation thermique et acoustique, de conception, de fiabilité et de durabilité.
Le savoir-faire de la solution technique DELIGHT-Design vous permet de réduire la charpente de la charpente et du châssis et de laisser entrer 10% de lumière en plus dans la maison par rapport aux systèmes traditionnels. Une augmentation de la surface de remplissage translucide d'une structure de fenêtre en profilés Delight-Design ne compromet pas ses autres caractéristiques fonctionnelles.
La ceinture design se distingue par des proportions nobles, la rondeur des formes et le relief gracieux des parcloses décoratives.
- Profondeur de montage - 70 mm
- Nombre de caméras - 5 pcs.
- Épaisseur maximale d'une unité de verre - 40 mm
- Résistance au transfert de chaleur - 0,94 m2 • ° С / W
- Augmentation de l'ouverture de la lumière (+ 10% de lumière) - 111 mm (cadre + vantail)
- Isolation acoustique - jusqu'à 60 dB
- Anti-effraction - installation de dispositifs de verrouillage renforcés en raison du déplacement de l'axe de la rainure de l'appareil 13 mm
Protection fiable contre les courants d'air, la poussière et l'eau grâce à deux circuits d'étanchéité (joint de 7/8 mm de recouvrement extérieur / intérieur)
Quelle est la configuration optimale de la fenêtre
Le remplacement des fenêtres lors de la rénovation de l'appartement se fait assez souvent et il est important que les propriétaires choisissent non seulement un design visuellement beau, mais aussi de commander correctement la configuration du bloc de fenêtre, c'est-à-dire une combinaison des caractéristiques du profil et du fenêtre à double vitrage. Voyons comment la configuration optimale de la fenêtre pour une pièce particulière est déterminée, ce qui aidera à économiser de l'argent lors de l'achat.
Système de profil
Les fenêtres en plastique et métal-plastique ont des caractéristiques de profil similaires, mais il existe également des différences. Ainsi, le profilé PVC est entièrement en plastique, le cadre métal-plastique a une base en aluminium avec l'utilisation de plastique pour la décoration de surface. La deuxième structure est plus durable et ne nécessite pas de renforcement pour éviter la déformation due au vent, et le profil en PVC doit être en outre renforcé avec une tige de renforcement. Cet élément doit être dans la construction de toute fenêtre en PVC; il court à l'intérieur du bloc sur tout le périmètre.
Lors du choix de la configuration optimale, il est important de faire attention au nombre de chambres profilées, car le niveau d'isolation thermique du bloc et le degré de protection de la pièce contre le bruit en dépendent largement. Selon le nombre de chambres, le système de profilés est classé en profils 2-3-4-5 et 6 chambres. Avec une augmentation du nombre de caméras, non seulement les caractéristiques de l'ensemble du bloc de fenêtre augmentent, mais aussi son prix.Par conséquent, pour les pièces secondaires de la maison, un profil à 4 chambres en plastique ou métal-plastique est suffisant.
Pour la chambre et la chambre de l'enfant, vous pouvez choisir un système plus puissant, composé de 5 à 6 compartiments internes. La différence de prix ici sera à moins de 20% du coût de la fenêtre, il y a donc de bonnes perspectives d'économies, d'autant plus qu'en cuisine (par exemple) les caractéristiques d'un profilé puissant à 6 chambres sont difficiles à revendiquer.
Unité de verre: type de système et types de verre
Une unité de verre peut également être constituée d'un nombre différent de compartiments, alors qu'ils peuvent contenir un vide ou un gaz inerte. La configuration avec 4 chambres profilées et une fenêtre à double vitrage est idéale pour la plupart des pièces de l'appartement, mais si vous avez besoin d'améliorer l'effet de l'isolation thermique, vous pouvez choisir un ensemble avec une pulvérisation spéciale d'économie d'énergie sur le verre. En général, une unité de verre peut contenir les types de verre suivants:
- - Économie d'énergie,
- - Laminé,
- - Trempé,
- - Normal.
Le verre à économie d'énergie ne diffère pas par l'épaisseur ou la composition spéciale du matériau, mais en raison du dépôt d'ions argent, il est capable de réfléchir les vagues de chaleur de la pièce, tout en laissant passer la quantité nécessaire de rayonnement ultraviolet solaire. Le verre feuilleté ou triplex se compose de plusieurs verres collés entre eux. Ses fragments ne se dispersent pas lors de l'impact, et un tel matériau dans la configuration de la fenêtre augmente les caractéristiques d'isolation acoustique de la structure.Le verre trempé (à ne pas confondre avec le verre pare-balles) a une résistance accrue, mais il n'est pas nécessaire pour éviter de se briser si des hooligans lui jettent une pierre. Le verre trempé est utilisé dans des conditions de forte charge de vent sur les étages supérieurs des immeubles de grande hauteur; ce matériau n'est pas utilisé dans les logements ordinaires.
Règles de configuration
Habituellement, la configuration de l'unité de fenêtre est sélectionnée selon des règles simples - plus le profil est puissant, plus il est possible d'utiliser de caméras dans l'unité de verre et plus les exigences de la pièce sont élevées, plus les caractéristiques d'isolation thermique de la fenêtre sont fortes. nécessaire pour protéger la pièce. En choisissant la configuration de fenêtre optimale, vous pouvez économiser - un, et cela n'aggravera pas les conditions de vie dans l'appartement - deux.
stroyremontiruy.ru
Plast-Market Kazan »Profil à 6 chambres
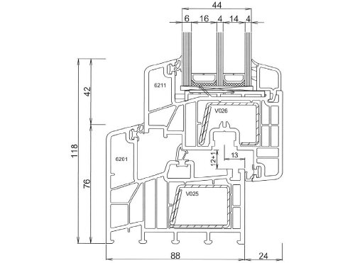
Ce profilé de haute qualité est conçu pour répondre aux exigences des régions les plus septentrionales, les plus exigeantes en matière d'économie de chaleur.Le système BRUSBOX 70-6 est la dernière réalisation dans le développement de systèmes de profilés idéaux. Les systèmes de haute technologie de cette série ont une profondeur d'installation accrue de la boîte (70 mm) et le nombre maximal possible de chambres pour une épaisseur donnée - six, grâce auxquelles le système BRUSBOX 70-6 offre une isolation thermique et phonique accrue des structures de fenêtres et est un leader dans son segment en termes de caractéristiques pertinentes.
Caractéristiques techniques des profilés du système "BRUSBOX 70-6":
- largeur constructive - 70 mm.
- nombre de chambres - 6 pcs.
- joint à double circuit
- chevauchement du joint - 8 mm.
- l'espace du vestibule est de 3 mm.
- faux jeu - 12 mm.
- déplacement de l'axe du dispositif de verrouillage - 13 mm.
- hauteur de chevauchement - 20 mm.
- hauteur du cordon de vitrage - 18 mm.
- épaisseur maximale de remplissage - 40 mm.
Composition du système:
- Profil de caisson d'une hauteur optique de 64 mm. et une largeur de 70 mm.
- Profil de meneau / traverse d'une hauteur optique de 86 mm. et une largeur de 70 mm.
- Profil de vitrage avec joint coextrudé - 3 types, avec une hauteur optique de 18 mm. et différentes largeurs.
- Profil d'ouvrant d'une largeur optique de 80 mm. et une largeur de 70 mm.
- Profil de raccordement d'une hauteur optique de 3 mm. et une largeur de 70 mm.
- Profil de raccordement d'une hauteur optique de 65 mm. et une largeur de 70 mm.
- Profil de support avec hauteur optique - 30 mm.
- Profils supplémentaires d'une largeur de 70 mm. et hauteurs optiques - 20, 40, 45 et 100 mm.
- Profilés de baie vitrée: Tuyau d'un diamètre de 54 mm et profilé de baie vitrée d'une hauteur optique de 40 mm. et une largeur de 70 mm B.
plastm.com
Profilé 6 chambres REHAU largeur 80 mm
Le système de profilés REHAU Intelio contient 6 chambres à l'intérieur du profilé, a une profondeur d'installation de 80 mm et répond aux exigences modernes en matière d'isolation thermique et acoustique, de conception, de fiabilité et de durabilité. Le système a déjà reçu le titre tacite de profil REHAU "le plus silencieux" pour le plus haut niveau d'isolation acoustique.
Le système de fenêtres INTELIO 80 sera également une excellente solution pour les appartements de ville avec fenêtres panoramiques, d'autant plus que la résistance au vent et l'étanchéité à l'eau du système atteint la classe A. au premier ou au vingt-cinquième étage.
Les fenêtres INTELIO 80 réduiront les coûts de chauffage et, ce qui est particulièrement important, maintiendront un équilibre de température favorable à l'intérieur de la pièce avec de grandes surfaces vitrées. Ils souligneront favorablement l'élégance du bâtiment, mettront en valeur votre maison bien-aimée entre autres et émerveilleront par leur durabilité.
- Profondeur de montage - 80 mm
- Nombre de chambres - 6 pcs.
- Épaisseur maximale d'une vitre - 52 mm
- Résistance au transfert de chaleur - 0,98 m2 ° С / W
- Résistance au vent - jusqu'à la classe A
- Isolation acoustique - jusqu'à la classe A
- Perméabilité à l'eau - jusqu'à la classe A
- Durabilité du profil - au moins 60 ans conventionnels
INTELIO est une nouveauté de REHAU, qui n'a pas d'analogues dans sa catégorie en termes de niveau de bruit et d'isolation thermique.
Blitz 60 3 chambres, 60 mm Grazio 70 5 chambres, 70 mm Delight 70 5 chambres, 70 mm fenêtres REHAU directement de l'usine
Plus de photos
Véritable qualité allemande REHAU
Aujourd'hui, REHAU est prêt à vous proposer une large gamme de systèmes de profilés de fenêtres: du système classique à trois chambres EURO-Design ou BLITZ au système unique GENEO, qui intègre toutes les caractéristiques les plus importantes des solutions de fenêtres existantes sur le marché.
Le programme est complété par deux systèmes pour la fabrication de portes d'entrée - les systèmes de profilés REHAU 60 mm et 70 mm, le plus grand choix de profilés supplémentaires sur le marché russe.
Les huit systèmes de profilés les plus populaires produits par REHAU:
- Blitz 3 chambres (60 mm), Euro (60 mm) et Sib (70 mm)
- 5 chambres Grazio (70 mm), Delight (70 mm) et Brilliant (70 mm)
- Intelio à 6 chambres (80 mm) et Geneo (80 mm)
En raison de la variété des formes et des designs décoratifs, les fenêtres des systèmes de profilés REHAU s'intégreront parfaitement dans les intérieurs de styles variés et deviendront une véritable décoration de la maison, et la technologie sans plomb utilisée dans la production garantit la sécurité environnementale pour vous et vos proches. .
AUSTRIAN WINDOWS :: Comment choisir une fenêtre en plastique
Dans chaque fenêtre : joint sans entretien (Allemagne) et ferrures à revêtement unique (Autriche)
Comment choisir les bonnes fenêtres est une question qui, tôt ou tard, est posée par chaque propriétaire ou hôtesse. Profilé, fenêtres à double vitrage, ferrures, étanchéité, installation - c'est ce qui détermine la beauté et la qualité de votre nouvelle fenêtre. Le profil en plastique qui est le meilleur dépend de ses caractéristiques techniques, celui qui est de classe A, avec une épaisseur de paroi extérieure de 3 mm et plus, celui dans lequel il y a plus de 3 chambres. Plus il y a de caméras dans le profil, plus la fenêtre est chaude.
Quel est le meilleur système de profilés SALAMANDER se distingue parmi tous les systèmes par rapport au pays de production - l'un des rares fabriqués en Allemagne. Une qualité allemande irréprochable et l'utilisation des meilleures matières premières rendent les fenêtres du profil Salamander parfaitement blanches et brillantes. Sa surface a une résistance accrue et une résistance aux rayures.
Mais tout le monde ne se rend pas compte que la largeur et la qualité du vitrage sont tout aussi importantes. Dans une fenêtre constituée d'un profilé d'une largeur de 58 à 60 mm (profil à trois chambres), vous pouvez installer une fenêtre à double vitrage d'une largeur maximale de 32 mm. Autrement dit, 3 verres de 4 mm d'épaisseur et 2 chambres à air de 10 mm chacune. Une telle fenêtre est considérée comme la solution la plus simple et la moins chère pour les conditions météorologiques russes.
Profil à cinq chambres, largeur 70 mm Dans une fenêtre d'un profil plus large que 70 mm (profil à cinq chambres), vous pouvez installer une vitre plus large - jusqu'à 40 mm. Autrement dit, 3 verres d'une épaisseur de 4 à 6 mm avec différentes options pour les chambres à air. Une telle fenêtre est considérée comme la meilleure solution pour les locaux du centre de la Russie.
Profilé à six chambres, largeur 92 mm Dans une fenêtre d'un profil plus large que 90 mm (profil à six chambres), vous pouvez installer une fenêtre à double vitrage de 52 mm ou 60 mm (fenêtre à double vitrage à trois chambres avec quatre verres) .
La qualité du verre affecte directement ses propriétés de consommation, le verre de qualité inférieure au grade M1 contient généralement des matières premières de mauvaise qualité, et il est fabriqué avec du matériel bon marché, présente des irrégularités et des bulles. Un tel verre est plus fragile et plus fin.
Il est important de comprendre pourquoi une personne installe de nouvelles fenêtres. S'il est nécessaire de s'isoler du bruit, nous installons une vitre insonorisante et sélectionnons un profil en fonction du niveau de bruit. Si la maison est froide avec de vieilles fenêtres et que la principale raison du remplacement est une mauvaise isolation thermique, vous devez sélectionner un verre avec un revêtement économe en énergie, une largeur et un profil de vitrage appropriés. Il peut y avoir de nombreuses raisons de remplacer une fenêtre, sur la base d'elles, nous sélectionnons la meilleure option pour chaque client. Par conséquent, il n'est certainement pas si facile de répondre à la question de savoir quelles fenêtres en plastique sont meilleures à installer qu'à première vue.
www.a-okna.com










