Si vous accordez suffisamment d'attention au confort de la maison, vous conviendrez probablement que la qualité de l'air doit passer en premier. L'air frais est bon pour votre santé et votre réflexion. Ce n'est pas dommage d'inviter des invités dans une pièce qui sent bon. Aérer chaque pièce dix fois par jour n'est pas une tâche facile, n'est-ce pas?
Tout dépend du choix du ventilateur et, tout d'abord, de sa pression. Mais avant de pouvoir déterminer la pression du ventilateur, vous devez vous familiariser avec certains des paramètres physiques. Lisez à leur sujet dans notre article.
Grâce à notre matériel, vous étudierez les formules, apprendrez les types de pression dans le système de ventilation. Nous vous avons fourni des informations sur la tête totale du ventilateur et deux façons de la mesurer. En conséquence, vous pourrez mesurer vous-même tous les paramètres.
Pression du système de ventilation
Pour que la ventilation soit efficace, la pression du ventilateur doit être correctement sélectionnée. Il existe deux options pour mesurer automatiquement la pression. La première méthode est directe, dans laquelle la pression est mesurée à différents endroits. La deuxième option consiste à calculer 2 types de pression sur 3 et à en tirer une valeur inconnue.
La pression (également - la tête) est statique, dynamique (haute vitesse) et pleine. Selon ce dernier indicateur, il existe trois catégories de fans.
Le premier comprend des dispositifs avec une tête <1 kPa, le second - 1-3 kPa et plus, le troisième - plus de 3-12 kPa et plus. Dans les bâtiments résidentiels, des dispositifs des première et deuxième catégories sont utilisés.

Caractéristiques aérodynamiques des ventilateurs axiaux sur le graphique: Pv - pression totale, N - puissance, Q - débit d'air, ƞ - rendement, u - vitesse, n - fréquence de rotation
Dans la documentation technique du ventilateur, les paramètres aérodynamiques sont généralement indiqués, y compris la pression totale et statique à une certaine capacité. Dans la pratique, les paramètres «d'usine» et réels ne coïncident souvent pas, et cela est dû aux caractéristiques de conception des systèmes de ventilation.
Il existe des normes internationales et nationales visant à améliorer la précision des mesures en laboratoire.
En Russie, les méthodes A et C sont généralement utilisées, dans lesquelles la pression de l'air après le ventilateur est déterminée indirectement, en fonction de la puissance installée. Dans différentes techniques, la zone de sortie comprend ou n'inclut pas le manchon de roue.
Formules de calcul de la tête de ventilateur
La tête est le rapport des forces agissantes et de la zone vers laquelle elles sont dirigées. Dans le cas d'un conduit de ventilation, on parle d'air et de section.
L'écoulement du canal est irrégulier et ne s'écoule pas perpendiculairement à la section transversale. Il ne sera pas possible de connaître la tête exacte à partir d'une mesure, vous devrez rechercher la valeur moyenne sur plusieurs points. Cela doit être fait à la fois pour l'entrée et la sortie de l'appareil de ventilation.


Les ventilateurs axiaux sont utilisés séparément et dans les conduits d'air, ils fonctionnent efficacement là où il est nécessaire de transférer de grandes masses d'air à une pression relativement basse
La pression totale du ventilateur est déterminée par la formule Pп = Pп (sortie) - Pп (entrée)où:
- Pп (out) - pression totale à la sortie de l'appareil;
- Pп (in.) - pression totale à l'entrée de l'appareil.
Pour la pression statique du ventilateur, la formule diffère légèrement.
Il s'écrit Pst = Pst (out) - Pp (in), où:
- Рst (out) - pression statique à la sortie de l'appareil;
- Pп (in.) - pression totale à l'entrée de l'appareil.
La tête statique ne reflète pas la quantité d'énergie requise pour la transférer au système, mais sert de paramètre supplémentaire par lequel vous pouvez connaître la pression totale. Ce dernier indicateur est le critère principal lors du choix d'un ventilateur: à la fois domestique et industriel. La baisse de la charge totale reflète la perte d'énergie dans le système.
La pression statique dans le conduit de ventilation lui-même est obtenue à partir de la différence de pression statique à l'entrée et à la sortie de la ventilation: Pst = Pst 0 - Pst 1... C'est un paramètre mineur.


Les concepteurs fournissent des paramètres avec peu ou pas de colmatage à l'esprit: l'image montre l'écart de pression statique du même ventilateur dans différents réseaux de ventilation
Le choix correct d'un appareil de ventilation comprend les nuances suivantes:
- calcul de la consommation d'air dans le système (m³ / s);
- sélection d'un appareil sur la base d'un tel calcul;
- détermination de la vitesse de sortie du ventilateur sélectionné (m / s);
- calcul du dispositif Pp;
- mesure de la tête statique et dynamique pour comparaison avec la tête totale.
Pour calculer les points de mesure de la pression, ils sont guidés par le diamètre hydraulique du conduit d'air. Il est déterminé par la formule: D = 4F / P... F est la section transversale du tuyau et P est son périmètre. La distance de localisation du point de mesure à l'entrée et à la sortie est mesurée avec le nombre D.
Comment calculer la pression de ventilation?
La hauteur totale d'entrée est mesurée dans la section transversale du conduit de ventilation, situé à une distance de deux diamètres de conduit hydraulique (2D). Idéalement, il devrait y avoir un morceau droit de conduit d'une longueur de 4D et d'un débit non perturbé devant le site de mesure.
En pratique, les conditions ci-dessus sont rares, puis un nid d'abeille est installé devant l'endroit souhaité, ce qui redresse le flux d'air.
Ensuite, un récepteur de pression totale est introduit dans le système de ventilation: en plusieurs points de la section tour à tour - au moins 3. Le résultat moyen est calculé à partir des valeurs obtenues. Pour les ventilateurs à entrée libre, l'entrée Pp correspond à la pression ambiante, et la surpression dans ce cas est égale à zéro.


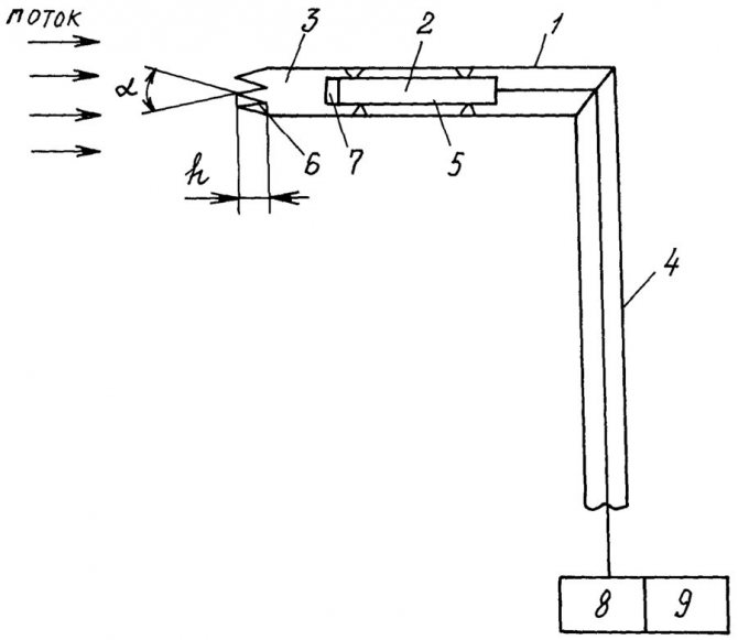
Schéma du récepteur de pression totale: 1 - tube récepteur, 2 - transducteur de pression, 3 - chambre de freinage, 4 - support, 5 - canal annulaire, 6 - bord d'attaque, 7 - grille d'entrée, 8 - normalisateur, 9 - enregistreur de signal de sortie , α - angle aux sommets, h - profondeur des vallées
Si vous mesurez un fort débit d'air, la pression doit déterminer la vitesse, puis la comparer à la taille de la section transversale. Plus la vitesse par unité de surface est élevée et plus la surface elle-même est grande, plus le ventilateur est efficace.
La pleine pression à la sortie est un concept complexe. Le flux sortant a une structure non uniforme, qui dépend également du mode de fonctionnement et du type d'appareil. L'air de sortie présente des zones de mouvement de retour, ce qui complique le calcul de la pression et de la vitesse.
Il ne sera pas possible d'établir une régularité pour le moment de l'occurrence d'un tel mouvement. L'inhomogénéité du flux atteint 7-10 D, mais l'indicateur peut être réduit en rectifiant les grilles.


Le tube Prandtl est une version améliorée du tube de Pitot: les récepteurs sont produits en 2 versions - pour des vitesses inférieures et supérieures à 5 m / s
Parfois, à la sortie du dispositif de ventilation, il y a un coude rotatif ou un diffuseur détachable. Dans ce cas, le flux sera encore plus inhomogène.
La tête est ensuite mesurée selon la méthode suivante:
- La première section est sélectionnée derrière le ventilateur et balayée avec une sonde. En plusieurs points, la tête totale moyenne et la productivité sont mesurées. Cette dernière est ensuite comparée aux performances d'entrée.
- En outre, une section supplémentaire est sélectionnée - sur la section droite la plus proche après la sortie du dispositif de ventilation. À partir du début d'un tel fragment, 4-6 D sont mesurés, et si la longueur de la section est inférieure, une section est choisie au point le plus éloigné. Ensuite, prenez la sonde et déterminez la productivité et la tête totale moyenne.
Les pertes calculées dans la section après le ventilateur sont soustraites de la pression totale moyenne à la section supplémentaire. La pression totale de sortie est obtenue.
Ensuite, les performances sont comparées à l'entrée, ainsi qu'au premier et aux sections supplémentaires à la sortie. L'indicateur d'entrée doit être considéré comme correct et l'une des sorties doit être considérée comme ayant une valeur plus proche.
Il se peut qu'il n'y ait pas de segment de ligne droite de la longueur requise. Ensuite, choisissez une section transversale qui divise la zone à mesurer en parties avec un rapport de 3 à 1. Plus près du ventilateur doit être la plus grande de ces parties. Les mesures ne doivent pas être effectuées dans les diaphragmes, registres, sorties et autres connexions avec perturbation de l'air.


Les chutes de pression peuvent être enregistrées par des manomètres, des manomètres selon GOST 2405-88 et des manomètres différentiels selon GOST 18140-84 avec une classe de précision de 0,5-1,0
Dans le cas des ventilateurs de toit, Pp est mesuré uniquement à l'entrée et la statique est déterminée à la sortie. Le débit à grande vitesse après le dispositif de ventilation est presque complètement perdu.
Nous vous recommandons également de lire notre matériel sur le choix des tuyaux pour la ventilation.
Concept de pression hydrostatique
Le site contient plusieurs articles sur les bases de l'hydraulique. Ce matériel s'adresse à toutes les personnes qui souhaitent comprendre comment fonctionnent physiquement les réseaux d'adduction d'eau et d'assainissement. Cet article est le premier de cette série.
Il existe plusieurs concepts clés en hydraulique. La place centrale est donnée au concept d'hydrostatique pression à la pointe du liquide. Il est étroitement lié au concept pression liquide, qui sera discuté un peu plus tard.
L'une des définitions répandues de la pression hydrostatique ressemble à ceci: "La pression hydrostatique en un point dans un liquide est la contrainte de compression normale qui se produit dans un liquide au repos sous l'action des forces de surface et de masse."
Le stress est un concept couramment utilisé dans le cours de résistance des matériaux. L'idée est la suivante. En physique, nous savons qu'il existe un concept de force. La force est une grandeur vectorielle qui caractérise l'impact. Banque d'images - Cela signifie qu'il est représenté comme un vecteur, c'est-à-dire flèches dans un espace tridimensionnel. Cette force peut être appliquée en un seul point (force concentrée), ou sur la surface (surface), ou sur tout le corps (on dit masse / volumétrique). Les forces de surface et de masse sont réparties. Seuls ceux-ci peuvent agir sur un liquide, car il a une fonction de fluidité (il se déforme facilement à tout impact).
Une force est appliquée sur une surface avec une zone spécifique. En chaque point de cette surface, une tension se produira égale au rapport de la force à la surface, c'est le concept de pression en physique.
Dans le système SI, l'unité de mesure de la force est Newton [N], la surface est le mètre carré [m2].
Rapport force / surface:
1 N / 1 m2 = 1 Pa (Pascal).
Pascal est l'unité principale de mesure de la pression, mais loin d'être la seule. Ci-dessous, la conversion des unités de pression de l'une à l'autre >>>
100 000 Pa = 0,1 MPa = 100 kPa ≈ 1 atm = 1 bar = 1 kgf / cm2 = 14,5 psi ≈ 750 mm Hg ≡ 750 Torr ≈ 10 m colonne d'eau (m)
En outre, un point fondamentalement important est ce que l'on appelle l'échelle de pression ou les types de pressions. La figure ci-dessous montre comment des concepts tels que la pression absolue, le vide absolu, le vide partiel, la pression relative ou la pression relative sont interreliés.


Pression absolue - pression, comptée à partir de zéro.
Vide absolu - une situation dans laquelle rien n'agit sur le point considéré, c'est-à-dire pression égale à 0 Pa.
Pression atmosphérique - pression égale à 1 atmosphère. Le rapport du poids (mg) de la colonne d'air sus-jacente à sa section transversale. La pression atmosphérique dépend du lieu, de l'heure de la journée. C'est l'un des paramètres météorologiques. Dans les disciplines de l'ingénierie appliquée, tout est généralement compté précisément à partir de la pression atmosphérique et non du vide absolu.
Vide partiel (ou ils disent souvent - "Valeur de vide", « sous pression" ou alors "Surpression négative" ). Vide partiel - manque de pression à la pression atmosphérique. La valeur de vide maximale possible sur Terre n'est qu'une atmosphère (~ 10 mWC). Cela signifie que vous ne pourrez pas boire d'eau avec une paille à une distance de 11 m, si vous le souhaitez.
* en fait, avec un diamètre normal pour les pailles pour boissons (~ 5-6 mm), cette valeur sera bien moindre en raison de la résistance hydraulique. Mais même à travers un tuyau épais, vous ne pourrez pas boire d'eau à une profondeur de 11 m.
Si vous vous remplacez par une pompe et le tube avec sa canalisation d'aspiration, la situation ne changera pas fondamentalement. Par conséquent, l'eau des puits est généralement extraite avec des pompes de forage, qui sont abaissées directement dans l'eau, et n'essayez pas d'aspirer l'eau de la surface de la terre.


Surpression (ou aussi appelé manométrique) - surpression par rapport à la pression atmosphérique.
Donnons l'exemple suivant. Cette photo (à droite) montre la mesure de la pression dans un pneu de voiture à l'aide d'un appareil. manomètre.
Le manomètre indique exactement la surpression. Cette photographie montre que la surpression dans ce pneu est d'environ 1,9 bar, soit 1,9 atm, c'est-à-dire 190 000 Pa. La pression absolue dans ce pneu est alors de 290 000 Pa. Si nous percons le pneu, l'air commencera à sortir sous la différence de pression jusqu'à ce que la pression à l'intérieur et à l'extérieur du pneu devienne la même, atmosphérique. Ensuite, la surpression dans le pneu sera de 0.
Voyons maintenant comment déterminer la pression dans un liquide dans un certain volume. Disons que nous envisageons un baril d'eau ouvert.
A la surface de l'eau dans le baril, la pression atmosphérique est établie (notée par une petite lettre p avec l'indice "atm"). Respectivement, excès la pression de surface est de 0 Pa. Considérons maintenant la pression au point X... Ce point est approfondi par rapport à la surface de l'eau à distance h, et en raison de la colonne de liquide au-dessus de ce point, la pression y sera supérieure à celle de la surface.
Pression ponctuelle X (px) sera défini comme la pression à la surface du liquide + la pression créée par la colonne de liquide au-dessus du point. On l'appelle l'équation hydrostatique de base.


Pour des calculs approximatifs, g = 10 m / s2 peut être pris. La densité de l'eau dépend de la température, mais pour des calculs approximatifs, 1000 kg / m3 peuvent être pris.
Avec une profondeur de h 2 m, la pression absolue au point X sera:
100 000 Pa + 1000 10 2 Pa = 100 000 Pa + 20 000 Pa = 120 000 Pa = 1,2 atm.
Une surpression signifie moins la pression atmosphérique: 120 000 - 100 000 = 20 000 Pa = 0,2 atm.
Ainsi, dans excès pression ponctuelle X est déterminée par la hauteur de la colonne de liquide au-dessus de ce point. La forme du conteneur n'est en aucun cas affectée. Si nous considérons une piscine géante d'une profondeur de 2 m et un tuyau d'une hauteur de 3 m, la pression au fond du tube sera supérieure à celle au fond de la piscine.
(Pression absolue au fond de la piscine: 100000 + 1000 * 9.81 * 2 =
Absolu
La hauteur d'une colonne de liquide détermine la pression créée par cette colonne de liquide.
psec = ρgh. De cette façon, la pression peut être exprimée en unités de longueur (hauteur):
h = p / ρg
Par exemple, considérons la pression générée par une colonne de mercure de 750 mm de haut:
p = ρgh = 13600 · 10 · 0,75 = 102 000 Pa ≈ 100 000 Pa, ce qui nous renvoie aux unités de pression évoquées précédemment.
Ceux. 750 mm Hg = 100 000 Pa.
Par le même principe, il s'avère qu'une pression de 10 mètres d'eau équivaut à 100000 Pa:
1000 10 10 = 100 000 Pa.
L'expression de la pression en mètres de colonne d'eau est fondamentalement importante pour l'approvisionnement en eau, l'évacuation des eaux usées, ainsi que les calculs hydrauliques pour le chauffage, les calculs hydrauliques, etc.
Voyons maintenant la pression dans les pipelines. Que signifie physiquement la pression mesurée par le capitaine à un certain point (X) de la canalisation? Le manomètre dans ce cas indique 2 kgf / cm² (2 atm). C'est la surpression dans la canalisation, elle équivaut à 20 mètres de colonne d'eau. En d'autres termes, si un tuyau vertical est connecté au tuyau, l'eau qu'il contient augmentera de la quantité de surpression au point X, c'est-à-dire. à une hauteur de 20 m. Un tuyau vertical en communication avec l'atmosphère (c.-à-d.open) sont appelés piézomètre.


La tâche principale du système d'alimentation en eau est de s'assurer qu'au point requis, l'eau présente la surpression requise. Par exemple, selon le document réglementaire:
Détourage du site du système "Consultant +"
[ Décret du gouvernement de la Fédération de Russie du 05/06/2011 N 354 (tel que modifié le 13/07/2019) "Sur la fourniture de services publics aux propriétaires et aux utilisateurs de locaux dans les immeubles à appartements et les immeubles résidentiels" (avec le " Règles relatives à la fourniture de services publics aux propriétaires et aux utilisateurs de locaux dans les immeubles à appartements et les maisons d'habitation ") ] >>> la pression au point de soutirage doit être d'au moins 3 mWC (0,03 MPa)


Le point de prise peut être compris comme le point de connexion du mélangeur (point 1)... Ce point est situé à environ 1 m du sol, au même endroit que la connexion à la contremarche de l'appartement lui-même (point 2) ... Autrement dit, la pression à ces points est approximativement la même avec les robinets fermés (l'eau ne bouge pas!). La pression est régulée précisément à ces points et, comme indiqué ci-dessus, doit être au moins 3 à 6 m de colonne d'eau
Cependant, il convient de noter que la valeur normative admissible de 3 mWC n'est pas grand-chose, car les équipements de plomberie modernes peuvent nécessiter une pression allant jusqu'à 13 mWC au point de raccordement pour un fonctionnement normal (fournissant une quantité d'eau suffisante). Par exemple, même dans l'ancien SNiP pour l'alimentation en eau interne (SNiP 2.04.01-85 *), il est indiqué que lors de l'utilisation d'un aérateur sur le mélangeur (filet bloquant la sortie), une pression est requise au point de raccordement du mélangeur. 5 m de colonne d'eau
Caractéristiques du calcul de la pression
La mesure de la pression dans l'air est compliquée par ses paramètres qui changent rapidement. Les manomètres doivent être achetés électroniques avec la fonction de faire la moyenne des résultats obtenus par unité de temps. Si la pression saute brusquement (pulsations), des amortisseurs seront utiles, ce qui atténue les différences.
Les modèles suivants doivent être rappelés:
- la pression totale est la somme de la statique et de la dynamique;
- la tête totale du ventilateur doit être égale à la perte de charge dans le réseau de ventilation.
La mesure de la pression statique de sortie est simple. Pour ce faire, utilisez un tube pour la pression statique: une extrémité est insérée dans le manomètre différentiel, et l'autre est dirigée dans la section à la sortie du ventilateur. La tête statique permet de calculer le débit à la sortie de l'appareil de ventilation.
La charge dynamique est également mesurée avec un manomètre différentiel. Les tubes Pitot-Prandtl sont connectés à ses connexions. À un contact - un tube pour la pleine pression, et à l'autre - pour l'électricité statique. Le résultat sera égal à la pression dynamique.
Pour connaître la perte de charge dans le conduit, la dynamique d'écoulement peut être surveillée: dès que la vitesse de l'air augmente, la résistance du réseau de ventilation augmente. La pression est perdue en raison de cette résistance.


Les anémomètres et les anémomètres à fil chaud mesurent la vitesse d'écoulement dans le conduit à des valeurs jusqu'à 5 m / s ou plus, l'anémomètre doit être sélectionné conformément à GOST 6376-74
Avec une augmentation de la vitesse du ventilateur, la pression statique diminue et la pression dynamique augmente proportionnellement au carré de l'augmentation du débit d'air. La pression totale ne changera pas.
Avec un appareil correctement sélectionné, la hauteur dynamique change en proportion directe avec le carré du débit et la hauteur statique change en proportion inverse. Dans ce cas, la quantité d'air utilisée et la charge du moteur électrique, si elles se développent, sont insignifiantes.
Quelques exigences pour le moteur électrique:
- faible couple de démarrage - en raison du fait que la consommation d'énergie change en fonction du changement du nombre de tours fournis au cube;
- grand stock;
- Travaillez à puissance maximale pour de plus grandes économies.
La puissance du ventilateur dépend de la hauteur totale ainsi que du rendement et du débit d'air. Les deux derniers indicateurs sont en corrélation avec le débit du système de ventilation.
Au stade de la conception, vous devrez établir des priorités.Prendre en compte les coûts, les pertes de volume utile des locaux, le niveau sonore.
Comportement du fluide à l'intérieur du conduit
Un ventilateur qui crée un flux d'air dans le conduit d'alimentation ou d'air extrait transmet de l'énergie potentielle à ce flux. Lors du mouvement dans l'espace confiné du tuyau, l'énergie potentielle de l'air est partiellement convertie en énergie cinétique. Ce processus se produit à la suite de l'impact de l'écoulement sur les parois du canal et est appelé pression dynamique.
En plus de cela, il y a une pression statique, c'est l'effet des molécules d'air les unes sur les autres dans un courant, elle reflète son énergie potentielle. L'énergie cinétique du flux reflète l'indicateur de l'impact dynamique, c'est pourquoi ce paramètre est impliqué dans les calculs.
À débit d'air constant, la somme de ces deux paramètres est constante et est appelée pression totale. Il peut être exprimé en unités absolues et relatives. Le point de référence pour la pression absolue est le vide total, tandis que le relatif est considéré à partir de la pression atmosphérique, c'est-à-dire que la différence entre eux est de 1 atm. En règle générale, lors du calcul de tous les pipelines, la valeur de l'impact relatif (excédentaire) est utilisée.
Retour à la table des matières
La signification physique du paramètre
Si nous considérons des sections droites de conduits d'air, dont les sections transversales diminuent à débit d'air constant, alors une augmentation du débit sera observée. Dans ce cas, la pression dynamique dans les conduits d'air augmentera et la pression statique diminuera, l'ampleur de l'impact total restera inchangée. En conséquence, pour que le débit passe à travers une telle restriction (confuseur), il doit initialement être fourni avec la quantité d'énergie requise, sinon le débit peut diminuer, ce qui est inacceptable. Après avoir calculé l'ampleur de l'effet dynamique, il est possible de connaître la quantité de pertes dans ce confuseur et de sélectionner la puissance correcte de l'unité de ventilation.
Le processus inverse se produira dans le cas d'une augmentation de la section du canal à débit constant (diffuseur). La vitesse et l'impact dynamique commenceront à diminuer, l'énergie cinétique du flux se transformera en potentiel. Si la tête développée par le ventilateur est trop élevée, le débit dans la zone et dans tout le système peut augmenter.
Selon la complexité du circuit, les systèmes de ventilation comportent de nombreux coudes, tés, contractions, vannes et autres éléments appelés résistances locales. L'impact dynamique de ces éléments augmente en fonction de l'angle d'attaque du flux sur la paroi interne de la canalisation. Certaines parties des systèmes provoquent une augmentation significative de ce paramètre, par exemple les clapets coupe-feu dans lesquels un ou plusieurs clapets sont installés dans le trajet d'écoulement. Cela crée une résistance à l'écoulement accrue dans la section, qui doit être prise en compte dans le calcul. Par conséquent, dans tous les cas ci-dessus, vous devez connaître la valeur de la pression dynamique dans le canal.
Retour à la table des matières
Calcul des paramètres par formules
Dans une section droite, la vitesse de l'air dans le conduit est inchangée et l'amplitude de l'effet dynamique reste constante. Ce dernier est calculé par la formule:
Рд = v2γ / 2g
Dans cette formule:
- Рд - pression dynamique en kgf / m2;
- V est la vitesse du mouvement de l'air en m / s;
- γ est la masse spécifique d'air dans cette zone, en kg / m3;
- g - accélération de la gravité, égale à 9,81 m / s2.
Vous pouvez obtenir la valeur de la pression dynamique dans d'autres unités, en Pascals. Pour cela, il existe une autre variante de cette formule:
Рд = ρ (v2 / 2)
Ici, ρ est la densité de l'air, en kg / m3. Étant donné que dans les systèmes de ventilation, il n'y a pas de conditions pour comprimer le milieu d'air à un point tel que sa densité change, elle est supposée constante - 1,2 kg / m3.
En outre, il est nécessaire de considérer comment l'ampleur de l'impact dynamique est impliquée dans le calcul des canaux.La signification de ce calcul est de déterminer les pertes dans l'ensemble du système de ventilation d'alimentation ou d'extraction pour sélectionner la pression du ventilateur, sa conception et la puissance du moteur. Le calcul des pertes se fait en deux étapes: d'abord, les pertes par frottement contre les parois du canal sont déterminées, puis la baisse de la puissance du flux d'air en résistances locales est calculée. Le paramètre de pression dynamique est impliqué dans le calcul aux deux étapes.
La résistance au frottement pour 1 m d'un conduit rond est calculée par la formule:
R = (λ / d) Рд, où:
- Рд - pression dynamique en kgf / m2 ou Pa;
- λ est le coefficient de résistance au frottement;
- d est le diamètre du conduit en mètres.
Les pertes par frottement sont déterminées séparément pour chaque section avec des diamètres et des débits différents. La valeur R résultante est multipliée par la longueur totale des canaux du diamètre calculé, les pertes sur les résistances locales sont ajoutées et la valeur totale pour l'ensemble du système est obtenue:
HB = ∑ (Rl + Z)
Voici les options:
- HB (kgf / m2) - pertes totales dans le système de ventilation.
- R - perte par frottement pour 1 m d'un canal circulaire.
- l (m) - longueur de la section.
- Z (kgf / m2) - pertes de résistances locales (branches, croix, vannes, etc.).
Retour à la table des matières
Détermination des paramètres des résistances locales du système de ventilation
La valeur de l'impact dynamique participe également à la détermination du paramètre Z. La différence avec une section droite est que dans différents éléments du système, le flux change de direction, bifurque, converge. Dans ce cas, le milieu interagit avec les parois internes du canal non pas tangentiellement, mais sous des angles différents. Pour en tenir compte, vous pouvez entrer une fonction trigonométrique dans la formule de calcul, mais il y a beaucoup de difficultés. Par exemple, lors du passage dans un simple virage à 90 °, l'air tourne et appuie contre la paroi intérieure à au moins trois angles différents (selon la conception du virage). Il y a beaucoup d'éléments plus complexes dans le système de conduits, comment calculer les pertes qu'ils contiennent? Il existe une formule pour cela:
- Z = ∑ξ Рд.
Afin de simplifier le processus de calcul, un coefficient sans dimension de résistance locale est introduit dans la formule. Pour chaque élément du système de ventilation, il est différent et constitue une valeur de référence. Les valeurs des coefficients ont été obtenues par calculs ou expérimentalement. De nombreuses usines de fabrication d'équipements de ventilation effectuent leurs propres recherches aérodynamiques et calculs de produits. Leurs résultats, y compris le coefficient de résistance locale d'un élément (par exemple, un clapet coupe-feu), sont inscrits dans le passeport du produit ou affichés dans la documentation technique sur leur site Internet.
Pour simplifier le processus de calcul des pertes des conduits de ventilation, toutes les valeurs de l'effet dynamique pour différentes vitesses sont également calculées et tabulées, à partir desquelles elles peuvent être simplement sélectionnées et insérées dans les formules. Le tableau 1 montre quelques valeurs pour les vitesses d'air les plus couramment utilisées dans les conduits d'air.