Principe d'opération

Le principe de fonctionnement des brûleurs est de prémélanger le combustible avec de l'air, d'assurer l'alimentation de ce mélange pour la combustion et de s'assurer que les produits de combustion passent complètement par le processus de combustion.
Le travail de cet appareil est divisé en trois étapes:
- Préparation... À ce stade, la préparation des éléments individuels du futur mélange combustible est effectuée. Lors de l'étape préparatoire, l'air et le carburant sont dotés des caractéristiques nécessaires: direction, température, vitesse.
- Mélange... L'air et la quantité de carburant requise sont mélangés, ce qui donne un mélange combustible.
- La combustion... Au stade final du fonctionnement du brûleur, le processus de combustion se produit, ou plutôt, la réaction d'oxydation des éléments de l'action combustible à l'aide d'oxygène a lieu. Finalement, le mélange s'enflamme grâce à une buse qui est placée à l'extrémité du tube.
Attention, même en tenant compte de la conception simple des brûleurs en cas de dysfonctionnements, vous ne devez en aucun cas essayer de les éliminer vous-même.
Dans les brûleurs à gaz, il existe également des ajouts qui assurent la sécurité et l'automatisation de l'appareil.
Ceux-ci inclus:
- L'automatisation, éteint indépendamment les appareils à la suite du dépannage.
- Allumage, réalisé grâce à un élément pieza spécial ou à l'électricité.
Classification des brûleurs à gaz
Dans un dispositif appelé brûleur à gaz, il y a un processus de mélange du gaz fourni et de l'air d'admission ou forcé, suivi de la combustion de la composition combustible dans la chambre de combustion. Il peut fonctionner dans les conditions d'alimentation principale en gaz, ainsi qu'à partir d'une bouteille ou d'un réservoir spécial. Le processus lui-même dépend des caractéristiques du brûleur et de la possibilité de l'adapter à certaines conditions.
Selon la méthode d'admission d'air, les brûleurs à gaz sont divisés en deux types:
- atmosphérique - un mélange air-gaz est obtenu en aspirant naturellement l'air de l'espace environnant et en le mélangeant avec le gaz fourni;
- pressurisé, à l'aide d'un ventilateur, soufflant de l'air de force;
- combiné.
Dans le premier cas, on parle de chaudières avec des chambres de combustion ouvertes, et dans le second - avec des chambres fermées. En outre, les brûleurs à gaz pour les chaudières de chauffage ont un type de commande de puissance différent:
- une étape - le plus simple et le plus abordable;
- à deux étages - avec deux modes de fonctionnement à commutation automatique;
- lisse à deux étages - avec contrôle doux de la flamme entre deux étapes;
- modulé - le plus efficace et le plus fiable, avec une régulation précise et rapide en fonction du changement du régime de température du liquide de refroidissement. Diffère en coût élevé.


Que rechercher lors du choix
Lors de l'achat, il convient de prendre en compte les conditions de fonctionnement de l'équipement de chauffage, les particularités de son fonctionnement et la possibilité de maintenance. Les dimensions du brûleur à gaz doivent être conformes aux dimensions du four de la chaudière, sinon, au lieu de la fiabilité et de la durabilité, il sera possible d'obtenir une chambre de combustion brûlée.
Chacun des brûleurs a ses propres caractéristiques, grâce auxquelles l'un ou l'autre modèle est choisi pour chaque cas spécifique.
Une certaine valeur lors du choix d'un brûleur à gaz est:
- fabricant;
- caractéristiques;
- maquette;
- Coût;
- compatibilité matérielle.
Il est recommandé de peser tous les côtés positifs et négatifs à l'avance, sinon le brûleur sera inefficace.
Types et fonctions des brûleurs


Pour le chauffage des locaux, non seulement des systèmes de chauffage stationnaires sont utilisés.
Il existe quatre appareils portables plus pratiques à utiliser dans certaines circonstances:
- Plaque
- Lampe
- Chauffe-eau
- Brûleur
Les appareils de chauffage au gaz naturel sont classés comme des appareils de chauffage à air.
La conception de ces appareils est simple:
- logement,
- cuisinière à gaz,
- échangeur de chaleur,
- élément capable de chauffer,
- ballon.
Chaque type de chauffage a toujours une possibilité supplémentaire de se connecter à un gazoduc.


Le poêle fonctionne grâce à un réservoir de carburant. Avec cet appareil, la cuisson devient confortable quel que soit l'endroit. Cette unité comprend un boîtier robuste. Le corps lui-même est en acier de haute qualité, qui est en outre recouvert d'un émail spécial qui protège contre les dommages de diverses natures.
Une lampe alimentée par un combustible gazeux est une sorte d'élément qui émet de la lumière. La conception de la lampe est similaire à celle d'un brûleur.
La différence réside dans le fait que sa tête est représentée par une tige sur laquelle est placée une maille catalytique spéciale, qui est la source directe de la lueur.
Pour la protection, un abat-jour en verre est placé sur la maille.
Il existe des brûleurs complets avec des modules complémentaires pour améliorer les performances des appareils.
Tout d'abord, il convient de considérer la classification des brûleurs en fonction du type de combustible utilisé:
Gaz


Ce type est courant - le gaz naturel fait référence au carburant disponible pour le consommateur.
Les dispositifs de brûleur à gaz sont divisés en deux types selon la méthode d'alimentation de l'oxydant dans la zone de travail: sous pression et à injection.
Brûleurs pressurisés.


Ils fonctionnent au carburant gazeux et diffèrent considérablement dans la conception - un ventilateur intégré, une distribution mécanique de l'oxydant (air) à la zone de travail est fourni.
À l'aide du ventilateur, la puissance est régulée et, conformément à cela, le fonctionnement de l'appareil est amélioré, ce qui affecte l'efficacité.
Le bruit supplémentaire est considéré comme un inconvénient, mais cela est éliminé en installant des modules complémentaires spéciaux de réduction du bruit.


Brûleurs à injection aussi appelé atmosphérique. Un tel dispositif est le plus souvent inclus dans l'équipement standard supplémentaire pour les chaudières. Le fonctionnement du dispositif consiste à fournir de l'air à la zone de travail en raison de «l'effet d'injection» - le volume d'oxydant requis pour le plein débit du processus de combustion entre dans le flux de carburant gazeux à haute pression.
Lors de la fabrication, l'appareil est réglé sur les paramètres standard destinés à fonctionner avec du gaz naturel.
Pour que le système de chauffage fonctionne au gaz liquéfié, des équipements supplémentaires devront être installés.
Les avantages de ce type de dispositifs de brûleur sont la simplicité de conception, l'absence de bruit, une sécurité totale et une longue durée de vie.
Carburant liquide


Pour les brûleurs à mazout, les produits pétroliers sont utilisés comme combustible, qui passent par différentes étapes de traitement. Du biocarburant ou de l'huile usée est également utilisé. Les dispositifs de brûleur qui effectuent des travaux avec du carburant diesel sont populaires.
Les brûleurs diesel ne sont pas inférieurs aux brûleurs à gaz en termes de qualité de travail.
Dans le même temps, la maintenance ne nécessite pas de coûts importants, la puissance de leur travail est constante et, non moins important, ils sont capables de travailler dans des conditions de températures négatives.
Les brûleurs fonctionnant au mazout sont considérés comme économiques, car le mazout a un faible coût, fiable en termes de longue durée de vie de l'appareil sans entretien préventif.
Les brûleurs à mazout ne sont pas utilisés dans les locaux domestiques. Le principal domaine d'application concerne les objets d'importance industrielle, les chaufferies fonctionnant pour le chauffage centralisé.
Multi-carburant ou combiné


Pour ces appareils, il est possible d'utiliser différents types de combustibles et ne nécessitent pas l'installation d'équipement supplémentaire. Le coût de l'appareil est élevé, mais l'efficacité est bien inférieure à celle des autres brûleurs. La maintenance est beaucoup plus compliquée et donc coûteuse.
Classification du brûleur en fonction de la puissance:
- Faible puissance - ≥1500 W, utilisé pendant une courte période;
- Puissance moyenne - de 1500 à 2500 W;
- Puissant - ≤ 2500 W.
Les brûleurs sont reliés à des cylindres remplis de combustible gazeux.
Il existe plusieurs types de raccords de cylindre, chacun adapté à tout type de brûleur:
- Raccord fileté - le brûleur est vissé sur le filetage ou cela se fait à l'aide d'un tuyau supplémentaire connecté au brûleur.
- Pour effectuer une connexion à pince, un support spécial de type poussoir est utilisé. Le ballon, qui est connecté de cette manière, a une coque mince.
- La connexion jetable ne peut pas être déconnectée du brûleur tant que le combustible n'est pas complètement consommé. Cela est dû au fait qu'il n'y a pas de valve dans le support et en cas d'ouverture intempestive
- Le raccordement de la vanne est fiable, car même la moindre fuite de carburant est évitée.
Certains brûleurs sont équipés de fonctions supplémentaires qui simplifient l'utilisation de cet appareil.


Régulateur de puissance... Il vous permet d'ajuster la puissance du brûleur, il est situé sur un raccord fileté, qui est vissé au cylindre. Le régulateur étant situé à une distance considérable directement du brûleur, il n'est pas toujours possible de garder la puissance sous contrôle. Pour éliminer ce problème, deux régulateurs sont installés - sur le brûleur et sur le raccord.
Allumage piézo... Cet ajout simplifie grandement la phase initiale des travaux. Le contacteur d'allumage est situé de manière à ce que le bouton de démarrage du brûleur se trouve en dessous. Par conséquent, le principe de fonctionnement de l'ensemble du système est simple.
En cas d'humidité élevée, l'appareil peut ne pas fonctionner correctement.
Préchauffage... Le fonctionnement du système réside dans le fait que la partie du tuyau par laquelle le combustible pénètre dans le site de combustion est située non loin de la tête du brûleur, donc, en état de fonctionnement, elle est enveloppée d'une flamme.
Classification des brûleurs à gaz par contrôle de température
Avec le développement moderne de la technologie, de nouvelles méthodes améliorées de contrôle automatique de la température ont été développées:
- Les brûleurs à un étage sont les appareils les plus simples, dont le principe a été décrit ci-dessus. Ces brûleurs fonctionnent dans le même mode.
- Les brûleurs à deux étages sont des appareils qui peuvent fonctionner dans deux états (40% et 100% de la puissance totale), en commutant automatiquement entre eux.
- Brûleurs coulissants à deux étages - ils fonctionnent également dans deux états (40% et 100%), mais la commutation elle-même entre les modes est plus douce, ce qui économise considérablement le carburant lui-même et améliore la qualité du maintien de la température.
- Les brûleurs à gaz modulés avec commandes automatiques de la chaudière sont les appareils les plus fonctionnels capables de fonctionner dans une large plage de puissance (de 10 à 100%).Ils peuvent maintenir un régime de température avec un écart de seulement 20 ° C par rapport à la valeur initiale. Dans le même temps, l'efficacité de la combustion du carburant augmente et les charges de température sur les pièces du radiateur diminuent.
Le plus efficace de tous est l'échangeur de chaleur en cuivre, car il a des parois minces et une bonne conductivité thermique. MAIS il ne tolère pas les tensions à haute température, par conséquent, il a une courte période de fonctionnement. En combinaison avec l'automatisation du brûleur à gaz modulant, la durée de vie du brûleur à gaz augmente.
Les brûleurs à gaz avec la possibilité de changer le niveau de combustion sont chers, mais leur efficacité paie rapidement tous les coûts:
- la température est maintenue dans une petite plage;
- économies de carburant jusqu'à 30%;
- la durée de vie de l'ensemble de l'appareil est augmentée.
Donc, pour acheter un brûleur à gaz avec équipement automatique - nous vous recommandons!
Avantages du brûleur
Aspects positifs des brûleurs fonctionnant aux combustibles gazeux:
- Facilité d'utilisation, car les caractéristiques de conception de ce type de brûleurs sont primitives et ne nécessitent pas d'expérience supplémentaire;
- Il n'y a pas besoin de préparation avant de commencer à utiliser;
- Atteindre des capacités élevées;
- Régulation de la flamme;
- Propreté, et c'est important, car il n'est pas nécessaire d'allouer du temps supplémentaire pour nettoyer les accessoires;
- Il n'y a pas besoin d'entretien supplémentaire des éléments du brûleur, car les dépôts de carbone ne restent pas après la combustion du combustible;
- Prix bas.
Avantages des dispositifs à combustible liquide:
- Ce type de carburant est consommé beaucoup plus économiquement que le gaz;
- Pendant le fonctionnement, l'indicateur d'alimentation reste inchangé;
- Fonctionne à basse température.
Brûleurs combinés


Ils sont produits pour des chaudières mixtes capables de fonctionner à la fois au gaz et au carburant liquide (fioul, gazole). De tels dispositifs ne nécessitent pas de remplacement en cas de transition d'un mélange combustible à un autre. Mais le processus de changement en lui-même est assez compliqué et nécessite la présence d'un professionnel.
Les brûleurs en question sont entièrement automatisés, ce qui minimise le facteur humain. Ils ont des fonctions pour contrôler la puissance de la flamme, le mode de combustion et d'autres processus tout aussi utiles.
Les brûleurs mixtes n'ont pas gagné en popularité parmi les propriétaires en raison de leur conception complexe et de leur prix élevé, combinés à une faible efficacité.
Problèmes


Tout type de dispositif de brûleur a également des côtés négatifs.
Inconvénients des appareils fonctionnant au gaz:
- Dans des conditions naturelles, il n'y a aucun moyen de reconstituer les réserves de carburant;
- Incapacité de transporter des bouteilles de gaz dans les avions et les trains par les transports publics;
- À des températures négatives, le combustible gazeux a tendance à s'épaissir, ce qui fait que l'indicateur de pression diminue et finalement le brûleur tombe en panne.
Qualités négatives du travail des appareils utilisant du carburant liquide:
- Certaines parties de la structure du brûleur sont sujettes à des écarts de fonctionnement, elles doivent donc être entretenues assez souvent;
- Prix élevé;
- Possibilité de fuite de carburant;
- La nécessité d'une préparation supplémentaire avant de commencer les travaux;
- Poids et taille décents.
Comment choisir un brûleur


La puissance requise de l'appareil dépend principalement du nombre de consommateurs. Avec un petit nombre de consommateurs, un brûleur de faible puissance est suffisant. S'il y a 5 ou 6 utilisateurs, l'appareil avec la puissance la plus élevée est requis. Dans le cas où le nombre d'utilisateurs est beaucoup plus élevé, il vaut la peine de s'approvisionner sur plusieurs appareils.
La conception du modèle sélectionné ne dépend que des préférences personnelles: un brûleur de taille minimale est nécessaire ou la vitesse de cuisson est importante et l'appareil deviendra beaucoup plus grand.
Pour plus de commodité, il vaut la peine d'acheter un appareil avec allumage piézo.
Type de fixation de cylindre.Il est tout aussi important de penser à des équipements supplémentaires. Tout d'abord, il est nécessaire de disposer d'un étui pour transporter l'appareil. Pratique lorsqu'un support spécial pour ustensiles de cuisine est inclus avec le brûleur.
Les ajouts comprennent également une protection spéciale contre les rafales de vent - soufflant la flamme. Un tel dispositif économise considérablement du carburant. Lors du choix d'un module complémentaire, faites attention à la conception, car la présence de pièces en plastique est inacceptable.
Ce qui est mieux
Un brûleur multi-combustibles est considéré comme une bonne option, en tenant compte de toutes les conditions. Les bouteilles de gaz ne sont pas toujours possibles à trouver, mais les carburants liquides sont plus courants.
Les brûleurs multi-combustibles ont une puissance de 3500 watts. Le carburant qui leur convient est à la fois le gaz et l'essence.
Il est souhaitable que le kit de brûleur comprenne: un couvercle pour le transport, des outils pour la maintenance préventive, les pièces de rechange nécessaires pour les réparations mineures (joints, lubrifiants), une pompe.
Veuillez noter que l'allumage piézo intégré échoue assez rapidement.
Exploitation


Une utilisation correcte de l'appareil garantit une longue durée de vie. Si vous suivez les règles d'utilisation des dispositifs de gravure, il n'y aura aucune difficulté, même pour un utilisateur novice.
N'oubliez pas que ces appareils sont des appareils très dangereux, soyez prudent.
Liste des règles et recommandations:
- L'appareil doit être installé sur une surface plane. S'il est mal placé sur une surface inclinée, il y a une possibilité d'urgence.
- Ne séchez jamais de vêtements ou de chaussures avec un brûleur.
- Si vous disposez d'un cylindre supplémentaire, protégez-le des rayons du soleil.
- Vous ne pouvez pas remplir les bouteilles de gaz de vos propres mains - le ravitaillement se fait dans des stations spécialisées, des additifs sont ajoutés au gazole dans certaines proportions.
- Ne touchez pas la surface chauffée pendant le fonctionnement de l'appareil - vous pouvez vous brûler.
- Pendant le fonctionnement, les pièces de sécurité de l'appareil ne doivent pas être touchées.
- L'utilisation n'est autorisée que dans des locaux bien ventilés et pendant le travail, l'approche d'objets inflammables est exclue.
- Pendant le fonctionnement, ne laissez pas l'appareil sans surveillance.
- Avant de commencer les travaux, il est impératif de vérifier la bonne fixation du cylindre de carburant.
Tout type de brûleur nécessite un entretien constant. Tout d'abord, il est nécessaire d'effectuer un nettoyage interne de temps en temps.


Si nous parlons d'un brûleur multicombustible, il y a un mince câble métallique à l'intérieur de la conduite de carburant. Il est conçu pour remplir deux fonctions. Tout d'abord, il fonctionne pour réchauffer diverses substances combustibles. En outre, la fonction de cet appareil comprend une assistance au nettoyage.
Lorsqu'il est sale, le nettoyage est effectué avec quelques difficultés, car il est difficile de retirer le câble.
Pour cela, un dispositif spécial est utilisé, appelé pince. À ces fins, un outil improvisé similaire à une pince est utilisé.
Si les tentatives de nettoyage échouent, il est nécessaire de réchauffer la conduite de carburant. Après avoir retiré le câble, il est important de le réchauffer jusqu'à ce qu'il devienne rouge et chaud.
Cette action élimine le coke qui s'est accumulé pendant le fonctionnement. Ensuite, le câble est inséré dans le tuyau et retiré à nouveau. Il est conseillé d'effectuer cette action deux ou trois fois.
Pour un nettoyage plus approfondi: il vaut la peine de dévisser la buse et de rincer le système avec du carburant, qui y est versé à partir d'un cylindre sous haute pression.
Une aiguille spécialement conçue est utilisée pour nettoyer la buse. Cette action est effectuée sans atteindre l'élément à nettoyer.
Règles générales pour l'entretien du brûleur:


- Dans le cas où il y a un choix du type de carburant, il vaut la peine de choisir un carburant gazeux, car il obstrue légèrement le système.
- Lors de l'utilisation de carburant liquide, il est impératif de privilégier uniquement les substances purifiées, qui réduisent le risque de défaillance du système et se distinguent par l'absence d'odeur piquante et désagréable.
- L'allumage d'un appareil à combustible liquide n'est pas souhaitable dans les espaces confinés. Cela est particulièrement vrai pour les tentes.
- Le nettoyage du brûleur à titre préventif est très important, même si aucun signe de dysfonctionnement n'est détecté.
- Le montage et le démontage de l'appareil doivent être effectués avec soin, de préférence à l'aide d'outils spéciaux. Il existe un risque d'endommagement des fixations filetées.
- De temps en temps, la pompe doit être traitée avec un lubrifiant spécial.
En respectant strictement les règles énumérées, de nombreux dysfonctionnements et divers inconvénients associés à des écarts dans le fonctionnement de l'appareil sont évités.
L'essence du travail d'un brûleur à gaz équipé d'un injecteur.
Dans ce brûleur, la formation d'un mélange de gaz est réalisée en injectant un gaz combustible (qui a une pression basse ou moyenne) et de l'oxygène, qui est fourni du cylindre au brûleur à une pression de 0,5-4 kgf / cm2 . Le processus est le suivant: l'oxygène, passant par le canal axial de l'injecteur, est dirigé dans la chambre de mélange à une vitesse assez élevée. En conséquence, une raréfaction se produit dans le canal par lequel passe le gaz combustible ou la vapeur de combustible liquide. Ce processus force le carburant à entrer également dans la chambre de mélange, seulement il ne passe pas par le canal axial, mais à l'extérieur de l'injecteur. Le mélange qui se forme dans la chambre de l'instrument passe par l'embout buccal et s'enflamme.
Les proportions de gaz dans le mélange combustible, si on le souhaite, peuvent être légèrement ajustées à l'aide des vannes de brûleur. Notez que pour les brûleurs à injection, le gaz combustible doit être fourni à partir d'une bouteille sous une pression d'au moins 0,01 kgf / cm2.
Garantie


Lors de l'achat de produits dans des magasins spécialisés, une garantie est fournie.
Ce service s'applique aux performances de l'appareil. Il existe également de tels cas où la garantie s'applique également aux propriétés de consommation des biens.
La réparation des brûleurs aux frais de l'organisation est effectuée si l'appareil a une présentation, c.-à-d. il conserve les scellés, les scellés, la sécurité totale du boîtier.
Par conséquent, avant d'acheter l'appareil, assurez-vous qu'il est conforme aux éléments répertoriés, aux caractéristiques déclarées et à toutes les fonctionnalités.
Le plus souvent, la période de garantie est d'un an. Mais il y a des fabricants qui prolongent la durée jusqu'à cinq ans.
Dysfonctionnements


La conception de l'appareil est simple et tombe rarement en panne, mais il existe des situations où l'appareil tombe en panne. Vous pouvez essayer de réparer l'appareil vous-même, si les circonstances l'exigent.
Les principales causes de dysfonctionnement des appareils conçus pour soutenir le processus de combustion:
- Le colmatage de la buse se produit lors du remplissage de l'appareil avec du carburant.
- Contamination du séparateur due à l'accumulation de débris et de saletés.
- La fusion de certaines pièces se produit en raison de l'utilisation d'un pare-brise ou d'ustensiles de cuisine d'une taille inacceptable.
- Endommagement du tuyau.
- Dommages aux joints entraînant une fuite de carburant.
- Dommages mécaniques.
La qualité des dispositifs de brûleur fabriqués en Chine ne répond pas toujours aux exigences et les dispositifs échouent souvent. Lors de l'achat d'un brûleur, vous devez faire attention au fabricant.
Pour prolonger la durée de vie du brûleur, il faut une manipulation soigneuse et appropriée. Ensuite, la probabilité de toute panne sera minime.
Seule la contamination des buses ne peut pas être évitée.
C'est de toute façon inévitable. La seule question est le temps.
Pour faire face indépendamment à une panne d'appareil, vous aurez besoin d'un ensemble d'outils:
- Un ensemble d'outils pour démonter l'appareil. C'est le seul moyen d'accéder à la buse. Mais il existe également des types d'appareils qui n'ont pas besoin d'être démontés.
- Une aiguille fine spéciale ou un fil de même épaisseur est nécessaire pour nettoyer la buse. Ce travail ne peut pas être effectué avec un outil insuffisamment fin, car la pièce peut être facilement endommagée. Après cela, les réparations ne seront plus possibles.
Il existe une telle variante de panne, pour éliminer qu'il faudra souffler à travers la buse. Il est important de savoir que cet événement doit être effectué dans le sens opposé au passage du carburant.
Afin de ne pas endommager l'appareil, vous devez respecter le mode d'emploi de l'appareil.
Brûleurs à gaz, classification et caractéristiques
Un brûleur à gaz est un dispositif permettant de mélanger de l'oxygène avec du carburant gazeux afin de fournir le mélange à la sortie et de le brûler pour former une flamme stable. Dans un brûleur à gaz, le combustible gazeux fourni sous pression est mélangé dans un dispositif de mélange avec de l'air (air oxygène) et le mélange résultant est allumé à la sortie du dispositif de mélange pour former une flamme constante stable.
Les brûleurs à gaz offrent un large éventail d'avantages. La construction d'un brûleur à gaz est très simple. Son démarrage prend une fraction de seconde et un tel brûleur fonctionne presque parfaitement. Les brûleurs à gaz sont utilisés pour chauffer des chaudières ou des applications industrielles.
Il existe aujourd'hui deux types principaux de brûleurs à gaz, leur séparation s'effectue en fonction de la méthode utilisée pour la formation d'un mélange combustible (composé de combustible et d'air). Distinguer les dispositifs atmosphériques (injection) et suralimentés (ventilation). Dans la plupart des cas, le premier type fait partie de la chaudière et est inclus dans son coût, tandis que le second type est le plus souvent acheté séparément. Les brûleurs à gaz forcé en tant qu'outil de combustion sont plus efficaces, car ils sont alimentés en air par un ventilateur spécial (intégré au brûleur).
Les brûleurs à gaz sont destinés à:
- alimentation en gaz et en air du front de combustion;
- formation de mélange;
- stabilisation du front d'allumage;
- assurer l'intensité de combustion requise.
Types de brûleurs à gaz:
Brûleur à diffusion -
un brûleur dans lequel le carburant et l'air sont mélangés pendant la combustion.
Brûleur à injection –
brûleur à gaz avec prémélange du gaz avec de l'air, dans lequel l'un des fluides nécessaires à la combustion est aspiré dans la chambre de combustion d'un autre fluide (synonyme - brûleur à éjection)
Brûleur à prémélange creux - Un brûleur dans lequel le gaz est mélangé avec un plein volume d'air devant les sorties.
Un grand groupe de brûleurs de différentes conceptions et de différentes performances se réfère à des brûleurs avec un prémélange incomplet du gaz avec de l'air. Dans les brûleurs de ce type, le processus de mélange commence dans le brûleur lui-même et se termine activement dans la chambre de combustion. En conséquence, le gaz brûle avec une flamme courte et non lumineuse. En raison du fait qu'avant d'entrer dans le four, où commence le processus de combustion, le mélange gaz-air a été partiellement préparé, la vitesse de combustion est déterminée par la diffusion et des facteurs cinétiques. Par conséquent, ces brûleurs réalisent une méthode de diffusion cinétique de combustion de gaz. Les brûleurs du type considéré sont constitués de systèmes d'alimentation séparée en gaz et de tout l'air nécessaire à la combustion, ainsi que de dispositifs dans lesquels le processus de formation du mélange commence. Un mélange gaz-air entre dans le four, qui est un écoulement turbulent avec des champs inégaux de concentrations de combustible et d'oxydant dans la section transversale. Une fois dans une zone à haute température, le mélange s'enflamme.Les sections de l'écoulement, dans lesquelles la concentration de gaz et d'air est dans un rapport stoechiométrique, brûlent de manière cinétique, et les zones dans lesquelles le processus de formation du mélange n'est pas achevé brûlent par diffusion. Le processus de mélange dans le four est contrôlé par le dispositif de mélange du brûleur, car la structure du flux et le mouvement de ses particules individuelles déterminent les conditions de sa sortie du mélangeur. Le mélange de gaz et d'air dans ces brûleurs se produit à la suite d'une diffusion turbulente, c'est pourquoi de tels brûleurs sont appelés brûleurs à mélange turbulent. Pour augmenter l'intensité du processus de combustion du gaz, il est nécessaire d'intensifier le mélange du gaz avec l'air autant que possible, car la formation du mélange est un lien de freinage dans l'ensemble du processus. L'intensification du processus de mélange est obtenue en: faisant tourbillonner le flux d'air avec des pales de direction; alimentation tangentielle ou dispositif d'escargots; en fournissant du gaz sous la forme de petits jets à un angle par rapport au flux d'air en divisant les flux de gaz et d'air en petits flux dans lesquels la formation de mélange se produit. Les brûleurs mélangeurs turbulents sont largement utilisés. Les principales qualités positives de ces brûleurs sont: a) la possibilité de brûler une grande quantité de gaz avec une taille relativement petite du brûleur (particulièrement important pour les chaudières puissantes); b) une large gamme de régulation des performances du brûleur; c) la possibilité de chauffer le gaz et l'air à des températures dépassant la température d'inflammation, ce qui est d'une grande importance pour certains fours à haute température; d) une mise en œuvre relativement simple de structures à combustion combinée de combustibles (gaz - fioul, gaz - poussières de charbon). Inconvénients des brûleurs considérés: alimentation en air forcé et combustion de gaz avec une incomplétude chimique supérieure à la combustion cinétique. Les brûleurs mélangeurs turbulents ont des capacités différentes de 60 kW à 60 MW. Ils sont utilisés pour chauffer les fours industriels et les chaudières.
Les brûleurs mélangeurs turbulents GNP conçus par warmexpert.decorexpro.coma avec une capacité de 7 ... 250 m3 / h à une pression de gaz et d'air de 0,4 ... 2 kPa sont représentés sur la Fig. 16.10. Les brûleurs sont disponibles en neuf tailles avec deux types de buses à gaz. La pointe A fournit un évasement court et la pointe B crée un évasement allongé. Le gaz entre dans le brûleur par la buse et s'écoule à une certaine vitesse de la buse. L'air est fourni au brûleur sous pression, avant d'entrer dans le bec du brûleur, il est tordu. Le mélange du gaz avec de l'air commence à l'intérieur du brûleur lorsque le gaz sort de la buse et est intensifié par le flux d'air tourbillonnant. Avec une alimentation en gaz à jets multiples (avec la pointe A), le processus de formation du mélange se déroule plus rapidement et le gaz brûle dans une flamme courte. Le brûleur est installé en conjonction avec un tunnel en céramique qui sert de stabilisateur de combustion. Les brûleurs assurent la combustion du gaz en l'absence d'incomplétude chimique à un rapport d'air en excès α = 1,05 ... 1,1. À une pression de gaz de 4 kPa, la longueur de la torche pour les brûleurs à pointe de type A, en fonction de la taille du brûleur, varie de 0,6 à 2,3 m. Les principales dimensions de la série de brûleurs LHP sont les suivantes: le diamètre de l'ouverture de sortie varie dans la plage D = 25,142 mm; le diamètre des trous de gaz à la pointe de type A est: d = 3,2 ... 15,5, et leur nombre varie de 4 à 6; le diamètre du trou de gaz à la pointe de type B est: di = 5,5… 31 mm (les désignations sont indiquées sur la Fig. 16.10). Selon les résultats des tests d'état, l'utilisation des brûleurs est recommandée. Leurs principales qualités positives sont: la simplicité et la compacité de la conception, la capacité de travailler à de faibles pressions de gaz et d'air, et une large gamme de régulation des performances. Les brûleurs de ce type sont destinés au chauffage des fours de forgeage et thermiques, des séchoirs.


Figure. 16.10. Brûleur turbulent type GNP 1 - corps, 2 - buse, 3 - buse de type A, 4 - buse de type B, 5 - buse
Brûleur à prémélange non creux –
un brûleur dans lequel le gaz ne se mélange pas complètement avec l'air devant les sorties. Brûleur à gaz atmosphérique
–
Brûleur à gaz à injection avec prémélange partiel du gaz avec de l'air, utilisant l'air secondaire de l'environnement entourant la flamme.
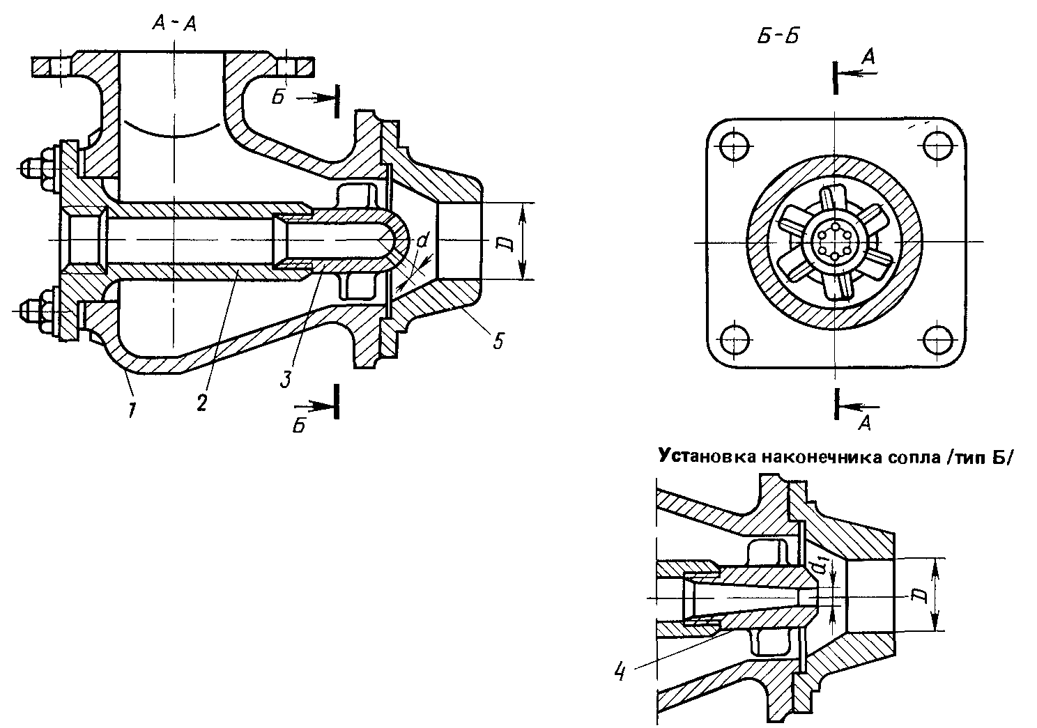
Un brûleur atmosphérique conçu pour être installé dans la chambre de combustion de chaudières en fonte à quatre et cinq sections (VNIISTO-Mch) est illustré à la Fig. 16.8. La tête du brûleur comporte 142 trous d'un diamètre de 4 mm et s'adapte sur le tube d'éjection. À l'endroit où le mélange gaz-air sort de l'éjecteur, la tête n'a pas de trous. Si les trous sont situés ici, la flamme au-dessus d'eux sera beaucoup plus élevée qu'au-dessus des autres trous, car lorsque du gaz s'échappe de ces trous, la pression dynamique du mélange gaz-air s'écoulant du tube d'éjection vers la tête du brûleur sera utilisée. . De plus, en raison d'une augmentation de la vitesse de sortie, la flamme au-dessus de ces trous peut ne pas être suffisamment stable. La charge thermique du brûleur est de 20 kW (0,2 m3 / h à QCK == 36 MJ / m3). Le brûleur est conçu pour la combustion de gaz avec un pouvoir calorifique QCH = 25 000 ... 36 000 kJ / m3, tandis que le diamètre de la buse est modifié en fonction de la valeur QCH. Lors de la combustion de gaz naturel avec un pouvoir calorifique de 36 000 kJ / m3, le diamètre de la buse est de 4 mm et la pression de gaz requise est de 1,3 kPa. Le rapport d'air primaire du brûleur peut être réglé à l'aide d'un disque à air. Le tube d'éjection a un trajet d'écoulement avec une faible résistance hydraulique. La tête du brûleur est conçue de telle sorte que l'air secondaire s'approche de chaque rangée de trous d'un côté. La hauteur de la flamme lorsque le brûleur fonctionne à une charge thermique normale est d'environ 100 mm. Le brûleur est de conception simple et de fonctionnement fiable. Lorsqu'ils fonctionnent dans des chaudières sectionnelles en fonte, les brûleurs atmosphériques assurent une combustion complète de gaz avec une teneur relativement faible en oxydes d'azote dans les produits de combustion. La concentration de NOX ne dépasse généralement pas 0,12 g / m3. Cela est dû à la dispersion de la flamme et à la combustion étagée du gaz (avec de l'air primaire et secondaire).


Figure. 16.8. Brûleur atmosphérique pour une chaudière en fonte 1 - régulateur d'air, 2 - buse, 3 - tube d'éjection; 4— tête de brûleur avec trous d'allumage
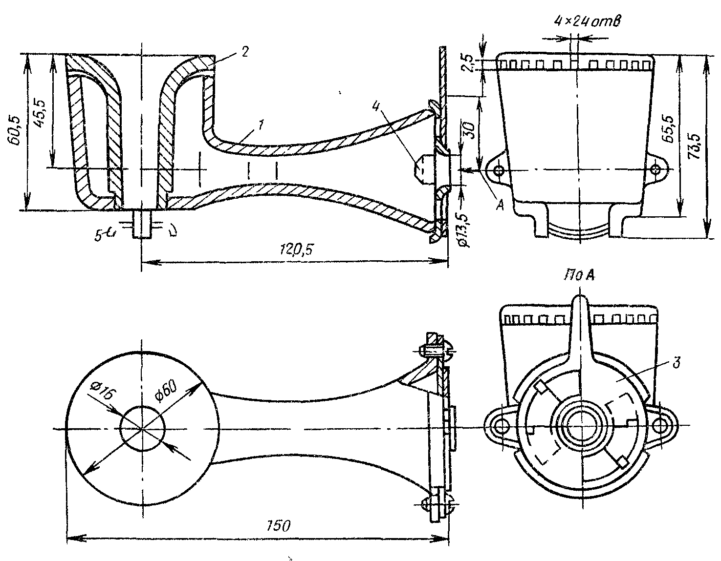
Un brûleur atmosphérique avec une sortie est illustré à la fig. 16.9. La particularité de ce brûleur est que sa tête ne comporte pas de collecteur avec un grand nombre de petits trous, mais un tube conique avec un trou de grand diamètre (40 mm). En conséquence, la flamme du brûleur est considérablement allongée. En raison du vide dans le four, l'air secondaire circule à travers l'espace annulaire entre le brûleur et un boîtier spécial vers le pied de la torche. Le brûleur a la capacité de réguler la quantité d'air primaire et secondaire. De tels brûleurs sont utilisés lors de la conversion des poêles de restaurant et des chaudières de cuisson en combustible gazeux (de plus, le poêle peut avoir un brûleur ou un bloc composé de deux ou trois brûleurs). La charge thermique du brûleur est de 18,6 kW, la pression du gaz est de 1,3 kPa. Le brûleur est conçu pour brûler du gaz avec un pouvoir calorifique Qsn = 36 000 kJ / m3. En fonction de la chaleur de combustion du gaz, une buse du diamètre approprié est installée dans le brûleur.


Figure. 16.9. Brûleur atmosphérique avec une sortie 1 - tête de brûleur, 2 - mélangeur à éjection, 3 - régulateur, 4 - buse, 5 - régulateur d'air primaire
Brûleur spécial–
un brûleur dont le principe de fonctionnement et la conception déterminent le type d'unité de chauffage ou les caractéristiques du processus technologique.
Brûleur récupérateur–
brûleur équipé d'un récupérateur pour chauffer le gaz ou l'air
Brûleur régénératif - un brûleur équipé d'un régénérateur pour chauffer du gaz ou de l'air.
Brûleur automatique–
un brûleur équipé de dispositifs automatiques: allumage à distance, contrôle de la flamme, contrôle de la pression du carburant et de l'air, vannes d'arrêt et commandes, régulation et signalisation.
Brûleur à turbine–
brûleur à gaz, dans lequel l'énergie des jets de gaz qui s'échappent est utilisée pour entraîner le ventilateur intégré, qui souffle de l'air dans le brûleur.
Brûleur d'allumage–
brûleur auxiliaire utilisé pour allumer le brûleur principal.
Les plus applicables aujourd'hui sont la classification des brûleurs par la méthode d'alimentation en air, qui sont divisés en:
- sans soufflage - l'air pénètre dans le four en raison de sa raréfaction;
- injection - l'air est aspiré en raison de l'énergie du flux de gaz;
- soufflage - l'air est fourni au brûleur ou au four au moyen d'un ventilateur.
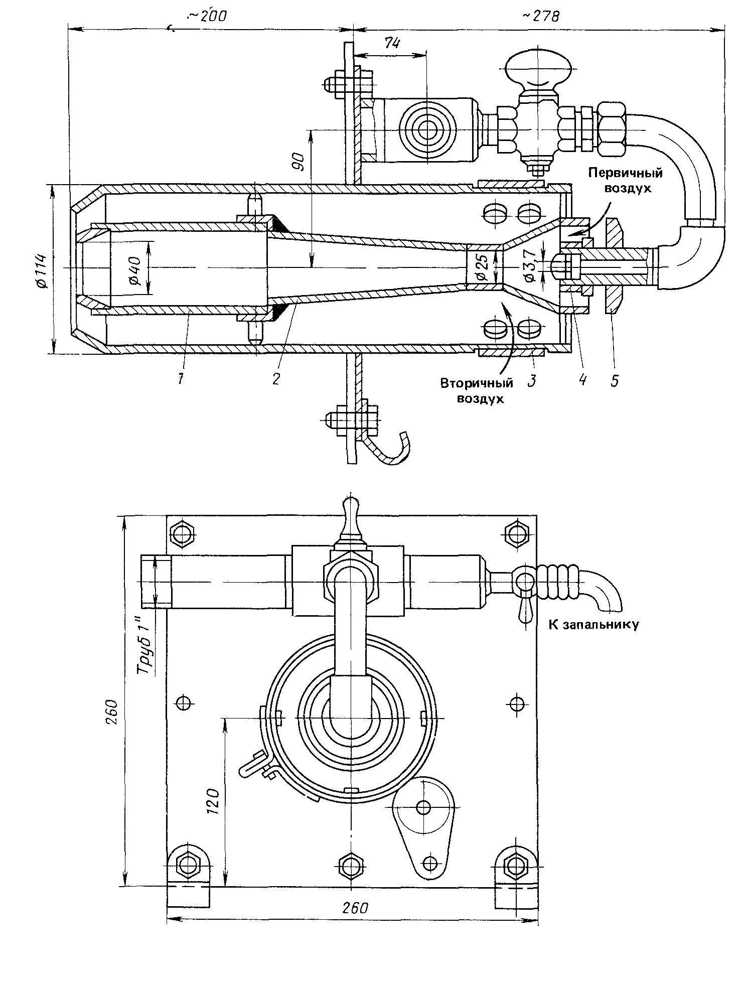
Brûleurs à éjection de bloc (injection) de type B et G, développés par Promenergogaz. Les brûleurs de ce type sont une série de brûleurs de différentes configurations et capacités, assemblés à partir d'éléments standards. Un élément de brûleur standard se compose d'un ensemble de mélangeurs simples du même type 2 (Fig.16.4, a), fixés dans un collecteur commun - une chambre à gaz 3. Un mélangeur simple est un tuyau d'un diamètre de 48X3 mm et d'une longueur de 290 mm. Dans la partie initiale du tuyau, qui est située à l'intérieur du collecteur de gaz, il y a quatre trous d'un diamètre de 1,5 mm chacun, dont les axes sont situés à un angle d'environ 25 ° par rapport à l'axe du brûleur. Ces trous agissent comme des buses périphériques à travers lesquelles le gaz s'écoule dans le tube d'éjection et éjecte l'air entrant par l'extrémité ouverte du tube. La conception de la partie d'éjection est élaborée de telle manière qu'avec un vide dans le four égal à 20 Pa, le gaz éjecte tout l'air nécessaire à la combustion, avec un coefficient en excès a = 1,02 ... 1,05. Les vitesses élevées des jets de gaz situés autour de la périphérie contribuent à la création d'un profil de vitesse qui empêche la percée de la flamme. Les blocs de brûleur sont revêtus d'une masse réfractaire (voir Fig. 16.4, b) et à leur sortie il y a un tunnel de stabilisation de 100 mm de profondeur. Il empêche la flamme de s'envoler. Les brûleurs sont entièrement placés dans le revêtement de la chaudière de 510 mm d'épaisseur. La pression nominale du gaz devant le brûleur est de 80 kPa (pression moyenne), le coefficient de profondeur de régulation de puissance est de 3,4 ... 3,8. Selon la disposition (nombre d'éléments individuels), la capacité du brûleur varie de 10 à 240 m3 / h. Les GRANDS brûleurs fonctionnent sans incomplétude chimique de la combustion avec un petit excès d'air. La teneur en oxydes d'azote est de 0,15 à 0,18 g / m3. Les brûleurs sont assemblés sous forme d'ensembles standard (voir Fig.16.4, c), constitués de tubes d'éjection uniques assemblés en une rangée de tailles standard G), en deux rangées de tailles F) et en trois rangées de tailles B). Les brûleurs sont destinés à équiper les chaudières avec une disposition dans le revêtement des parois de la chaudière et sur le fond au lieu de la grille. Les chaudières équipées de brûleurs BIG ont un rendement plus élevé (de 2%) que lorsqu'elles sont équipées de brûleurs à éjection avec buses situées au centre.


Les brûleurs à gaz sont utilisés à différentes pressions de gaz: faible - jusqu'à 5000 Pa, moyenne - de 5000 Pa à 0,3 MPa et élevée - plus de 0,3 MPa. Les brûleurs sont utilisés plus souvent.La puissance thermique d'un brûleur à gaz est d'une grande importance, qui est maximale, minimale et nominale.
Pendant le fonctionnement à long terme du brûleur, où une plus grande quantité de gaz est consommée sans interrompre la flamme, la puissance thermique maximale est atteinte.
La puissance thermique minimale se produit avec un fonctionnement stable du brûleur et la consommation de gaz la plus faible sans percée de flamme.
Lorsque le brûleur fonctionne à une valeur nominale, offrant une efficacité maximale avec la plus grande complétude de la combustion, le débit de gaz est atteint par la puissance thermique nominale.
Il est permis de dépasser la puissance thermique maximale au-dessus de la valeur nominale de pas plus de 20%.Si la puissance thermique nominale du brûleur selon le passeport est de 10 000 kJ / h, le maximum doit être de 12 000 kJ / h.
Une autre caractéristique importante des brûleurs à gaz est la plage de régulation de la puissance calorifique.
Un grand nombre de brûleurs de différentes conceptions sont utilisés aujourd'hui.
Un brûleur est sélectionné en fonction de certaines exigences, notamment:
stabilité aux variations de puissance thermique, fiabilité de fonctionnement, compacité, facilité d'entretien, garantissant l'exhaustivité de la combustion du gaz.
Les principaux paramètres et caractéristiques des brûleurs à gaz utilisés sont déterminés par les exigences:
- la puissance thermique, calculée comme le produit de la consommation horaire de gaz, m3 / h, par son pouvoir calorifique le plus bas, J / m3, et est la caractéristique principale du brûleur;
- paramètres du gaz de combustion (pouvoir calorifique net, densité, nombre de Wobbe);
- puissance thermique nominale, égale à la puissance maximale pouvant être atteinte pendant le fonctionnement à long terme du brûleur avec un rapport d’air excédentaire minimal et à condition que le sous-brûleur chimique ne dépasse pas les valeurs fixées pour ce type de brûleur;
- pression nominale du gaz et de l'air correspondant à la puissance thermique nominale du brûleur à pression atmosphérique dans la chambre de combustion;
- longueur relative nominale de la torche égale à la distance le long de l'axe de la torche depuis la section de sortie (buse) du brûleur à puissance thermique nominale jusqu'au point où la teneur en dioxyde de carbone à α = 1 est égale à 95% de sa valeur maximale;
- coefficient de régulation limite de la puissance thermique, égal au rapport de la puissance thermique maximale au minimum;
- coefficient de régulation de fonctionnement du brûleur en termes de puissance thermique, égal au rapport de la puissance thermique nominale au minimum;
- pression (vide) dans la chambre de combustion à la puissance nominale du brûleur;
- teneur en impuretés nocives dans les produits de combustion;
- génie thermique (luminosité, degré de noirceur) et caractéristiques aérodynamiques de la torche;
- la consommation spécifique de métaux et de matériaux et la consommation d'énergie spécifique, rapportées à la puissance thermique nominale;
- le niveau de pression acoustique généré par le brûleur en fonctionnement à la puissance thermique nominale.
Exigences du brûleur
Sur la base de l'expérience d'exploitation et de l'analyse de la conception des brûleurs, il est possible de formuler les exigences de base pour leur conception.
La conception du brûleur doit être aussi simple que possible: sans pièces mobiles, sans dispositifs qui modifient la section transversale pour le passage du gaz et de l'air, et sans pièces de forme complexe situées près du nez du brûleur. Les dispositifs complexes ne se justifient pas pendant le fonctionnement et tombent rapidement en panne sous l'influence de températures élevées dans l'espace de travail du four.
Les sections pour la sortie du mélange gaz, air et gaz-air doivent être élaborées lors de la création du brûleur. Pendant le fonctionnement, toutes ces sections doivent rester inchangées.
La quantité de gaz et d'air fournie au brûleur doit être mesurée avec des dispositifs d'étranglement sur les conduites d'alimentation.
Les sections transversales pour le passage du gaz et de l'air dans le brûleur et la configuration des cavités internes doivent être choisies de manière à ce que la résistance sur le trajet du mouvement du gaz et de l'air à l'intérieur du brûleur soit minimale.
La pression du gaz et de l'air doit principalement fournir les vitesses requises dans les sections de sortie du brûleur. Il est souhaitable que l'alimentation en air du brûleur soit régulée. Une alimentation en air non organisée résultant du vide dans l'espace de travail ou par injection partielle d'air avec du gaz ne peut être autorisée que dans des cas particuliers.
Approvisionnement en gaz des bâtiments
Approvisionnement en gaz des bâtiments
- l'approvisionnement en gaz via un système de gazoducs, à travers lequel le gaz de la ville sera distribué, le réseau va aux appareils à gaz installés par les consommateurs.
Système d'alimentation en gaz
comprend: les succursales d'abonnés connectées au réseau de distribution de la ville et fournissant du gaz au bâtiment; conduites de gaz internes transportant le gaz à l'intérieur du bâtiment et le distribuant entre les appareils à gaz individuels.
La branche abonné comprend l'arrivée de gaz sur le territoire du consommateur, les gazoducs dans la cour et les entrées de gaz dans le bâtiment. A l'entrée du gaz vers le consommateur, à une distance d'au moins 2 m de la ligne de bâtiment, une vanne à vanne ou une grue est réalisée dans le puits. Un dispositif de déconnexion est installé par groupe de bâtiments résidentiels desservis par une entrée.


Figure. Schéma d'alimentation en gaz du bâtiment
:
1 - réseau routier de gaz basse pression; 2 - gazoduc de la cour; 3- piège à condensats; 4 - entrée de gaz; 5 - vannes d'arrêt; 6 - gazoduc de distribution; 7 - élévateurs; 8 - câblage au sol; 9 - appareils à gaz; 10 - tapis; 11 - vanne à guillotine
Les entrées sur le territoire des consommateurs et le réseau de gaz de la cour sont en règle générale creusés dans le sol. Les conditions de leur pose ne diffèrent pas des conditions de pose des gazoducs souterrains de ville. Les entrées de gazoducs dans les habitations et les sociétés, les bâtiments peuvent être réalisés: dans chaque escalier; directement dans les cuisines des immeubles résidentiels ou dans les locaux des sociétés, immeubles où le gaz est consommé; dans les sous-sols des immeubles avec technique. couloirs. Avec du gaz sec, il est conseillé de faire les entrées à travers les murs au-dessus des fondations. Dispositif d'entrée dans le bâtiment par le biais de la technique les couloirs sont autorisés dans les conditions suivantes: avec une hauteur de couloir d'au moins 1,6 m; s'il y a au moins deux entrées dans le couloir de l'extérieur, non reliées à d'autres parties du bâtiment; avec ventilation naturelle dans le couloir, assurant au moins un échange d'air ; électrique l'éclairage du couloir doit être antidéflagrant; avec des plafonds ignifuges. L'aménagement des entrées directement dans les locaux d'habitation, les salles des machines d'ascenseur, les salles des pompes, les chambres de ventilation, etc. n'est pas autorisé.
Les gazoducs intra-maison sont divisés en colonnes montantes qui transportent le gaz dans la direction verticale et en gazoducs intra-appartements qui fournissent du gaz des colonnes montantes aux appareils à gaz individuels. Les colonnes montantes à gaz sont généralement installées dans les cages d'escalier et les cuisines. La pose de contremarches dans les pièces d'habitation est interdite dans les salles de bains et toilettes. Pour déconnecter des sections individuelles de gazoducs, des robinets sont réalisés: aux entrées du bâtiment, dans les appartements devant chaque appareil à gaz.
Des robinets en bronze (laiton) et combinés avec prises de tension sont placés devant les compteurs et les appareils à gaz. Des grues de tension ou des vannes d'arrêt en bronze ou en fonte sont installées aux entrées du bâtiment. Sur les colonnes montantes, les branches vers: les appartements et devant chaque appareil à gaz après les robinets, en comptant le long du flux de gaz, les raclettes nécessaires aux travaux de réparation sont installées.
Les gazoducs à l'intérieur des bâtiments sont constitués de tuyaux en acier. Les tuyaux sont reliés par soudage ou filetés. L'utilisation de tuyaux en plastique (plastique vinylique, polyéthylène, etc.) est prometteuse. Les gazoducs dans les bâtiments sont posés à ciel ouvert à une hauteur d'au moins 2,0 m du sol au bas du tuyau; lorsqu'il est alimenté en gaz humide - avec une pente d'au moins 0,002 du compteur à la colonne montante et du compteur aux appareils à gaz. À l'intersection des plafonds d'escalier et des murs creux ou remblayés, les gazoducs sont enfermés dans des cas de tuyaux en acier.
Les principaux appareils utilisés pour l'alimentation en gaz: cuisinières, chauffe-eau, bouilloires, fours et chaudières. Des cuisinières à gaz et des chauffe-eau domestiques sont installés dans les appartements. Les mêmes appareils sont utilisés par les consommateurs publics et les petits consommateurs communaux. Les entreprises des entreprises, la restauration sont équipées de cuisinières à gaz plus puissantes - type restaurant, chaudières de cuisson, fours, chaudières et chauffe-eau. Dans les bâtiments de faible hauteur avec chauffage par poêle, le gaz peut également être utilisé pour chauffer des poêles. Les compteurs de gaz sont utilisés pour mesurer la consommation de gaz chez les consommateurs.Les compteurs de gaz ne sont pas installés dans les nouveaux bâtiments résidentiels.
La plupart des appareils à gaz doivent être équipés d'une sortie de gaz de combustion à travers les cheminées vers l'atmosphère. Dans les bâtiments nouvellement conçus, les gaz de combustion sont évacués de chaque appareil par une cheminée séparée. Dans les bâtiments existants, il est permis de connecter trois appareils à gaz à une cheminée, située sur le même étage ou sur des étages différents. Les produits de combustion sont introduits dans la cheminée à différents niveaux, à une distance d'au moins 500 mm les uns des autres. Les appareils à gaz sont connectés aux cheminées à l'aide de tuyaux en acier de couverture dont le diamètre est déterminé en fonction de la charge thermique de l'appareil: jusqu'à 10000 kcal! Heure - de 100 à 125 mm, jusqu'à 20000-25000 kcal! Heure - de 125 à 150 mm. La section verticale des tuyaux de raccordement entre le tuyau de dérivation de l'appareil à gaz et le premier tour de tuyau doit être d'au moins 0,5 mm. Dans les pièces d'une hauteur maximale de 2,5 m, une section verticale de 0,3 m est autorisée.La longueur totale de la section horizontale du tuyau ne dépasse pas 3 m, et dans les bâtiments existants pas plus de 6 m, et il doit pas plus de trois tours sur toute la longueur du tuyau de raccordement. Les tuyaux sont posés avec une pente d'au moins 0,01 vers l'appareil à gaz et uniquement dans des locaux non résidentiels. Les cheminées, en règle générale, sont disposées dans les murs intérieurs des bâtiments. Les cheminées ne doivent pas avoir de sections horizontales et, sous l'entrée du tuyau de raccordement dans la cheminée, il est nécessaire de disposer une poche d'une profondeur d'au moins 250 mm avec une trappe pour le nettoyer.
Pendant le fonctionnement normal des appareils à gaz, la valeur de vide au point de sortie des produits de combustion du disjoncteur de traction doit être de 0,4 à 0,7 mm d'eau. De l'art.
selon le type d'appareil. Avec un vide faible, une partie des produits de combustion pénètre dans la pièce et, dans certains cas, le tirage se renverse. La section de la cheminée est déterminée par calcul. Pour les chauffe-eau avec une charge thermique de 20 000 à 25 000 kcal / heure, la section ne doit pas être inférieure à 150 cm2.
Les gaz de pétrole liquéfiés sont utilisés pour l'approvisionnement en gaz. Le gaz liquéfié est stocké dans des bouteilles qui, selon leur taille, sont installées directement dans la cuisine, en métal. placard à l'extérieur du mur du bâtiment ou enterré dans le sol. Dans les deux premiers cas, le gaz s'écoule par de courts tuyaux de raccordement directement vers les appareils à gaz, et dans ces derniers, à partir du réservoir situé dans le sol, il y a des gazoducs souterrains dans la cour, transportant du gaz vers un ou plusieurs bâtiments.
Les gazoducs sont testés à l'air après inspection externe et élimination de tous les défauts visibles. Les gazoducs externes - succursales d'abonnés - sont testés de la même manière que les gazoducs urbains. Le réseau de gaz interne des bâtiments et des bâtiments résidentiels et communautaires est testé pour sa résistance et sa densité. Le test de résistance des gazoducs à basse pression est effectué à une pression de 1 h. Les gazoducs des bâtiments résidentiels sont testés pour la densité avec une pression de 400 mm d'eau. De l'art. avec un compteur installé et des appareils à gaz connectés.
Appareils à gaz
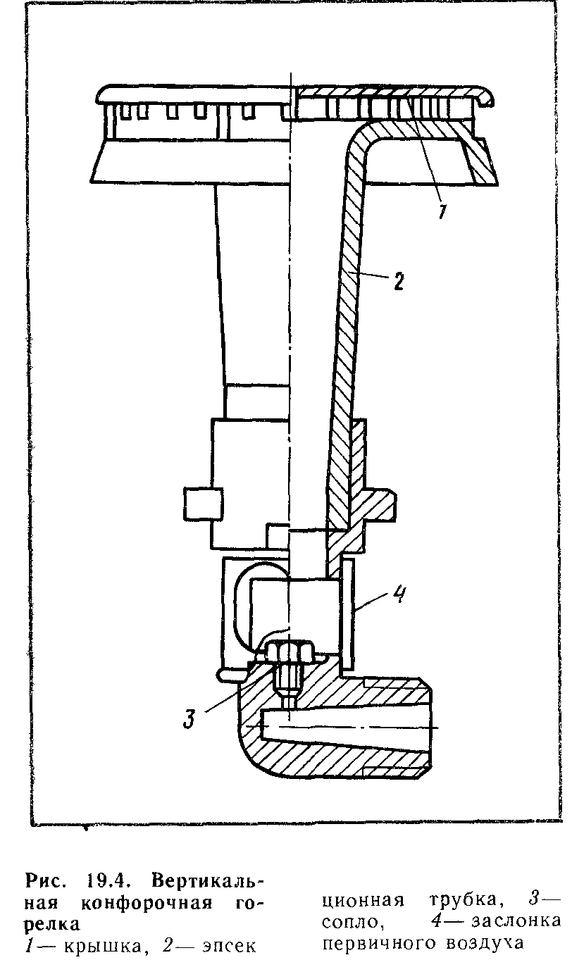
Dans les bâtiments résidentiels et publics, le gaz est utilisé pour la cuisine et l'eau chaude. Les principaux appareils utilisés pour alimenter les bâtiments en gaz sont les cuisinières, les chauffe-eau, les chaudières, les bouilloires, les fours et les réfrigérateurs. Le fonctionnement des appareils à gaz est caractérisé par les indicateurs suivants: 1) la charge thermique, ou la quantité de chaleur dans le gaz qui est consommée par l'appareil, en kW; 2) productivité, ou quantité de chaleur utile transférée au corps chauffé, en kW; 3) Efficacité, qui est le rapport entre les performances et la charge thermique de l'appareil. La charge nominale est considérée comme la charge à laquelle le dispositif à gaz fonctionne le plus efficacement, c'est-à-dire avec le moins de sous-combustion chimique du gaz, le rendement le plus élevé, et développe les performances nominales.À charge nominale, des contraintes thermiques dangereuses ne doivent pas apparaître dans les éléments structurels de l'appareil, ce qui réduirait sa durée de vie. La charge thermique limite (maximale) est considérée comme une charge dépassant la charge nominale de 20%. À cette charge, les performances de l'appareil ne doivent pas se détériorer sensiblement. Les appareils à gaz installés dans les bâtiments résidentiels et publics fonctionnent à basse pression, ils sont équipés de brûleurs à éjection atmosphérique. Les cuisinières à gaz domestiques sont fabriquées avec deux, trois et quatre brûleurs avec et sans fours. Ils se composent des parties principales suivantes: un corps, un four de travail avec inserts de brûleur, un four, des brûleurs à gaz (brûleurs supérieurs, ainsi que pour une armoire), un dispositif de distribution de gaz avec des robinets. Les détails des poêles ménagers sont fabriqués à partir de matériaux résistants à la chaleur, à la corrosion et durables. La surface et les détails de la dalle (à l'exception du mur du fond) sont recouverts d'émail blanc. La hauteur de la table de travail des poêles ménagers est de 850 mm et la largeur n'est pas inférieure à 500 mm. La distance entre les centres des zones de cuisson adjacentes est de 230 mm. Les brûleurs du brûleur ont les charges nominales suivantes: puissance normale 1,9 kW, puissance élevée 2,8 kW. Les cuisinières à quatre brûleurs peuvent être équipées d'un brûleur haute puissance. La charge nominale des brûleurs doit assurer un chauffage uniforme du four à une température de 285 ... 300 ° C en 25 minutes maximum. Selon le GOST actuel, l'efficacité des brûleurs doit être d'au moins 56% et l'efficacité des poêles avec évacuation des produits de combustion dans la cheminée doit être d'au moins 40%. La teneur en monoxyde de carbone dans les produits de combustion pendant le fonctionnement des brûleurs à charge nominale ne doit pas dépasser 0,05% en termes de gaz de combustion secs et un excès d'air égal à un (a = 1). Les brûleurs ajustés doivent fonctionner de manière stable, sans séparation ni percée de la flamme, avec un changement de la chaleur de combustion du gaz à ± 10% et la charge thermique du maximum à 0,2 nominal. Les cuisinières à gaz domestiques sont équipées de brûleurs atmosphériques qui déchargent les produits de combustion directement dans la cuisine. Une partie de l'air de combustion (air primaire) est éjectée par le gaz sortant des buses du brûleur; le reste (air secondaire) entre dans la flamme directement depuis l'environnement. L'air pénètre dans les brûleurs du four par des fentes et des trous spéciaux dans le poêle. Les produits de combustion des brûleurs du brûleur traversent l'espace entre le bas de la batterie de cuisine et la table de travail du poêle, montent le long des parois de la batterie de cuisine, les chauffent et pénètrent dans l'atmosphère environnante. Les produits de combustion chauffent le four et pénètrent dans la cuisine par des ouvertures sur le côté ou à l'arrière du poêle. L'élimination des produits de combustion directement dans la pièce impose des exigences élevées sur les qualités constructives des brûleurs, qui doivent assurer une combustion complète du gaz. Les principales raisons de l'incomplétude chimique de la combustion du gaz dans les brûleurs des brûleurs sont: a) l'effet de refroidissement des parois des plats, qui peut conduire à des réactions de combustion chimiques incomplètes, à la formation de CO et de suie; b) mélange insatisfaisant du gaz avec l'air primaire dans le trajet d'écoulement de l'éjecteur; c) mauvaise organisation de l'alimentation en air secondaire et élimination des produits de combustion. Pour éliminer ces raisons, il est nécessaire de concevoir les dispositifs de brûleur à gaz du poêle de manière à ce que les conditions suivantes soient remplies: a) les brûleurs doivent fonctionner avec le coefficient maximum d'air primaire, assurant une flamme stable à toutes les capacités; b) l'emplacement du brûleur par rapport au fond de la batterie de cuisine devrait assurer un bon lavage avec les produits de combustion et exclure la possibilité de contact du cône de flamme interne avec son fond; c) la distance entre le fond de la casserole et le brûleur doit être optimale, car avec une augmentation de cette distance, l'excès d'air augmente et l'efficacité du brûleur diminue, et avec une diminution, l'incomplétude chimique de la combustion augmente.La valeur de la distance optimale dépend de la charge thermique, du coefficient d'air primaire, de la taille du trou du brûleur et du fond de l'ustensile. Pour les brûleurs avec une charge thermique de 1,75 ... 1,9 kW avec un diamètre de trou de brûleur de 200 ... 220 mm, la distance optimale est d'environ 20 mm; d) la forme du profil de la partie d'écoulement du tube d'éjection doit être optimale; e) l'évacuation des produits de combustion à travers l'espace entre le fond de la casserole et la table de travail est assurée (l'espace doit être d'au moins 8 mm). Pour que les poêles puissent fonctionner avec des combustibles gazeux avec différentes chaleurs de combustion, plusieurs buses remplaçables avec des diamètres de trous correspondant à la chaleur de combustion du gaz et à la pression nominale sont utilisées. Pour éviter toute ouverture accidentelle, les robinets de tous les brûleurs doivent avoir des verrous pour la position de fermeture.La poignée du robinet du four doit être différente des autres poignées en forme ou en couleur. Les parois du four doivent avoir une isolation thermique sous la forme d'un entrefer ou d'une couche de matériau isolant afin que la température à la surface du poêle ne dépasse pas 120 ° C. Le poêle à quatre brûleurs CCGT a une table de travail avec quatre brûleurs verticaux illustrés à la Fig. 19.3.


Figure. 19.3. Brûleur à gaz atmosphérique pour cuisinière domestique 1 - tube d'éjection. 2 - capuchon, 3 - registre pour la régulation de l'air primaire, 4 - buse


Le poêle dispose d'une armoire de torréfaction et de séchage. Un voyant est monté dans la porte du four. Le four est isolé avec du laitier. La table de cuisson est fermée et équipée de grilles de plaques de cuisson. Le four est situé au milieu du poêle et est chauffé par un brûleur atmosphérique dont la tête est réalisée sous la forme d'un tube annulaire. Sur un brûleur à brûleur vertical, les trous dans la tête ont une dimension de sortie et un pas pour empêcher les flammes de fusionner. Pour répandre la flamme le long des trous de cuisson, le couvercle en acier embouti a une bride, qui est située au-dessus des torches du brûleur. Il fournit un anneau de flamme, ce qui crée les conditions d'allumage des torches adjacentes et assure la stabilité de la combustion en ce qui concerne le passage de la flamme. Les chauffe-eau instantanés et à accumulation sont des échangeurs de chaleur utilisés pour l'approvisionnement local en eau chaude. Pour les chauffe-eau instantanés, le mode de préparation d'eau chaude correspond au mode de consommation. Ils chauffent l'eau jusqu'à 50 ... 60 ° С et la distribuent 1 à 2 minutes après la mise en marche de l'appareil. Ils sont souvent appelés à action rapide. Pour les préparateurs ECS, le mode de préparation d'eau peut ne pas correspondre au mode de consommation d'eau. L'eau des chauffe-eau à accumulation est chauffée jusqu'à 8 О ... 9 О ° С. Les chauffe-eau doivent répondre aux exigences suivantes: 1) Leur efficacité doit être d'au moins 82%. Les chauffe-eau doivent fonctionner normalement à une pression d'eau du robinet de 0,05 à 0,6 MPa. Une température d'eau chaude constante doit être créée 1 à 2 minutes après la mise en marche de l'appareil. Dans les réservoirs de stockage, l'eau est chauffée pendant 60 ... 70 minutes. Les chauffe-eau sont équipés de disjoncteurs de tirage et de fusibles de tirage inversé. La température des produits de combustion devant le hacheur doit être d'au moins 180 ° C. La surface extérieure du chauffe-eau est recouverte d'émail blanc; la température de surface pendant le fonctionnement de l'appareil à charge nominale ne doit pas dépasser la température ambiante de plus de 50 ° С; 2) les chauffe-eau doivent être équipés d'un brûleur principal et d'un brûleur d'allumage. La flamme du brûleur pilote allume instantanément le gaz sur le brûleur principal. Son débit maximal à travers le brûleur d'allumage à une pression nominale est de 35 l / s. Le brûleur principal doit avoir une flamme constante. La hauteur de la flamme des chauffe-eau instantanés ne doit pas dépasser 80 mm à charge nominale et 150 mm au maximum. Les brûleurs doivent assurer une combustion stable du gaz sans séparation ni percée de flamme lorsque la charge thermique passe de 0,2 à 1,25 nominal.Lorsqu'on travaille avec la charge maximale, la teneur en monoxyde de carbone CO dans les produits de combustion ne doit pas dépasser 0,1% du volume de produits secs à un débit d'air théorique a = 1; 3) chaque chauffe-eau doit être équipé de dispositifs de blocage et de sécurité qui permettent au gaz de passer au brûleur principal uniquement lorsque l'allumeur est allumé et cessent de l'alimenter lorsque l'allumeur s'éteint. Les chauffe-eau instantanés sont équipés de dispositifs de sécurité, grâce auxquels le brûleur principal est éteint en cas d'arrêt du prélèvement d'eau chaude ou lorsque sa pression chute en dessous de la limite réglée. Les réservoirs d'ECS sont équipés d'un contrôle automatique de la température de l'eau chaude, qui garantit que le brûleur principal est éteint lorsque l'eau est chauffée au-dessus d'une valeur prédéfinie. Les chauffe-eau instantanés se composent des parties principales suivantes: 1) un échangeur de chaleur, comprenant une chambre de combustion, un serpentin et un appareil de chauffage; 2) un brûleur à gaz avec un allumeur; 3) un dispositif de sortie de gaz avec un disjoncteur de traction et un dispositif de sécurité anti-tirage; 4) dispositifs de blocage, de sécurité et de régulation; 5) une enveloppe extérieure en métal émaillé; 6) un système de pliage d'eau avec des robinets et un filet de douche. Un chauffe-eau instantané automatique VPG, conçu pour l'échantillonnage d'eau multipoint, est illustré à la Fig. 19.5. Nominal
la charge thermique des chauffe-eau de type VPG est de 21 ... 23 kW.


⇐ Précédent12
Vous n'avez pas trouvé ce que vous recherchiez? Utilisez la recherche Google sur le site:




