Caractéristiques de l'installation de chaudières à gaz et d'équipement de four
L'installation de chaudières à gaz doit être réalisée conformément aux exigences des documents réglementaires. Les locataires eux-mêmes, les propriétaires de l'immeuble ne peuvent pas installer d'équipement au gaz. Il doit être installé conformément à un projet qui ne peut être développé que par une organisation autorisée à le faire.
Les chaudières à gaz sont également installées (connectées) par des spécialistes d'une organisation agréée. Les sociétés commerciales, en règle générale, ont des permis pour le service après-vente d'équipements à gaz automatisés, souvent pour la conception et l'installation. Par conséquent, il est pratique d'utiliser les services d'une seule organisation.
Ci-dessous, à titre informatif, les exigences de base pour les endroits où les chaudières fonctionnant au gaz naturel peuvent être installées (raccordées à la conduite de gaz) sont données. Mais la construction de telles structures doit être réalisée conformément au projet et aux exigences des normes.
Différentes exigences pour les chaudières à chambre de combustion fermée et ouverte
Toutes les chaudières sont classées selon le type de chambre de combustion et la façon dont elle est ventilée. La chambre de combustion fermée est ventilée de force à l'aide d'un ventilateur intégré à la chaudière.
Cela vous permet de vous passer d'une cheminée haute, mais uniquement avec une section horizontale du tuyau et de prendre l'air pour le brûleur de la rue à travers un conduit d'air ou la même cheminée (cheminée coaxiale).
Par conséquent, les exigences pour le site d'installation d'une chaudière murale de faible puissance (jusqu'à 30 kW) avec une chambre de combustion fermée ne sont pas aussi strictes. Il peut être installé dans une buanderie sèche, y compris la cuisine.
L'installation d'équipement à gaz dans les salons est interdite, dans la salle de bain est interdite
Les chaudières avec un brûleur ouvert sont une autre affaire. Ils fonctionnent pour une cheminée haute (au-dessus de la crête du toit), qui crée un tirage naturel à travers la chambre de combustion. Et l'air provient directement de la pièce.
La présence d'une telle chambre de combustion entraîne la principale limitation - ces chaudières doivent être installées dans des locaux séparés qui leur sont spécialement alloués - four (chaufferies).
En savoir plus sur les caractéristiques des chaudières avec différentes chambres de combustion. Et apprenez également à choisir une chaudière économique et à créer un système de chauffage économique.
Ensuite, nous examinerons plus en détail les exigences relatives au placement des chaudières dans le four et pour cette pièce.

Où la fournaise (chaufferie) peut-elle être située
La pièce pour l'installation de chaudières peut être située à n'importe quel étage d'une maison privée, y compris au sous-sol et au sous-sol, ainsi que dans le grenier et sur le toit.
Ceux. sous le four, vous pouvez adapter une pièce à l'intérieur de la maison avec des dimensions non inférieures à la norme, dont les portes mènent à la rue. Et également équipé d'une fenêtre et d'une grille de ventilation d'une certaine zone, etc. Le four peut être situé dans un bâtiment séparé.
Quoi et comment peut être placé dans le four
Le passage libre depuis la face avant de l'équipement à gaz installé doit avoir une largeur d'au moins 1 mètre. La fournaise peut accueillir jusqu'à 4 unités d'équipement de chauffage au gaz avec des chambres de combustion fermées, mais avec une capacité totale ne dépassant pas 200 kW.
Dimensions du four
La hauteur des plafonds dans le four (chaufferie) est d'au moins 2,2 mètres, la surface au sol est d'au moins 4 mètres carrés. pour une chaudière.Mais le volume du four est régulé en fonction de la puissance de l'équipement à gaz installé: - jusqu'à 30 kW inclus - pas moins de 7,5 mètres cubes; - 30 à 60 kW inclusivement - pas moins de 13,5 mètres cubes; - 60 - 200 kW - au moins 15 mètres cubes


Qu'est-ce qui est équipé d'un four
Le four est équipé de portes donnant sur la rue d'une largeur d'au moins 0,8 mètre, ainsi que d'une fenêtre pour l'éclairage naturel d'une superficie d'au moins 0,3 mètre carré. 10 mètres cubes. fourneau.
La fournaise est fournie avec une alimentation électrique monophasée 220 V, réalisée conformément au PUE, ainsi qu'un système d'alimentation en eau relié au chauffage et à l'eau chaude, ainsi qu'un système d'égouts pouvant recevoir de l'eau en cas d'urgence. inondation, y compris dans les volumes d'une chaudière et d'un ballon tampon.
La présence dans la chaufferie de matériaux combustibles et dangereux d'incendie, y compris la finition sur les murs, n'est pas autorisée. La conduite de gaz à l'intérieur de la fournaise doit être équipée d'un dispositif d'arrêt, un pour chaque chaudière.
Comment la fournaise (chaufferie) doit être ventilée
La fournaise doit être équipée d'une ventilation par extraction, éventuellement reliée au système de ventilation de l'ensemble du bâtiment. L'air frais peut être fourni aux chaudières par la grille de ventilation, qui est installée au bas de la porte ou du mur.
De plus, la surface des trous de cette grille ne doit pas être inférieure à 8 cm carrés pour un kilowatt de puissance de chaudière. Et si l'afflux de l'intérieur du bâtiment est d'au moins 30 cm carrés. pour 1 kW.
Cheminée
Les valeurs du diamètre minimum de la cheminée en fonction de la puissance de la chaudière sont données dans le tableau.
Mais la règle de base est la suivante: la section transversale de la cheminée ne doit pas être inférieure à la surface de la sortie de la chaudière.
Chaque cheminée doit avoir un trou d'inspection situé à au moins 25 cm sous l'entrée de cheminée.
Pour un fonctionnement stable, la cheminée doit être au-dessus du faîte du toit. De plus, le tronc de cheminée (partie verticale) doit être absolument droit.
Ces informations sont fournies à titre informatif uniquement pour se faire une idée générale du four dans les maisons privées. Lors de la construction d'une pièce pour placer des équipements à gaz, il est nécessaire de se laisser guider par les solutions de conception et les exigences des documents réglementaires.
Détermination des dimensions de la chambre de combustion, du conduit de convection et de l'emplacement des brûleurs
La chambre de combustion de la chaudière conçue est un parallélépipède (à - largeur, bt - profondeur, ht - hauteur)
Le volume de la chambre de combustion est limité par le plan axial des tubes de paroi et de plafond. La section du four selon les axes des tuyaux des écrans fт est déterminée sur la base de la densité de dégagement de chaleur testée en pratique le long de la section du four qf
fт =, m2 (9)
La largeur et la profondeur de la chambre de combustion sont choisies en fonction des dimensions de la flamme des brûleurs et de leur puissance calorifique. Le projet de cours utilise des brûleurs automatiques Weishaupt []. Les dimensions de la section de la chambre de combustion sont déterminées selon le nomogramme de la figure 9.1.


Graphique 9.1
Puissance calorifique du brûleur
, kW (9,1)
où Вр est la consommation volumétrique de gaz naturel, en m3 / h;
- la chaleur la plus basse de combustion du gaz, kJ / m3.
Dans les chaudières à faible productivité (jusqu'à 25 t / h), un brûleur est installé par chaudière. Le type de brûleur approprié est sélectionné dans le catalogue [].


Le résultat du choix du brûleur est présenté dans le tableau. 9,1
Tableau 9.1
| Type de brûleur | numéro |
| Gazole Monarh 1000 ... 1000 kW |


Le volume de la chambre de combustion de la chaudière est choisi en fonction de la contrainte thermique admissible du volume de combustion.
, m3 (9,2)
Les résultats du calcul de la section, du volume et de la hauteur de la chambre de combustion sont présentés dans le tableau. 9.2
Tableau 9.2
| , m3 / s | , kJ / m3 | , kW/m2 | , m2 | , kW / m2 | , m3 | ht, m |
La plus petite section du conduit de gaz convectif est déterminée en fonction du volume de gaz à l'entrée de la mine et de leur vitesse économiquement optimale
, m2 (9,3)
où Fk est la section, m2; - température des gaz de combustion à l'entrée du conduit de gaz, оС; K est le coefficient de la zone d'écoulement libre; - vitesse optimale des fumées, m / s.
Rapport de surface d'écoulement libre
, (9.4)
où S1 est le pas du tuyau dans la section transversale à l'écoulement de gaz, mm; d - diamètre extérieur des tuyaux, mm.
S1 S1 d
flux du gaz
Présélectionné d = 51 mm, S1 = 100 mm. Les résultats des calculs sont présentés dans le tableau. 9,3
Tableau 9.3
| , m3 / h | , m3 / s | Vg, m3 / m3 | , oC | , Mme | S, millimètre | d, mm | À | , m2 |
La surface calculée des parois de la chambre de combustion
, m2 (9,5)
Volume estimé de la chambre de combustion
, m3 (9,6)
Le résultat de la détermination est présenté dans le tableau. 9.4
Tableau 9.4
| , m | , m | , m | , m2 | , m2 |
Calcul thermique de la chambre de combustion
10.1. Dissipation thermique utile dans la chambre de combustion
, kJ / m3 (10)
où est le pouvoir calorifique net du gaz naturel sec, kJ / m3 ; - la chaleur de l'air extérieur. Puisque l'air froid n'est pas préchauffé
, kJ / m3 (10,1)
Les résultats des calculs sont donnés dans le tableau. 10.1
Tableau 10.1
| , kJ / m3 | , % | , kJ / m3 | , kJ / m3 | , kJ / m3 |
Température de combustion théorique (adiabatique) du carburant.
La température, υa est déterminée à partir du tableau. 7.3 par interpolation de l'enthalpie des gaz de la chambre de combustion à l'aide de la formule
, оС (10.2)
Le résultat du calcul est présenté dans le tableau. 10.2
Tableau 10.2
| , kJ / m3 | , оС | , оС | , kJ / m3 | , kJ / m3 | , оС |
Différences entre les chaudières à tubes à gaz et à eau selon le schéma de travail
Un récipient qui vous permet de créer de la vapeur est généralement fabriqué à partir d'un ou plusieurs tuyaux. L'eau qui s'y trouve est réchauffée par les gaz chauffés libérés lors de la combustion du carburant. Cette conception implique que le gaz lui-même monte vers les tuyaux remplis d'eau, et les appareils fonctionnant selon ce principe sont appelés chaudières à tubes à gaz.
Dans un autre type de chaudières, le gaz se déplace à travers un tuyau dans le récipient même avec de l'eau. La capacité dans ce cas s'appelle un tambour et la chaudière elle-même appartient à la catégorie des tubes à eau. Les fûts remplis d'eau peuvent être situés horizontalement, verticalement, radialement ou en combinaison, en fonction des types correspondants de chaudières à tubes d'eau.


La comparaison des caractéristiques des types de chaudières considérés nous permet de tirer les conclusions suivantes:
- La première différence réside dans les différentes tailles des tuyaux utilisés. Les appareils à tube à gaz sont équipés de tuyaux assez grands par rapport aux produits utilisés dans les chaudières à tube à eau.
- La différence suivante est la différence de puissance. La valeur de puissance maximale des chaudières à tubes à gaz est de 360 kW et la pression maximale ne peut dépasser 1 MPa. La haute pression et le volume de vapeur nécessitent une augmentation de l'épaisseur de la paroi de l'appareil, ce qui affecte négativement le coût final de la chaudière. Les chaudières à tubes d'eau sont dépourvues d'un tel inconvénient - des tuyaux minces peuvent être utilisés pour elles, leur permettant d'atteindre une température et une pression plus élevées par rapport aux homologues à tube à gaz.
- Les chaudières à tubes d'eau diffèrent non seulement par leur puissance et leurs températures plus élevées. Leurs avantages incluent également la capacité de résister à de graves surcharges, ce qui indique un plus grand degré de sécurité de ces dispositifs.
Raisons d'une chute de vide dans le four de la chaudière et moyens de résoudre le problème
Une chute en dessous du seuil minimum de 9-10 Pa est considérée comme critique, avec cela il peut y avoir des problèmes de combustion, la pénétration de carburant non brûlé, les produits de sa combustion dans la pièce. Si nous excluons les erreurs dans la conception de la chambre de combustion et de la chaudière elle-même, les raisons de la baisse de vide dans le four de la chaudière sont généralement simples et facilement réparables:
- Cheminée obstruée... Les gros objets qui pénètrent dans la cheminée par la rue et la formation de suie naturelle, inhérente non seulement aux combustibles solides, mais également à toutes les autres chaudières (à gaz, à combustible liquide, combinées), peuvent bloquer l'échappement des produits de combustion, augmenter le frottement et réduire le diamètre de la cheminée. Pour éliminer le problème, vous devez nettoyer soigneusement la cheminée de la suie et des cendres à l'aide d'une brosse métallique sur un long fil, de grattoirs appropriés, de cercles qui correspondent presque au diamètre de la cheminée et d'autres outils appropriés. Même avec l'état technique normal de l'équipement de chauffage et des conditions de fonctionnement favorables, il est recommandé de nettoyer la cheminée une fois par an avant le début de la saison de chauffage.
- Problèmes d'isolation... Une isolation thermique insuffisante de la cheminée ou son absence entraîne une forte diminution de la différence de température entre l'atmosphère et les fumées, ce qui réduit en conséquence la différence de densité de l'air (raréfaction).
- Erreurs dans la conception de la cheminée... Le plus souvent, des erreurs sont commises dans la détermination de la hauteur de la cheminée (commune et sa partie rue). Pour assurer un tirage normal, la hauteur totale de la cheminée doit être d'au moins 5 mètres. Les normes relatives au saut du toit de la maison sont indiquées sur la photo ci-dessous.


La hauteur optimale de la cheminée est conforme à SNiP 41-01-2003. - Dommages au déflecteur. Le déflecteur sur le bandeau de cheminée contribue à une direction plus optimale des flux de vent et de gaz d'échappement, respectivement, si sa conception est violée, les propriétés sont perdues.
Il est également important de comprendre que le vide peut être instable et insuffisant si la différence de température dans la chambre de combustion et dans l'atmosphère n'est pas si importante, par exemple, pendant les périodes relativement chaudes en dehors de la saison de chauffage lorsque la chaudière fonctionne à la température minimale. mode.
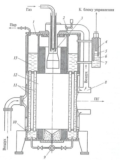
3.1. Chaudière à vapeur MZK-7AG
La chaudière à vapeur cylindrique verticale MZK-7AG de l'usine de chaudières de Moscou est une chaudière à circulation naturelle. La chaudière se compose d'un collecteur annulaire supérieur (Fig. 3.1) et inférieur, reliés entre eux par des tuyaux verticaux disposés le long de cercles concentriques en quinconce. La rangée d'anneaux intérieurs forme une chambre de combustion cylindrique. Le pas des tuyaux assure leur fixation dans les plaques tubulaires par laminage ou soudage. Pour assurer le fonctionnement de la chaudière sous pression à une surpression de 200 ... 500 Pa (20 ... 50 kgf / m2), la chambre de combustion est rendue étanche au gaz grâce à l'utilisation de tubes à ailettes soudés ensemble le long du nageoires.
Les tuyaux de blindage, entre lesquels sortent les générateurs de vapeur, sont installés plus rarement et n'ont pas d'ailettes. La surface de rayonnement du four et les rangées de tuyaux suivantes, formant une surface de convection, sont constituées de tuyaux d'un diamètre extérieur de 38 mm.
Le collecteur annulaire supérieur a un couvercle amovible offrant un accès pour l'inspection, le nettoyage et la réparation des surfaces chauffantes et des collecteurs. Le collecteur annulaire inférieur est formé par une plaque tubulaire inférieure et une bague d'arrêt estampée. L'eau d'alimentation entre dans le collecteur supérieur, descend à travers des tuyaux de convection moins chauffés dans le collecteur inférieur, et le mélange vapeur-eau qui en résulte pénètre dans le collecteur supérieur par des tuyaux de paroi d'eau, où la vapeur est séparée de l'eau.
La vapeur est évacuée du collecteur supérieur par une vanne d'arrêt de vapeur installée sur le couvercle de la chaudière. Il existe également deux soupapes de sécurité à ressort. Sur la surface latérale du collecteur supérieur, deux dispositifs indicateurs d'eau et un manomètre sont installés. La chaudière est purgée de la chambre annulaire inférieure à travers la vanne
La chaudière est équipée d'une pompe d'alimentation et d'un ventilateur. L'air de combustion est fourni par le ventilateur à travers le tuyau de dérivation au conduit d'air annulaire formé par les coques intérieure résistante à la chaleur et extérieure, qui est en même temps l'isolation thermique de la chaudière. De l'air chauffé provenant du canal annulaire à travers le conduit d'air et le registre d'air 8 est fourni au brûleur de la chaudière. Sur le. Dans le registre d'air, un registre rotatif est prévu pour la régulation marche-arrêt du débit de l'air fourni au brûleur, en fonction du débit de combustible.


Figure. 3.1. Chaudière à vapeur MZK-7AG:
casquette; amortisseur rotatif; brûleur; 4, 5, 7 électrodes, respectivement, des niveaux d'eau d'urgence supérieur et inférieur; colonne de jauge de niveau; registre de l'air; soupape de purge de chaudière; 10, 13 collecteurs annulaires inférieurs et supérieurs; - tuyaux; chambre de combustion
Le brûleur à gaz mélangeur à torche courte se compose d'un tube central à travers lequel le gaz est fourni, d'un dispositif d'allumage et de deux électrodes.Les produits de combustion à travers deux fenêtres formées par des tuyaux divergent en deux flux le long d'un conduit de gaz en forme d'anneau dans des directions opposées. En lavant les tuyaux de convection en cours de route, les flux SG sont connectés du côté opposé à l'entrée et sont détournés dans la cheminée.








