Ici vous découvrirez:
- Calcul d'un système de chauffage à air - une technique simple
- La principale méthode de calcul du système de chauffage de l'air
- Un exemple de calcul des pertes de chaleur à la maison
- Calcul de l'air dans le système
- Sélection du réchauffeur d'air
- Calcul du nombre de grilles de ventilation
- Conception du système aérodynamique
- Équipement supplémentaire augmentant l'efficacité des systèmes de chauffage de l'air
- Application de rideaux d'air thermique
De tels systèmes de chauffage sont répartis selon les critères suivants: Par type de vecteur d'énergie: systèmes avec radiateurs à vapeur, à eau, à gaz ou électriques. Par la nature du débit du liquide de refroidissement chauffé: mécanique (à l'aide de ventilateurs ou de soufflantes) et impulsion naturelle. Par le type de système de ventilation dans les pièces chauffées: flux direct, ou avec recirculation partielle ou totale.
En déterminant le lieu de chauffage du fluide caloporteur: local (la masse d'air est chauffée par des unités de chauffage locales) et central (le chauffage est effectué dans une unité centralisée commune et ensuite transporté vers les bâtiments et locaux chauffés).
Calcul d'un système de chauffage à air - une technique simple
La conception du chauffage à air n'est pas une tâche facile. Pour le résoudre, il est nécessaire de découvrir un certain nombre de facteurs dont la détermination indépendante peut être difficile. Les spécialistes RSV peuvent réaliser gratuitement pour vous un avant-projet de chauffage de l'air d'une pièce à l'aide d'un équipement GRERES.
Un système de chauffage à air, comme tout autre, ne peut pas être créé au hasard. Pour garantir la norme médicale de température et d'air frais dans la pièce, un ensemble d'équipements sera nécessaire, dont le choix est basé sur un calcul précis. Il existe plusieurs méthodes de calcul du chauffage de l'air, de divers degrés de complexité et de précision. Un problème courant avec les calculs de ce type est que l'influence des effets subtils n'est pas prise en compte, ce qui n'est pas toujours possible de prévoir.
Par conséquent, faire un calcul indépendant sans être un spécialiste dans le domaine du chauffage et de la ventilation est semé d'embûches ou d'erreurs de calcul. Cependant, vous pouvez choisir la méthode la plus abordable en fonction du choix de la puissance du système de chauffage.
Le sens de cette technique est que la puissance des appareils de chauffage, quel que soit leur type, doit compenser la perte de chaleur du bâtiment. Ainsi, après avoir trouvé la perte de chaleur, on obtient la valeur de la puissance de chauffage, selon laquelle un appareil spécifique peut être sélectionné.
Formule pour déterminer la perte de chaleur:
Q = S * T / R
Où:
- Q - la quantité de chaleur perdue (W)
- S - la superficie de toutes les structures du bâtiment (pièce)
- T - la différence entre les températures internes et externes
- R - résistance thermique des structures enveloppantes
Exemple:
Un bâtiment d'une superficie de 800 m2 (20 × 40 m), 5 m de haut, il y a 10 fenêtres mesurant 1,5 × 2 m.On retrouve la superficie des structures: 800 + 800 = 1600 m2 (sol et plafond surface) 1,5 × 2 × 10 = 30 m2 (surface de la fenêtre) (20 + 40) × 2 × 5 = 600 m2 (surface du mur). Nous soustrayons la surface des fenêtres d'ici, nous obtenons une surface de mur "propre" de 570 m2
Dans les tableaux SNiP, on retrouve la résistance thermique des murs, sols, sols et fenêtres en béton. Vous pouvez le déterminer vous-même en utilisant la formule:
Où:
- R - résistance thermique
- D - épaisseur du matériau
- K - coefficient de conductivité thermique
Pour simplifier, nous supposerons la même épaisseur des murs et du sol avec le plafond, égale à 20 cm.Ensuite, la résistance thermique sera égale à 0,2 m / 1,3 = 0,15 (m2 * K) / W Nous sélectionnons la résistance thermique des fenêtres à partir des tableaux: R = 0,4 (m2 * K) / W Nous prendrons la différence de température comme 20°С (20°C à l'intérieur et 0°C à l'extérieur).
Ensuite, pour les murs, nous obtenons
- 2150 m2 × 20 ° C / 0,15 = 286666 = 286 kW
- Pour les fenêtres: 30 m2 × 20 ° C / 0,4 = 1500 = 1,5 kW.
- Perte de chaleur totale: 286 + 1,5 = 297,5 kW.
C'est la quantité de perte de chaleur qui doit être compensée par un chauffage à air d'une puissance d'environ 300 kW.
Il est à noter que lors de l'utilisation de l'isolation des sols et des murs, la perte de chaleur est réduite d'au moins un ordre de grandeur.
Avantages et inconvénients du chauffage de l'air
Sans aucun doute, le chauffage de l'air à la maison présente un certain nombre d'avantages indéniables. Ainsi, les installateurs de tels systèmes affirment que l'efficacité atteint 93%.
De plus, en raison de la faible inertie du système, il est possible de réchauffer la pièce le plus rapidement possible.
De plus, un tel système vous permet d'intégrer indépendamment un appareil de chauffage et climatique, ce qui vous permet de maintenir une température ambiante optimale. De plus, il n'y a pas de liens intermédiaires dans le processus de transfert de chaleur à travers le système.

Circuit de chauffage à air. Cliquez pour agrandir.
En effet, un certain nombre de points positifs sont très attractifs, grâce auxquels le système de chauffage à air est très populaire aujourd'hui.
désavantages
Mais parmi un tel nombre d'avantages, il est nécessaire de mettre en évidence certains des inconvénients du chauffage de l'air.
Ainsi, les systèmes de chauffage à air d'une maison de campagne ne peuvent être installés que pendant le processus de construction de la maison elle-même, c'est-à-dire que si vous ne vous êtes pas immédiatement occupé du système de chauffage, vous ne pourrez pas le faire à la fin des travaux de construction. cette.
Il convient de noter que le dispositif de chauffage de l'air nécessite un entretien régulier, car tôt ou tard, des dysfonctionnements peuvent survenir et entraîner une panne complète de l'équipement.
L'inconvénient d'un tel système est que vous ne pouvez pas le mettre à niveau.
Si vous décidez néanmoins d'installer ce système particulier, vous devez vous occuper d'une source d'alimentation supplémentaire, car l'appareil pour le système de chauffage de l'air a un besoin considérable en électricité.
Avec tous, comme on dit, les avantages et les inconvénients du système de chauffage de l'air d'une maison privée, il est largement utilisé dans toute l'Europe, en particulier dans les pays où le climat est plus froid.
La recherche montre également qu'environ quatre-vingts pour cent des chalets d'été, des chalets et des maisons de campagne utilisent le système de chauffage à air, car cela vous permet de chauffer simultanément les pièces directement dans toute la pièce.
Les experts déconseillent fortement de prendre des décisions hâtives en la matière, ce qui peut entraîner par la suite un certain nombre de moments négatifs.
Afin d'équiper un système de chauffage de vos propres mains, vous devrez avoir un certain nombre de connaissances, ainsi que des compétences et des capacités.
De plus, vous devez être patient, car ce processus, comme le montre la pratique, prend beaucoup de temps. Bien sûr, les spécialistes s'acquitteront de cette tâche beaucoup plus rapidement qu'un développeur non professionnel, mais vous devrez payer pour cela.
Par conséquent, beaucoup préfèrent néanmoins prendre soin du système de chauffage par eux-mêmes, bien que, néanmoins, en cours de travail, vous puissiez encore avoir besoin d'aide.
N'oubliez pas qu'un système de chauffage correctement installé est la garantie d'une maison confortable, dont la chaleur vous réchauffera même dans les plus terribles gelées.
La principale méthode de calcul du système de chauffage de l'air
Le principe de base du fonctionnement de tout SVO est de transférer l'énergie thermique à travers l'air en refroidissant le liquide de refroidissement.Ses principaux éléments sont un générateur de chaleur et un caloduc.
L'air est fourni à la pièce déjà chauffée à la température tr afin de maintenir la température tv désirée. Par conséquent, la quantité d'énergie accumulée doit être égale à la perte de chaleur totale du bâtiment, c'est-à-dire Q. L'égalité a lieu :
Q = Eot × c × (tv - tn)
Dans la formule E est le débit d'air chauffé kg / s pour chauffer la pièce. A partir de l'égalité on peut exprimer Eot :
Eot = Q / (c × (tv - tn))
Rappelons que la capacité calorifique de l'air c = 1005 J / (kg × K).
Selon la formule, seule la quantité d'air fourni est déterminée, qui n'est utilisée que pour le chauffage uniquement dans les systèmes de recirculation (ci-après dénommé RSCO).


Dans les systèmes d'alimentation et de recirculation, une partie de l'air est prélevée dans la rue et l'autre partie est prélevée dans la pièce. Les deux pièces sont mélangées et, après chauffage à la température requise, sont livrées dans la pièce.
Si CBO est utilisé comme ventilation, la quantité d'air fournie est calculée comme suit:
- Si la quantité d'air pour le chauffage dépasse la quantité d'air pour la ventilation ou y est égale, la quantité d'air pour le chauffage est prise en compte et le système est choisi comme système à flux direct (ci-après dénommé PSVO) ou avec recirculation partielle (ci-après dénommée CRSVO).
- Si la quantité d'air pour le chauffage est inférieure à la quantité d'air requise pour la ventilation, alors seule la quantité d'air requise pour la ventilation est prise en compte, le PSVO est introduit (parfois - RSPO) et la température de l'air fourni est calculé par la formule: tr = tv + Q / c × événement ...
Si la valeur tr dépasse les paramètres admissibles, la quantité d'air introduite à travers la ventilation doit être augmentée.
S'il y a des sources de génération de chaleur constante dans la pièce, la température de l'air fourni est réduite.


Les appareils électriques fournis génèrent environ 1% de la chaleur de la pièce. Si un ou plusieurs appareils fonctionnent en continu, leur puissance thermique doit être prise en compte dans les calculs.
Pour une chambre simple, la valeur tr peut être différente. Il est techniquement possible de mettre en œuvre l'idée de fournir des températures différentes à des pièces individuelles, mais il est beaucoup plus facile de fournir de l'air de la même température à toutes les pièces.
Dans ce cas, la température totale tr est considérée comme celle qui s'est avérée être la plus petite. Ensuite, la quantité d'air fourni est calculée à l'aide de la formule qui détermine Eot.
Ensuite, nous déterminons la formule de calcul du volume d'air entrant Vot à sa température de chauffage tr:
Vot = Eot / pr
La réponse est enregistrée en m3 / h.
Cependant, l'échange d'air dans la pièce Vp sera différent de la valeur Vot, car il doit être déterminé en fonction de la température interne tv:
Vot = Eot / pv
Dans la formule de détermination de Vp et Vot, les indicateurs de densité de l'air pr et pv (kg / m3) sont calculés en tenant compte de la température de l'air chauffé tr et de la température ambiante tv.
La température ambiante tr doit être supérieure à celle de la télévision. Cela réduira la quantité d'air fourni et réduira la taille des canaux des systèmes à mouvement d'air naturel ou réduira les coûts d'électricité si l'induction mécanique est utilisée pour faire circuler la masse d'air chauffé.
Traditionnellement, la température maximale de l'air entrant dans la pièce lorsqu'il est alimenté à une hauteur supérieure à 3,5 m doit être de 70 ° C. Si l'air est fourni à une hauteur inférieure à 3,5 m, sa température est généralement égale à 45 ° C.
Pour les locaux d'habitation d'une hauteur de 2,5 m, la limite de température autorisée est de 60 ° C. Lorsque la température est réglée plus haut, l'atmosphère perd ses propriétés et ne convient pas à l'inhalation.
Si les rideaux thermiques à air sont situés aux portes extérieures et aux ouvertures qui sortent, la température de l'air entrant est de 70 ° C, pour les rideaux dans les portes extérieures, jusqu'à 50 ° C.
Les températures fournies sont influencées par les modes d'alimentation en air, la direction du jet (verticalement, incliné, horizontalement, etc.). Si des personnes sont constamment dans la pièce, la température de l'air fourni doit être réduite à 25 ° C.
Après avoir effectué des calculs préliminaires, vous pouvez déterminer la consommation de chaleur requise pour chauffer l'air.
Pour RSVO, les coûts de chaleur Q1 sont calculés par l'expression:
Q1 = Eot × (tr - tv) × c
Pour PSVO, Q2 est calculé à l'aide de la formule:
Q2 = Événement × (tr - tv) × c
La consommation de chaleur Q3 pour RRSVO est trouvée par l'équation :
Q3 = × c
Dans les trois expressions:
- Eot et Event - consommation d'air en kg / s pour le chauffage (Eot) et la ventilation (Event);
- tn est la température de l'air extérieur en ° С.
Le reste des caractéristiques des variables sont les mêmes.
Dans le CRSVO, la quantité d'air recyclé est déterminée par la formule:
Erec = Eot - Événement
La variable Eot exprime la quantité d'air mélangé portée à une température tr.
Il y a une particularité dans le PSVO avec une impulsion naturelle - la quantité d'air en mouvement change en fonction de la température extérieure. Si la température extérieure baisse, la pression du système augmente. Cela conduit à une augmentation de l'entrée d'air dans la maison. Si la température augmente, le processus inverse se produit.
Aussi, dans SVO, contrairement aux systèmes de ventilation, l'air se déplace avec une densité plus faible et variable par rapport à la densité de l'air entourant les conduits.
En raison de ce phénomène, les processus suivants se produisent:
- En provenance du générateur, l'air traversant les conduits d'air est sensiblement refroidi pendant le mouvement
- Avec un mouvement naturel, la quantité d'air entrant dans la pièce change pendant la saison de chauffage.
Les processus ci-dessus ne sont pas pris en compte si des ventilateurs sont utilisés dans le système de circulation d'air pour la circulation de l'air; il a également une longueur et une hauteur limitées.
Si le système comporte de nombreuses branches, plutôt longues, et que le bâtiment est grand et haut, il est alors nécessaire de réduire le processus de refroidissement de l'air dans les conduits, afin de réduire la redistribution de l'air fourni sous l'influence de la pression de circulation naturelle.


Lors du calcul de la puissance requise des systèmes de chauffage à air étendus et ramifiés, il est nécessaire de prendre en compte non seulement le processus naturel de refroidissement de la masse d'air tout en se déplaçant dans le conduit, mais également l'effet de la pression naturelle de la masse d'air lors du passage. à travers le canal
Pour contrôler le processus de refroidissement de l'air, un calcul thermique des conduits d'air est effectué. Pour ce faire, il est nécessaire de régler la température initiale de l'air et de clarifier son débit à l'aide de formules.
Pour calculer le flux thermique Qohl à travers les parois du conduit, dont la longueur est de l, utilisez la formule:
Qohl = q1 × l
Dans l'expression, la valeur q1 désigne le flux de chaleur traversant les parois d'un conduit d'air d'une longueur de 1 m. Le paramètre est calculé par l'expression:
q1 = k × S1 × (tsr - tv) = (tsr - tv) / D1
Dans l'équation, D1 est la résistance au transfert de chaleur de l'air chauffé avec une température moyenne tsr à travers la zone S1 des parois d'un conduit d'air d'une longueur de 1 m dans une pièce à une température de tv.
L'équation du bilan thermique ressemble à ceci:
q1l = Eot × c × (tnach - tr)
Dans la formule:
- Eot est la quantité d'air nécessaire pour chauffer la pièce, en kg / h;
- c - capacité thermique spécifique de l'air, kJ / (kg ° С);
- tnac - température de l'air au début du conduit, ° С;
- tr est la température de l'air évacué dans la pièce, ° С.
L'équation du bilan thermique permet de régler la température initiale de l'air dans le conduit à une température finale donnée et, inversement, de connaître la température finale à une température initiale donnée, ainsi que de déterminer le débit d'air.
La température tnach peut également être trouvée en utilisant la formule:
tnach = tv + ((Q + (1 - η) × Qohl)) × (tr - tv)
Ici, η est la partie de Qohl entrant dans la pièce; dans les calculs, elle est prise égale à zéro. Les caractéristiques des variables restantes ont été mentionnées ci-dessus.
La formule de débit d'air chaud raffiné ressemblera à ceci:
Eot = (Q + (1 - η) × Qohl) / (c × (tsr - tv))
Passons à un exemple de calcul du chauffage de l'air pour une maison spécifique.
Seconde phase
2. Connaissant la perte de chaleur, nous calculons le débit d'air dans le système en utilisant la formule
G = Qп / (с * (tg-tv))
G- débit d'air massique, kg / s
Qp - perte de chaleur de la pièce, J / s
C - capacité thermique de l'air, prise égale à 1,005 kJ / kgK
tg - température de l'air chauffé (entrée), K
tv - température de l'air dans la pièce, K
Nous vous rappelons que K = 273 ° C, c'est-à-dire que pour convertir vos degrés Celsius en degrés Kelvin, vous devez leur ajouter 273. Et pour convertir kg / s en kg / h, vous devez multiplier kg / s par 3600 .
En savoir plus: Schéma du système de chauffage à deux tubes
Avant de calculer le débit d'air, il est nécessaire de connaître les taux de renouvellement d'air pour un type de bâtiment donné. La température maximale de l'air soufflé est de 60 ° C, mais si l'air est fourni à une hauteur inférieure à 3 m du sol, cette température tombe à 45 ° C.
Encore un autre, lors de la conception d'un système de chauffage d'air, il est possible d'utiliser certains moyens d'économie d'énergie, tels que la récupération ou la recirculation. Lors du calcul de la quantité d'air dans un système dans de telles conditions, vous devez être en mesure d'utiliser le diagramme d'identification de l'air humide.
Un exemple de calcul des pertes de chaleur à la maison
La maison en question est située dans la ville de Kostroma, où la température à l'extérieur de la fenêtre pendant la période de cinq jours la plus froide atteint -31 degrés, la température du sol est de + 5 ° C. La température ambiante souhaitée est de + 22 ° C.
Nous considérerons une maison avec les dimensions suivantes:
- largeur - 6,78 m;
- longueur - 8,04 m;
- hauteur - 2,8 m.
Les valeurs seront utilisées pour calculer la surface des éléments englobants.


Pour les calculs, il est plus pratique de dessiner un plan de maison sur papier, en indiquant la largeur, la longueur, la hauteur du bâtiment, l'emplacement des fenêtres et des portes, leurs dimensions
Les murs du bâtiment se composent de:
- béton cellulaire d'une épaisseur de B = 0,21 m, coefficient de conductivité thermique k = 2,87;
- mousse B = 0,05 m, k = 1,678;
- brique de parement В = 0,09 m, k = 2,26.
Lors de la détermination de k, les informations des tableaux doivent être utilisées, ou mieux, les informations d'un passeport technique, car la composition des matériaux de différents fabricants peut différer, par conséquent, avoir des caractéristiques différentes.


Le béton armé a la conductivité thermique la plus élevée, les dalles de laine minérale - la plus basse, elles sont donc utilisées le plus efficacement dans la construction de maisons chaudes
Le sol de la maison se compose des couches suivantes:
- sable, B = 0,10 m, k = 0,58;
- pierre concassée, B = 0,10 m, k = 0,13;
- béton, B = 0,20 m, k = 1,1;
- isolation ecowool, B = 0,20 m, k = 0,043;
- chape renforcée, B = 0,30 m k = 0,93.
Dans le plan ci-dessus de la maison, le sol a la même structure dans toute la zone, il n'y a pas de sous-sol.
Le plafond se compose de:
- laine minérale, B = 0,10 m, k = 0,05;
- cloison sèche, B = 0,025 m, k = 0,21;
- boucliers en pin, B = 0,05 m, k = 0,35.
Le plafond n'a pas de sortie vers le grenier.
Il n'y a que 8 fenêtres dans la maison, toutes sont à deux chambres avec verre K, argon, D = 0,6. Six fenêtres ont des dimensions de 1,2x1,5 m, une de 1,2x2 m et une de 0,3x0,5 m. Les portes ont des dimensions de 1x2,2 m, l'indice D selon le passeport est de 0,36.
Les bâtiments d'élevage doivent être équipés de système de ventilation d'alimentation et d'échappement... L'échange d'air en eux pendant la période froide de l'année est effectué par ventilation forcée pendant la période chaude - un système de ventilation mixte. Dans toutes les pièces, en règle générale, la pression d'air doit être fournie: le flux entrant doit dépasser la hotte d'extraction de 10 à 20%.
Le système de ventilation doit fournir les échange d'air et calcul des paramètres de l'air dans les bâtiments d'élevage. L'échange d'air requis doit être déterminé en fonction des conditions permettant de maintenir les paramètres spécifiés du microclimat intérieur et d'éliminer la plus grande quantité de substances nocives, en tenant compte des périodes froides, chaudes et transitoires de l'année.
Pour maintenir des paramètres de microclimat scientifiquement fondés dans les bâtiments d'élevage et de volaille, des systèmes de ventilation mécanique combinés au chauffage de l'air sont utilisés. En même temps, l'air d'alimentation est nettoyé de la poussière, désinfecté (désinfecté).
Le système de ventilation doit maintenir un régime optimal de température et d'humidité et la composition chimique de l'air dans les locaux, créer l'échange d'air nécessaire, assurer la distribution et la circulation uniformes nécessaires de l'air pour éviter les zones stagnantes, empêcher la condensation des vapeurs sur les surfaces internes des clôtures (murs, plafonds, etc.), créent des conditions normales pour le travail du personnel de service. Pour cela, l'industrie produit des ensembles d'équipements «Climate-2», «Climate-3», «Climate-4», «Climate-70» et d'autres équipements.
Kits "Climat-2"Et"Climat-W»Sont utilisés pour le contrôle automatique et manuel des conditions de température et d'humidité dans les bâtiments d'élevage et de volaille alimentés en chaleur par des chaufferies avec chauffe-eau. Les deux ensembles sont du même type et sont disponibles en quatre versions chacun, et les versions ne diffèrent que par la taille (alimentation en air) des ventilateurs d'alimentation et le nombre de ventilateurs d'extraction. "Climate-3" est équipé d'une vanne de régulation automatique sur la conduite d'alimentation en eau chaude des aérothermes des unités de ventilation et de chauffage et est utilisé dans les pièces présentant des exigences accrues en matière de paramètres de microclimat.


Figure. 1. Équipement «Climate-3»:
1 - poste de contrôle; 2 - soupape de commande; 3 - unités de ventilation et de chauffage; 4 - électrovanne; 5 - réservoir de pression pour l'eau; 6 - conduits d'air; 7 - ventilateur d'extraction; 8 - capteur.
L'ensemble d'équipement "Climate-3" se compose de deux unités de ventilation et de chauffage 3 (Fig.1), d'un système d'humidification de l'air, de conduits d'air d'alimentation 6, d'un ensemble de ventilateurs d'extraction 7 (16 ou 30 pièces), Installé dans les parois longitudinales de la pièce, ainsi que le poste de commande 1 avec panneau de détection 8.
L'unité de ventilation et de chauffage 3 est conçue pour la journée de chauffage et d'alimentation en eau des locaux avec de l'air chaud en hiver et de l'air atmosphérique en été avec humidification si nécessaire. Il comprend quatre chauffe-eau avec une grille à lamelles ajustables, un ventilateur centrifuge avec un moteur électrique à quatre vitesses, fournissant divers débits d'air et pressions.
DANS système d'humidification de l'air comprend un arroseur (un moteur électrique avec un disque sur un arbre) installé dans le tuyau de dérivation entre les aérothermes et la turbine du ventilateur, ainsi qu'un réservoir sous pression 5 et un tuyau d'alimentation en eau vers l'arroseur équipé d'une électrovanne 4, qui régule automatiquement le degré d'humidification de l'air. Pour sélectionner de grosses gouttes d'eau dans l'air humidifié, un séparateur de gouttelettes est installé sur le tuyau d'évacuation du ventilateur, composé de plaques en forme de coupure.
Les ventilateurs d'extraction 7 éliminent l'air pollué de la pièce. Ils sont équipés d'une vanne de type obturateur en sortie, qui s'ouvre sous l'action du flux d'air. L'alimentation en air est régulée en modifiant la vitesse de rotation de l'arbre du moteur électrique, sur lequel l'hélice à larges pales est usée.
La station de commande 1 avec un panneau de capteurs est conçue pour la commande automatique ou manuelle du système de ventilation.
L'eau chaude de la chaufferie est fournie aux aérothermes des unités de ventilation et de chauffage 3 via la vanne de régulation 2.
L'air atmosphérique aspiré à travers les appareils de chauffage y est chauffé et est fourni par un ventilateur à travers les conduits de distribution 6 vers la pièce. Lorsque les ventilateurs d'extraction fonctionnent, ils sont dirigés dans les zones de respiration des animaux, puis jetés.
Lorsque la température dans la pièce dépasse la valeur de consigne, la vanne 2 se ferme automatiquement, limitant ainsi l'alimentation en eau chaude des radiateurs et augmentant la vitesse de rotation des ventilateurs d'extraction 7. Lorsque la température descend en dessous de la valeur de consigne, l'ouverture de la vanne 2 augmente automatiquement et la vitesse de rotation des ventilateurs 7 diminue.
Pendant la période estivale, les ventilateurs de débit ne sont activés que pour humidifier l'air et la ventilation se produit en raison du fonctionnement des ventilateurs d'extraction.
À faible humidité de l'air, l'eau du réservoir 5 est acheminée par la canalisation vers le disque rotatif de l'arroseur, de petites gouttes sont capturées par le flux d'air pour s'évaporer, humidifiant l'air d'alimentation, - les grandes - sont retenues dans le récupérateur de gouttes et s'écouler dans le tuyau dans l'égout. Lorsque l'humidité de la pièce dépasse la valeur réglée, l'électrovanne s'arrête automatiquement et réduit l'alimentation en eau de l'arroseur.
Les limites de la température et de l'humidité réglées dans la pièce sont réglées sur le panneau du poste de commande 1. Les signaux concernant les écarts par rapport aux paramètres réglés sont reçus des capteurs 8.
Kit "Climat-4", Utilisé pour maintenir l'échange d'air et la température requis dans les installations de production, diffère des équipements" Climat-2 "et" Climat-3 "en l'absence d'appareils de chauffage et d'alimentation en air dans la pièce. L'ensemble comprend 14 à 24 ventilateurs d'extraction et un dispositif de contrôle automatique avec des capteurs de température.
Kit "Climat-70»Est conçu pour créer le microclimat nécessaire dans les bâtiments avicoles pour l'élevage en cage des volailles. Il assure l'échange d'air, le chauffage et l'humidification de l'air et se compose de deux unités d'alimentation et de chauffage avec un conduit de distribution central situé le long du haut de la pièce. Selon la longueur du bâtiment, 10 à 14 modules sont reliés au conduit d'air, assurant le mélange de l'air chaud avec l'air atmosphérique et sa répartition uniforme sur tout le volume du bâtiment. Des ventilateurs d'extraction sont installés dans les murs du bâtiment.
Le module se compose d'un distributeur d'air relié au conduit d'air central, ainsi que de deux nacelles d'alimentation dans les ventilateurs. Un ensemble d'unités de traitement d'air PVU-6Mi et PVU-4M. Pour assurer automatiquement une circulation d'air constante dans les bâtiments d'élevage, maintenir la température dans des limites spécifiées pendant les périodes froides et transitoires de l'année, ainsi qu'ajuster les échanges d'air en fonction des températures de l'air extérieur et intérieur, utilisez des ensembles de PVU-6M et PVU- Unités de 4M.
Chaque ensemble se compose de six puits d'alimentation et d'échappement installés dans le sol du bâtiment, de six blocs d'alimentation et d'un panneau de commande avec capteurs de température.
Radiateurs électriques de la série SFOTs. La puissance de ces unités est de 5, 10, 16, 25, 40, 60 et 100 kW. Ils sont utilisés pour chauffer l'air dans les systèmes de ventilation.
L'unité se compose d'un radiateur électrique et d'un ventilateur avec un moteur électrique, situés sur un châssis.
L'air atmosphérique aspiré par le ventilateur de l'électro-chauffage est chauffé (jusqu'à une température de 90 ° C) par des éléments chauffants tubulaires nervurés constitués d'un tube en acier à l'intérieur duquel une spirale sur un fil fin est placée dans un isolant électrique. L'air chauffé est fourni à la pièce. La puissance thermique est régulée en modifiant le nombre d'éléments chauffants connectés au réseau lors de l'utilisation de la puissance de 100, 67 et 33%.


Fig. 2. Aérotherme type TV:
A - vue générale: 1 - cadre; 2 - ventilateur; 3 - bloc chauffant; 4 - bloc persiennes; 5 - actionneur; 6 - panneau d'isolation thermique et acoustique; 7 - tuyau de dérivation; 6 - tendeur; 9 - moteur de ventilateur; 10 - poulies; 11 - Transmission par courroie trapézoïdale; 12 - joint en caoutchouc.
В - schéma fonctionnel: 1 - ventilateur centrifuge; 2 - bloc persiennes; 3 - bloc chauffant; 4 - actionneur; 5 - bloc du régulateur de température; 6 - tuyau de dérivation.
Aérothermes TV-6, TV-9, TV-12, TV-24 et TV-36. Ces aérothermes sont conçus pour fournir des paramètres de microclimat optimaux dans les bâtiments d'élevage. Le radiateur soufflant comprend un ventilateur centrifuge avec un moteur électrique à deux vitesses, un chauffe-eau, une unité d'auvent et un actionneur (Fig. 2).
Lorsqu'il est allumé, le ventilateur aspire l'air extérieur à travers le bloc de persiennes, le radiateur et, lorsqu'il est chauffé, le pompe dans le tuyau de sortie.
Les aérothermes de différentes tailles standard diffèrent par la production d'air et de chaleur.
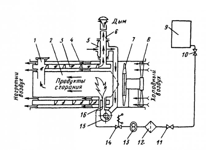
Générateurs de chaleur incendie GTG-1A, TG-F-1.5A, TG-F-2.5B, TG-F-350 et unités de four TAU-0.75. Ils sont utilisés pour maintenir un microclimat optimal dans le bétail et d'autres bâtiments, ont les mêmes schémas technologiques de travail et diffèrent par leurs performances thermiques et aériennes. Chacun d'eux est une unité de chauffage de l'air avec des produits de combustion de combustibles liquides.


Fig. 3. Schéma du générateur de chaleur TG-F-1.5A:
1 - soupape explosive; 2 - chambre de combustion; 3 - échangeur de chaleur; 4 - cloison en spirale; 5 - récupérateur; 6 - cheminée; 7 - ventilateur principal; 8 - grille à persiennes; 9 - réservoir de carburant; 10 - vanne à boisseau DU15; 11 - Grue KR-25; 12 - filtre-puisard; 13 - pompe à carburant; 14 - électrovanne; 10 - ventilateur de buse; 16 - buse.
Le générateur de chaleur TG-F-1.5A est constitué d'un carter cylindrique, à l'intérieur duquel se trouve une chambre de combustion 2 (Fig.3) avec une soupape explosive 1 et une cheminée 6. Entre le carter et la chambre de combustion, il y a un échangeur de chaleur 3 avec une cloison en spirale 4. Un ventilateur est installé dans le boîtier 7 avec un moteur électrique et une grille à lamelles 8. Sur la surface latérale du boîtier, une armoire de commande et un transformateur d'allumage sont fixés et des supports sont soudés à la surface inférieure. pour la fixation à la fondation. Le générateur de chaleur est équipé d'un réservoir de carburant 9, d'une pompe 13, d'une buse 16 et d'un ventilateur de buse qui aspire l'air chauffé du récupérateur 5 et le fournit à la chambre de combustion.
Le carburant liquide (réchaud domestique) du réservoir 9 à travers les robinets 10 et 11 du carter-filtre 12 est fourni à la pompe 13. Sous une pression allant jusqu'à 1,2 MPa, il est fourni à la buse 16. Le carburant atomisé est mélangé avec l'air provenant du ventilateur 15, et forme un mélange combustible qui est enflammé par une bougie. Les fumées de la chambre de combustion 2 pénètrent dans le trajet hélicoïdal de l'échangeur de chaleur annulaire 3, le traversent et sortent par la cheminée 6 dans l'atmosphère.
L'air fourni par le ventilateur 7 lave la chambre de combustion et l'échangeur de chaleur, se réchauffe et est acheminé vers la pièce chauffée. Le degré de chauffage de l'air est régulé en tournant les pales des volets 8. En cas d'explosion de vapeur de carburant dans la chambre de combustion, la soupape explosive 1 s'ouvrira, protégeant le générateur de chaleur de la destruction.


Fig. 4. Unité de ventilation récupérateur de chaleur UT-F-12:
a - schéma d'installation; b - caloduc; 1 et 8 - ventilateurs d'alimentation et d'extraction; 2 - amortisseurs de régulation; 3 - stores; 4 - canal de dérivation; 5 et 7 - sections de condensation et d'évaporation de l'échangeur de chaleur; 6 - cloisonnement; 9 - filtre.
Unité de ventilation à récupération de chaleur UT-F-12. Une telle installation est destinée à la ventilation et au chauffage des bâtiments d'élevage et à l'utilisation de la chaleur de l'air extrait. Il se compose de sections évaporatives 7 (Fig.4) et de condensation 5, ventilateurs axiaux d'alimentation 1 et d'échappement 8, filtre en tissu 9, canal de dérivation 4 avec registres 2 et volets 3.
L'échangeur de chaleur de l'installation comporte 200 caloducs autonomes, divisés en son milieu par une cloison hermétique 6 en sections d'évaporation 7 et de condensation 5. Les caloducs (Fig.2, B) sont en acier, ont des ailettes en aluminium et sont remplis à 25% de fréon - 12.
L'air chaud évacué de la pièce par le ventilateur axial d'extraction 8 traverse le filtre 9, la section d'évaporation 7 et est évacué dans l'atmosphère. Dans ce cas, le fréon dans les caloducs s'évapore avec la consommation de chaleur de l'air d'échappement. Ses vapeurs se déplacent vers le haut dans la section de condensation 5. Dans celle-ci, sous l'influence de l'air froid d'alimentation, les vapeurs de fréon se condensent avec le dégagement de chaleur et retournent à la section d'évaporation. En raison du transfert de chaleur de la section d'évaporation, l'air d'alimentation, fourni à la pièce par le ventilateur 1, se réchauffe. Le processus se déroule en continu, assurant le retour de la chaleur de l'air évacué dans la pièce.
A une température de l'air d'alimentation très basse, afin d'éviter le gel des caloducs, une partie de l'air d'alimentation est amenée dans la pièce sans chauffage dans la section 5 par le canal de dérivation, fermant les volets 3 et ouvrant les volets 2.
En hiver, lorsque l'air d'alimentation est de 12 mille m3 / h, la puissance thermique est de 64 ... 80 kW, le facteur d'efficacité est de 0,4 ... 0,5, la puissance installée des moteurs électriques est de 15 kW.
La réduction de la consommation de chaleur pour le chauffage de l'air soufflé par rapport aux systèmes existants lors de l'utilisation de l'UT-F-12 est de 30 ... 40 %, et l'économie de carburant - 30 tonnes de carburant standard par an.
En plus de l'UT-F-12 pour ventilation des locaux avec l'extraction de la chaleur de l'air évacué des locaux et son transfert à l'air propre fourni à la pièce, des échangeurs de chaleur à régénération, des échangeurs de chaleur à récupération à plaques avec un caloporteur intermédiaire peuvent être utilisés.
Calcul du nombre de grilles de ventilation
Le nombre de grilles de ventilation et la vitesse de l'air dans le conduit sont calculés:
1) Nous définissons le nombre de treillis et choisissons leurs tailles dans le catalogue
2) Connaissant leur nombre et leur consommation d'air, nous calculons la quantité d'air pour 1 gril
3) Nous calculons la vitesse de sortie de l'air du distributeur d'air selon la formule V = q / S, où q est la quantité d'air par grille, et S est la surface du distributeur d'air. Il est impératif que vous vous familiarisiez avec le débit de sortie standard, et ce n'est qu'après que la vitesse calculée est inférieure à la vitesse standard que l'on peut considérer que le nombre de réseaux est sélectionné correctement.
Quels types y a-t-il
Il existe deux façons de faire circuler l'air dans le système: naturel et forcé. La différence est que dans le premier cas, l'air chauffé se déplace selon les lois de la physique, et dans le second, à l'aide de ventilateurs. Par la méthode d'échange d'air, les appareils sont divisés en:
- recirculation - utiliser l'air directement de la pièce;
- recirculation partielle - utiliser partiellement l'air de la pièce;
- affluxen utilisant l'air de la rue.
Caractéristiques du système Antares


Le principe de fonctionnement du confort Antares est le même que celui des autres systèmes de chauffage à air.
L'air est chauffé par l'unité AVN et à travers les conduits d'air avec l'aide de ventilateurs, il se propage dans les locaux.
L'air est renvoyé par les conduits de retour d'air, passant par le filtre et le collecteur.
Le processus est cyclique et se déroule sans fin. Mélangé à l'air chaud de la maison dans le récupérateur, tout le débit passe par le conduit de retour d'air.
Avantages:
- Faible niveau de bruit. Il s'agit d'un fan allemand moderne. La structure de ses pales recourbées dans le dos pousse légèrement l'air. Il ne frappe pas le ventilateur, mais l'enveloppe. De plus, une insonorisation AVN épaisse est fournie. La combinaison de ces facteurs rend le système presque silencieux.
- Taux de chauffage de la pièce... La vitesse du ventilateur est régulée, ce qui permet de régler la pleine puissance et de réchauffer rapidement l'air à la température souhaitée. Le niveau de bruit augmentera sensiblement proportionnellement à la vitesse de l'air fourni.
- Polyvalence. En présence d'eau chaude, le système confort Antares est capable de fonctionner avec tout type de chauffage. Il est possible d'installer simultanément un chauffe-eau et un chauffe-eau électrique. C'est très pratique: lorsqu'une source d'alimentation disparaît, passez à une autre.
- Une autre caractéristique est la modularité. Cela signifie que le confort Antares se compose de plusieurs unités, ce qui entraîne une réduction du poids et une facilité d'installation et de maintenance.
Pour toutes ses vertus, Antares confort n'a aucun défaut.
Volcan ou Volcan
Chauffe-eau et ventilateur connectés ensemble - voici à quoi ressemblent les unités de chauffage de la société polonaise Volkano. Ils fonctionnent à partir de l'air intérieur et n'utilisent pas l'air extérieur.


Photo 2. Un appareil du fabricant Volcano conçu pour les systèmes de chauffage à air.
L'air chauffé par un ventilateur de chaleur est uniformément réparti à travers les stores fournis dans quatre directions. Des capteurs spéciaux maintiennent la température souhaitée dans la maison. L'arrêt se produit automatiquement lorsqu'il n'est pas nécessaire que l'unité fonctionne. Il existe plusieurs modèles de ventilateurs de chaleur Volkano de différentes tailles standard sur le marché.
Caractéristiques des unités de chauffage à air Volkano:
- qualité;
- prix abordable;
- silence;
- la possibilité d'installer dans n'importe quelle position;
- boîtier en polymère résistant à l'usure;
- disponibilité totale pour l'installation;
- trois ans de garantie;
- rentabilité.
Idéal pour chauffer magasins d'usine, entrepôts, grands magasins et supermarchés, fermes avicoles, hôpitaux et pharmacies, complexes sportifs, serres, complexes de garages et églises. Le kit comprend des schémas de câblage pour rendre l'installation rapide et facile.
Conception du système aérodynamique
5. Nous faisons le calcul aérodynamique du système. Pour faciliter le calcul, les experts conseillent de déterminer approximativement la section transversale du conduit d'air principal pour la consommation totale d'air:
- débit 850 m3 / heure - taille 200 x 400 mm
- Débit 1000 m3 / h - taille 200 x 450 mm
- Débit 1100 m3 / heure - taille 200 x 500 mm
- Débit 1200 m3 / heure - taille 250 x 450 mm
- Débit 1350 m3 / h - taille 250 x 500 mm
- Débit 1500 m3 / h - taille 250 x 550 mm
- Débit 1650 m3 / h - taille 300 x 500 mm
- Débit 1800 m3 / h - taille 300 x 550 mm
Comment choisir les bons conduits d'air pour le chauffage de l'air?
Équipement supplémentaire augmentant l'efficacité des systèmes de chauffage de l'air
Pour un fonctionnement fiable de ce système de chauffage, il est nécessaire de prévoir l'installation d'un ventilateur de secours ou d'installer au moins deux unités de chauffage par pièce.
Si le ventilateur principal tombe en panne, la température ambiante peut chuter sous la normale, mais pas plus de 5 degrés, à condition que l'air extérieur soit fourni.
La température du flux d'air fourni aux locaux doit être au moins vingt pour cent inférieure à la température critique d'auto-inflammation des gaz et aérosols présents dans le bâtiment.
Pour chauffer le liquide de refroidissement dans les systèmes de chauffage à air, des aérothermes de différents types de structures sont utilisés.
Ils peuvent également être utilisés pour compléter des unités de chauffage ou des chambres d'alimentation en ventilation.


Système de chauffage de l'air de la maison. Cliquez pour agrandir.
Dans ces appareils de chauffage, les masses d'air sont chauffées par l'énergie prélevée sur le liquide de refroidissement (vapeur, eau ou gaz de combustion), et elles peuvent également être chauffées par des centrales électriques.
Les unités de chauffage peuvent être utilisées pour chauffer l'air recyclé.
Ils se composent d'un ventilateur et d'un radiateur, ainsi que d'un appareil qui forme et dirige le flux du liquide de refroidissement fourni à la pièce.
Les grandes unités de chauffage sont utilisées pour chauffer de grands locaux de production ou industriels (par exemple, dans les ateliers de montage de wagons), dans lesquels les exigences sanitaires, hygiéniques et technologiques permettent la recirculation de l'air.
De plus, de grands systèmes d'air de chauffage sont utilisés après des heures pour le chauffage de secours.
Consommation de chaleur pour la ventilation
Selon son objectif, la ventilation est divisée en alimentation générale, locale et évacuation locale.
La ventilation générale des locaux industriels est réalisée en fournissant de l'air frais, qui absorbe les émissions nocives dans la zone de travail, acquiert sa température et son humidité, et est évacué à l'aide d'un système d'échappement.
La ventilation locale est utilisée directement sur les lieux de travail ou dans les petites pièces.
Une ventilation par aspiration locale (aspiration locale) doit être prévue dans la conception de l'équipement de traitement pour éviter la pollution de l'air dans la zone de travail.
En plus de la ventilation dans les locaux industriels, la climatisation est utilisée, dont le but est de maintenir une température et une humidité constantes (conformément aux exigences sanitaires, hygiéniques et technologiques), indépendamment des changements des conditions atmosphériques extérieures.
Les systèmes de ventilation et de climatisation sont caractérisés par un certain nombre d'indicateurs communs (tableau 22).
La consommation de chaleur pour la ventilation, dans une bien plus grande mesure que la consommation de chaleur pour le chauffage, dépend du type de processus technologique et de l'intensité de la production et est déterminée conformément aux codes et règlements du bâtiment en vigueur et aux normes sanitaires.
La consommation de chaleur horaire pour la ventilation QI (MJ / h) est déterminée soit par les caractéristiques thermiques de ventilation spécifiques des bâtiments (pour les locaux auxiliaires), soit par la production


Dans les entreprises de l'industrie légère, divers types d'appareils de ventilation sont utilisés, y compris ceux de ventilation générale, pour l'aspiration locale, les systèmes de climatisation, etc.
La caractéristique thermique de ventilation spécifique dépend de la destination du local et est de 0,42 - 0,84 • 10 ~ 3 MJ / (m3 • h • K).
Selon les performances de la ventilation d'alimentation, la consommation de chaleur horaire pour la ventilation est déterminée par la formule
la durée de fonctionnement des unités de ventilation d'alimentation (pour les locaux industriels).
Selon les caractéristiques spécifiques, la consommation horaire de chaleur est déterminée comme suit:
Dans le cas où l'unité de ventilation est conçue pour compenser les pertes d'air lors de l'aspiration locale, lors de la détermination du QI, ce n'est pas la température de l'air extérieur qui est prise en compte pour le calcul de la ventilation tHv, mais la température de l'air extérieur pour le calcul du chauffage / n.
Dans les systèmes de climatisation, la consommation de chaleur est calculée en fonction du schéma d'alimentation en air.
Ainsi, la consommation de chaleur annuelle des climatiseurs à passage unique utilisant de l'air extérieur est déterminée par la formule
Si le climatiseur fonctionne avec recirculation de l'air, alors dans la formule pour déterminer Q £ con au lieu de la température d'alimentation
La consommation de chaleur annuelle pour la ventilation QI (MJ / an) est calculée selon l'équation


