Principaux avantages des profilés STURM
Notre politique économique est basée sur une réduction constante des coûts. C'est pourquoi nous parvenons à offrir les meilleurs prix tout en maintenant la plus haute qualité.
Les profils Sturm vous serviront pendant au moins 40 ans. Cette durabilité est assurée par un contrôle à toutes les étapes de la production et des tests passés avec succès, ce qui est confirmé par des certificats.
Nous apprécions la santé de nos clients, donc le plastique utilisé pour la production du profilé est absolument inoffensif, nos meilleurs spécialistes le surveillent strictement.
L'ajustement parfait des contours d'étanchéité vous permet d'oublier pour toujours le bruit de la rue.
Comme vous le savez, les classiques sont toujours à la mode. Nous ne changeons la géométrie classique des fenêtres que lorsque les innovations augmentent leur fiabilité.
Le décalage de l'axe de la rainure du matériel de 9 mm vous permet d'installer des éléments de verrouillage supplémentaires qui augmenteront la protection de votre maison.
NOTRE PRODUCTION
Le profilé STURM est un profilé russe moderne pour les structures de clôture translucides. Une usine moderne répondant aux normes internationales de production respectueuse de l'environnement est située dans le sud-est de la région de Moscou. Les solutions innovantes utilisées dans l'entreprise permettent de maintenir la qualité des produits à un niveau constamment élevé et d'étendre la géographie des approvisionnements.
La production de profilés est réalisée selon les normes les plus parfaites et sous le contrôle des leaders mondiaux de la technologie d'extrusion plastique. Le système de profilés STURM est fabriqué sur des équipements uniques fabriqués en Autriche : Battenfeld-Cincinnati, Krauss Maffei et Greiner. La configuration de l'équipement fournit des indicateurs de haute qualité du profil STURM. La maîtrise complète des étapes clés du travail par des spécialistes de haut niveau est un garant supplémentaire de la qualité des produits européens. Tous les principaux spécialistes de l'entreprise sont formés et formés en Autriche, en Allemagne et en France. Les connaissances et l'expérience de notre personnel qualifié garantissent une production fluide à un niveau élevé.
La recette du produit STURM a été développée par des spécialistes russes en coopération avec les leaders mondiaux de l'industrie chimique. Tous les matériaux entrant dans l'usine sont soumis à un contrôle de qualité strict.
Cette approche permet de réaliser un profilé PVC résistant aux changements brusques de température, résistant au gel et non sujet à la déformation, préservant la qualité des surfaces et la blancheur sous l'influence du rayonnement ultraviolet.
Les profilés STURM ont d'excellentes propriétés d'isolation phonique et thermique et ont une durée de vie de plus de 40 ans. Tous les produits sont certifiés.
Nous proposons à nos clients les systèmes de profilés PVC STURM60 (3 chambres, 60 mm) et STURM70 (5 chambres, 70 mm), qui sont utilisés pour la fabrication de fenêtres et portes en plastique pour tous les locaux.
Systèmes de profilés
Les structures translucides sont utilisées partout. Selon les tâches définies, différentes exigences leur sont imposées. La base de toute conception est un système de profilés. Il peut être en aluminium, en bois ou en PVC. Chacun des matériaux a ses propres caractéristiques uniques. Les systèmes de profilés en PVC sont reconnus comme les plus polyvalents. Le profilé en plastique tolère bien les températures extrêmes. Il conserve ses qualités aussi bien en cas de fortes gelées que de fortes chaleurs. Il n'a pas peur de l'humidité, de la poussière et de l'exposition aux rayons ultraviolets. Les fenêtres, portes et autres structures en profilés PVC se distinguent par un taux élevé d'isolation phonique et thermique.
Système à trois chambres STURM 60
Système à trois chambres STURM 60 STURM 60 est un système de profilés classique, une solution de haute qualité et économique dans le choix d'un profilé en PVC. Les fenêtres en profilé STURM60 sont équipées de trois chambres à air, qui assurent une isolation phonique et une économie d'énergie.
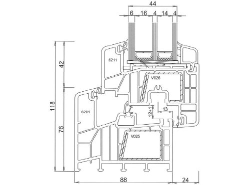
La profondeur de montage du profilé est de 58 mm et l'épaisseur du vitrage est de 4, 24 et 32 mm. Les contours d'étanchéité sont constitués de matériaux souples et durables de la nouvelle génération TPE ou EPDM classique. Un tel joint résout le problème des courants d'air, de l'isolation thermique et phonique de la pièce, et la couleur grise du joint augmente visuellement l'ouverture lumineuse. La rigidité et la résistance du système de profilés STURM60 sont assurées par des éléments de renforcement en acier galvanisé d'une épaisseur de 1,2 à 1,5 mm. Le retrait de la rainure de quincaillerie 9 permettra d'installer une quincaillerie de verrouillage standard. STURM60 est capable de créer un environnement confortable pour se reposer, travailler et étudier dans une famille moderne.
Système classique de profilés à trois chambres STURM 60
- Système stable avec d'excellentes propriétés isolantes. - Une isolation phonique de haute qualité procure calme et tranquillité à votre maison. - Surface soyeuse et lisse. - Effet antibactérien. - Des renforts de renfort spéciaux assurent une stabilité structurelle élevée.
Système à trois chambres STURM 60 LZT
STURM 60 LZT est un système de profilés classique, une solution optimale et rentable lors du choix d'un système de profilés en PVC. Les fenêtres en STURM60 LZT sont équipées de trois chambres à air, offrant une isolation phonique et une économie d'énergie à une profondeur d'installation classique de 60 mm avec la possibilité d'installer un vitrage - 4-6, 24-26 et 32-34 mm. Les contours d'étanchéité sont constitués de matériaux souples et durables de la nouvelle génération TPE ou EPDM classique. Un tel joint résout le problème des courants d'air, de l'isolation thermique et acoustique de la pièce, et la couleur gris clair du joint augmente visuellement l'ouverture de la lumière. La rigidité et la résistance du système de profilés STURM60 sont assurées par des éléments de renforcement en acier galvanisé d'une épaisseur de 1,2 à 1,5 mm. La suppression de la rainure de ferrure 13 permettra d'installer des ferrures aux caractéristiques anti-effraction accrues.
STURM60 LZT est capable de créer un environnement confortable pour le travail, les études ou les loisirs d'une personne moderne.
Système classique de profilés à trois chambres STURM 60 LZT
- Système stable avec des caractéristiques isolantes accrues. - Une isolation phonique de haute qualité procure calme et tranquillité à votre maison. - Surface soyeuse et lisse. - Effet antibactérien. - Des renforts de renfort spéciaux assurent une stabilité structurelle élevée.
catalogue de systèmes de fenêtres profilées, vitrage de façade
matériau du profil - PVC, largeur d'installation du cadre - 84 mm, nombre de chambres dormant / ouvrant - 6/6
| VEKA - Alphaline 90 matériau du profil - Pvc, largeur d'installation du cadre - 90 mm, nombre de chambres dormant / ouvrant - 6/6 |
| Koemmerling - Koemmerling 88 plus matériau du profil - Pvc, largeur d'installation du cadre - 88 mm, nombre de chambres dormant / ouvrant - 6/6 |
| WDS - SÉRIE WDS 8 matériau du profil - PVC, largeur d'installation du cadre - 82 mm, nombre de chambres dormant / ouvrant - 6/6 SÉRIE WDS 8 - Système de profilés en PVC pour la production de fenêtres aveugles, battantes et coulissantes et de blocs de balcon. Profondeur de montage 82 mm ; L'épaisseur des murs extérieurs selon DSTU B V.2.7-130: 2007, classe B; Un joint TPV gris à deux composants pour des performances optimales. |
| KBE Fenstersysteme - Système 88 mm matériau du profil - PVC, largeur d'installation du cadre - 88 mm, nombre de chambres dormant / ouvrant - 6/6 | |
| REHAU - Geneo matériau du profil - PVC, largeur d'installation du cadre - 86 mm, nombre de chambres dormant / ouvrant - 6/6 |
| WDS - WDS SÉRIE 7 matériau du profil - PVC, largeur d'installation du cadre - 70 mm, nombre de chambres dormant / ouvrant - 6/6 SÉRIE WDS 7 - Profilé PVC d'une profondeur d'assemblage de 70 mm. Permet la production de fenêtres aveugles, battantes, coulissantes, de blocs de balcon et de portes. Profondeur de montage 70 mm; L'épaisseur des murs extérieurs selon DSTU B V.2.7-130: 2007, classe B; Joint bi-composant TPV gris, ... |
| aluplast GmbH - Idéal 6000 matériau du profil - PVC, largeur d'installation du cadre - 80 mm, nombre de châssis / chambres à guillotine - 6/6 | |
| Internova - INTERNOVA 6000 matériau du profil - PVC, largeur d'installation du cadre - 80 mm, nombre de châssis / chambres à guillotine - 6/6 |
| Deceuninck RUS - Espace préféré matériau du profil - PVC, largeur d'installation du cadre - 76 mm, nombre de châssis / chambres à guillotine - 6/6 Le système Favorit Space est recommandé pour la fabrication de fenêtres et de portes résidentielles, publiques et industrielles dans toutes les zones climatiques de la Russie. Six chambres, trois circuits d'étanchéité et une profondeur d'installation de 76 mm offrent une résistance de transfert thermique de 0,87 m2 * 0С / W (avec amplificateur) et de 0,94 m2 * 0С / W ... |
| aluplast GmbH - Idéal 7000 matériau du profil - PVC, largeur d'installation du cadre - 80 mm, nombre de châssis / chambres à guillotine - 6/5 | |
Système à cinq chambres STURM 70
STURM 70 est un profilé à cinq chambres avec une géométrie moderne et créé en totale conformité avec les exigences actuelles en matière de qualité des profilés de fenêtre. Les fenêtres du système STURM70 offrent le plus haut niveau de confort, d'isolation thermique et de respect de l'environnement, tout en maintenant un rapport qualité-prix optimal. La profondeur d'installation du profilé est de 70 mm avec la possibilité d'installer des fenêtres à double vitrage d'une épaisseur de 24, 32-34 et 40-42 mm. Un autre avantage de ce système est le déplacement de la rainure du matériel de 13 mm, ce qui permet d'installer des ferrures de verrouillage avec une résistance accrue aux effractions. Les systèmes de fenêtres STURM ont la certification GOST R obligatoire, sont soumis à un contrôle qualité en usine et sont fabriqués conformément aux normes européennes.
Système classique de profilés à cinq chambres STURM70
- Système stable avec d'excellentes propriétés isolantes. - Une isolation phonique de haute qualité procure calme et tranquillité à votre maison. - Surface soyeuse et lisse. - Effet antibactérien. - Des renforts de renfort spéciaux assurent une stabilité structurelle élevée.
Bouchon pour rainure de pareclose STURM-shield
Dans le cadre inférieur de la fenêtre en plastique, il y a une rainure dans laquelle la poussière et la saleté s'accumulent constamment. Vous pouvez nettoyer la rainure avec un coton-tige ou un aspirateur, mais le moyen le plus simple est de la fermer avec un bouchon spécial. Le bouchon de rainure pour parclose est un bouchon spécial installé le long du périmètre du cadre de la fenêtre et conçu pour protéger la rainure de l'accumulation de petits débris et de poussière.
STURM-shield s'intègre parfaitement dans votre fenêtre et autour du périmètre, soulignant la beauté de votre fenêtre et le goût de l'hôtesse ou du propriétaire d'un appartement ou d'un bien immobilier de banlieue.
Avantages des fenêtres avec parcloses
- Facilité de nettoyage de la fenêtre (pas besoin de nettoyer la rainure de la saleté) - Aspect esthétique de la fenêtre - Bouchons faciles à installer - Faible coût
nouvelles


Les systèmes de profilés WDS sont fabriqués par MIROPLAST, qui occupe l'une des positions de leader dans le développement et la production de systèmes de profilés en PVC en Ukraine. Pour répondre aux attentes du client, et plus encore, pour les dépasser, MIROPLAST a passé avec succès un audit de certification du Système International de Management de la Qualité pour la conformité aux exigences de la norme internationale ISO 9001:2008 et de la norme nationale DSTU ISO 9001-2009. Les données d'audit ont confirmé la conformité du système de gestion de la qualité MIROPLAST aux normes déclarées.


ÉQUIPEMENT
Les profilés WDS sont produits sur des équipements modernes de fournisseurs étrangers. - 27 lignes d'extrusion de la société autrichienne THEYSOHN et de l'italien AMUT - Matrice fabriquée par les sociétés autrichiennes GREINER et TECHNOPLAST (plus de 100 ensembles) - Trois puissants mélangeurs automatisés et doseurs haute performance avec une capacité de production potentielle de 60 000 tonnes/an.


PRODUCTION
Les lignes d'extrusion à grande vitesse fonctionnent 1,5 fois plus vite que les lignes d'extrusion standard - Actuellement, la capacité des lignes d'extrusion est de 48 000 tonnes / an - MIROPLAST produit des profilés WDS avec des joints TPV roulés, ce qui accélère considérablement le processus de production de fenêtres - L'équipement est adapté pour la production de profilés WDS de base ainsi que pour la production de profilés laminés et supplémentaires


QUALITÉ
Le laboratoire certifié contrôle toutes les étapes de la production 24h/24 et 7j/7 pour s'assurer que les produits sont conformes aux normes DSTU et aux exigences des consommateurs. En production, un contrôle systématique des entrées de matières premières est effectué. Un certificat de qualité est délivré pour chaque lot d'un profil
Notre objectif est votre sécurité dans la nouvelle année 2021!


- PRODUITS Réservation d'objets Blocs de porte coupe-feu
- Blocs de porte en treillis
- Blocs de porte pare-balles
- Blocs de porte en aluminium pare-balles
- Blocs de porte en profilé d'aluminium
- Portails battants
- Portails battants
- Volets de sécurité
- Fenêtres de protection
- Volets roulants de protection
- Barrières de protection pare-balles
- Exploitation des caisses
- Cabines de sécurité extérieures
- Tours de sécurité et de surveillance
- Cabines de sécurité intérieures
- Casquette blindée "CHUM"
- Blocs de porte de chambre
- Localisateur d'explosion "Fontaine"
- Dispositif anti-bélier "Pokat"
- Complexe stationnaire pour le tir d'armes à feu à main "Cube-4000S"
- Pistolet paralysant
- Gilet pare-balles "Module"
- uniformes DPS
- Produits de camouflage
Adresse:
Russie, 194044 Saint-Pétersbourg, B. Campsonievsky pr., 28A
Réception du directeur général
tel +7 fax
Département des Ressources Humaines:
tél
Centre des Structures Spéciales :
tél +7 +7 fax
Centre de produits spéciaux :
e-mail tél +7 +7 fax
Système à cinq chambres STURM 70
STURM 70 est un profilé à cinq chambres avec une géométrie moderne et créé en totale conformité avec les exigences actuelles en matière de qualité des profilés de fenêtre.
Les fenêtres du système STURM 70 offrent le plus haut niveau de confort, d'isolation thermique et de respect de l'environnement, tout en maintenant un rapport qualité-prix optimal. La profondeur d'installation du profilé est de 70 mm avec la possibilité d'installer des fenêtres à double vitrage d'une épaisseur de 24, 32-34 et 40-42 mm.Un autre avantage de ce système est le déplacement de la rainure de la quincaillerie de 13 mm, ce qui permet d'installer des ferrures de verrouillage avec une résistance accrue aux cambriolages. Les systèmes de fenêtres ZTShChM ont la certification GOST R obligatoire, sont soumis à un contrôle qualité en usine et sont fabriqués conformément aux normes européennes.
Bouchon de rainure de talon de vitrage BioMouling
Dans le cadre inférieur de la fenêtre en plastique, il y a une rainure dans laquelle la poussière et la saleté s'accumulent constamment. Vous pouvez nettoyer la rainure avec un coton-tige ou un aspirateur, mais le moyen le plus simple est de la fermer avec un bouchon spécial. Le bouchon de rainure de talon de vitrage est un bouchon spécial installé le long du périmètre du cadre de la fenêtre et conçu pour protéger la rainure de l'accumulation de petits débris et de poussière.
Avantages des fenêtres avec capuchon de vitrage
|
Caractéristiques des systèmes de profil
Étant donné que les profils supplémentaires comportent des fonctions auxiliaires, il est habituel de distinguer les systèmes en fonction des caractéristiques des principaux composants - cadres, châssis et impôt. Il peut être difficile pour l'utilisateur final de comprendre tous les paramètres et valeurs des propriétés des profils. Analysons les principaux:
- Le nombre de chambres - affecte directement les performances thermiques. Les plus populaires sont à trois et cinq chambres. Chacun d'eux a son propre domaine d'application, il est faux de dire que plus il y a de caméras, mieux c'est.
- Type d'exécution - normal et résistant au gel. La différence pour le consommateur est que dans les régions où la température mensuelle moyenne de l'air en janvier est inférieure à moins 20 ° C, il est recommandé d'utiliser des structures constituées d'un profil antigel. Cependant, il convient de noter que la différence de charge de contrôle pendant les essais n'est que de 10 ° C (45 ° C et 55 ° C, respectivement). Ainsi, les produits qui ne sont pas marqués comme étant résistants au gel peuvent être utilisés dans les principales zones climatiques de la Russie.
- La classe en fonction de l'épaisseur des murs extérieurs avant et non avant est attribuée conformément au tableau suivant: L'épaisseur des murs intérieurs n'est pas normalisée. Il est important de se rappeler que, conformément au même GOST 30673-99, la classe de profil en termes d'épaisseur des parois avant n'est pas le principal indicateur de qualité, de stabilité dimensionnelle et de résistance.
- Classe en fonction de la résistance réduite au transfert de chaleur - toutes choses étant égales par ailleurs, plus la classe est élevée, moins la perte de chaleur de la structure est importante. Les valeurs sont indiquées dans le tableau:
- L'épaisseur maximale d'une unité de verre est des valeurs standard de 4, 24, 32 et 40 millimètres. Plus le verre est épais, plus il y a de chambres à air et moins la perte de chaleur de toute la structure est importante.
Fenêtres en plastique Sturm Sturm
Fenêtres en plastique Storm
STURM est un profil russe moderne pour les structures enveloppantes translucides. Une usine moderne qui répond aux normes internationales de production respectueuse de l'environnement est située dans le sud-est de la région de Moscou. Les solutions innovantes utilisées dans l'entreprise permettent de maintenir la qualité des produits à un niveau constamment élevé et d'élargir la géographie des approvisionnements.
La production de profilés plastiques est réalisée selon les normes les plus parfaites et sous le contrôle des leaders mondiaux de la technologie d'extrusion plastique. Le système de profilés STURM est fabriqué sur des équipements uniques fabriqués en Autriche: Battenfeld-Cincinnati, Krauss Maffei et Greiner. La configuration de l'équipement fournit des indicateurs de haute qualité du profil STURM. Le contrôle complet des étapes clés du travail par des spécialistes de haut niveau est un garant supplémentaire de la qualité des produits européens. Tous les principaux spécialistes de l'entreprise sont formés et formés en Autriche, en Allemagne et en France. Les connaissances et l'expérience de notre personnel qualifié garantissent une production fluide à un niveau élevé.
La recette du produit STURM a été développée par des spécialistes russes en coopération avec des leaders mondiaux de l'industrie chimique. Tous les matériaux entrant dans l'usine sont soumis à un contrôle de qualité strict.
Cette approche permet de réaliser un profilé PVC résistant aux variations brusques de température, résistant au gel et non déformé, préservant la qualité des surfaces et la blancheur sous l'influence des rayons ultraviolets.
Les profilés STURM ont d'excellentes propriétés d'isolation phonique et thermique et ont une durée de vie de plus de 40 ans. Tous les produits sont certifiés.
Les clients se voient proposer des systèmes de profilés PVC STURM60 (3 chambres, 58 mm) et STURM70 (5 chambres, 70 mm), qui sont utilisés pour la fabrication de fenêtres et de portes en PVC pour tous les locaux.
Articles similaires
Le profil PVC est l'un des principaux éléments affectant la résistance de votre fenêtre
Lors du choix d'un système de profil, une attention particulière doit être accordée non pas au nom du profil et à sa popularité, mais aux éléments suivants:. Fabricant - aujourd'hui, presque tous les systèmes de profilés, à l'exception de quelques marques, sont fabriqués en Russie
Fabricant - aujourd'hui, presque tous les systèmes de profilés, à l'exception de quelques marques, sont fabriqués en Russie.
La société "BRuGMANN", fondée en 1848, est l'un des plus anciens développeurs et fabricants de systèmes de profilés en PVC. La production de profilés en PVC pour les structures de fenêtres et de portes est réalisée depuis 1958 et se situe dans le nord-ouest de l'Allemagne, à Papenburg. Depuis 2002, le groupe a réuni sous sa direction deux fabricants de profilés PVC de haute qualité exclusivement allemands, produisant leurs produits sous les marques "SALAMANDER" et "BRuGMANN".
Sur le marché des fenêtres, la lutte continue "qui est le moins cher", et il semble que les clients ne s'intéressent à rien d'autre. Cependant, un acheteur privé, par défaut, souhaite bénéficier de la chaleur, du silence, de la commodité et de l'absence de problèmes pendant de nombreux hivers pour son argent durement gagné. Une protection supplémentaire des pentes, un air sain est également nécessaire pour beaucoup. C'est juste que les clients ne réalisent pas tous leurs besoins sans l'aide du vendeur.
Les besoins latents peuvent être transformés en demande réelle, puis la capacité de les satisfaire se transforme en avantage concurrentiel à long terme pour l'entreprise de fenêtres. Les systèmes de fenêtres EXPROF sont une source puissante de ces avantages pour tout fabricant de SPK. Pourquoi EXPROF?
À propos de nous
Shturm est votre partenaire fiable
Le groupe occupe une place de choix parmi les fournisseurs d'outils de construction sur le marché russe depuis plus de 15 ans. Alliant la haute qualité de ses produits à un prix attractif pour le consommateur, Sturm Group of Companies offre à ses partenaires une large gamme de produits et de réelles opportunités pour bâtir une entreprise commune hautement rentable.
Le propriétaire du groupe d'entreprises Shturm:
"Orientation vers une qualité décente avec un haut niveau de service, combinée à un prix juste - tout cela amène Shturm Group of Companies à la position de leader du marché et ouvre la voie à ses partenaires vers un développement confiant ..."
Nous avons systématiquement conquis le marché et obtenu du succès grâce à un certain nombre d'avantages clés:
Large gamme de produits
La présence de cinq marques dans le portefeuille d'assortiments de Shturm Group nous permet de couvrir entièrement le segment des prix moyens et bas du marché. Avec nous, vous pouvez choisir l'outil nécessaire en fonction de vos capacités financières.
L'assortiment des marques Sturm !, Hanskonner et Energomash couvre les domaines professionnel et domestique. Les consommateurs qui préfèrent "BauMaster" ou "SOYUZ" utilisent l'outil pour les besoins ménagers.
Nos produits sont conçus pour différentes catégories de consommateurs. Vous pouvez choisir le bon équipement en tenant compte de vos préférences et de vos capacités financières. La quasi-totalité de l'assortiment est disponible en permanence dans les entrepôts de l'entreprise, garantissant ainsi la possibilité de réapprovisionner en temps opportun le stock de nos partenaires.
Parmi nos marques, vous pouvez trouver plus de 4000 articles d'outils, y compris la serrurerie, la menuiserie, la mesure, la fixation, la coupe, le jardinage, la construction et la finition.
Ces produits sont demandés dans tous les foyers et sont très demandés dans les régions de la Russie.
Nouveaux articles dans la gamme
D'ici la fin de 2021, plus de 30 nouveaux instruments des marques Sturm !, Hanskonner, Energomash, BauMaster et SOYUZ apparaîtront:
- Matériel de soudage - une gamme mise à jour d'onduleurs, de nouvelles machines à souder miniatures.
- Pistolets thermiques - Une gamme mise à jour de pistolets thermiques électriques et à gaz.
- Souffleuses à neige - nouveaux modèles de souffleuses à neige électriques et à essence.
- Chauffages extérieurs - les nouveaux modèles à gaz conquièrent rapidement le marché.
- Scies circulaires - La nouvelle scie circulaire miniature.
- Tronçonneuses - une gamme mise à jour de solutions plus sûres, plus efficaces et plus fiables.
Haute qualité
Les outils électriques "Sturm!", "Hanskonner", "Energomash", "BauMaster" et "SOYUZ" n'utilisent que des composants hautement fiables qui ont passé les tests nécessaires et ont prouvé leur longue durée de vie, à la fois dans les laboratoires d'essais et en réalité. conditions de vie. Même avec une gamme de produits aussi large, avant de lancer de nouveaux produits sur le marché, nous effectuons des tests grandeur nature qui durent plusieurs mois. Pour cette raison, tous les produits du groupe d'entreprises Sturm ont des certificats ROSTEST et des certificats CE, GS.
Centres de service
Notre société coopère avec 250 centres de service agréés dans plus de 150 villes de Russie. Répondre aux besoins des consommateurs est l'objectif principal du groupe d'entreprises Shturm. Un investissement important a été réalisé dans un entrepôt de pièces détachées. Nous abordons la sélection du personnel de service de la manière la plus prudente et veillons à ce que les demandes de chaque client soient entendues et résolues dans les plus brefs délais.
Politique de prix flexible
Un système bien pensé, simple et logique de tarification et de majoration dans les canaux de vente permet à tous les acteurs du système de distribution d'avoir une rentabilité garantie, d'offrir des prix attractifs pour le consommateur et de maintenir un niveau uniforme de prix en rayon.
Période de garantie prolongée
Tous les produits de notre gamme de produits sont couverts par une extension de garantie de 14 mois ou 25 mois (selon le modèle), au cours de laquelle le consommateur peut présenter toutes les réclamations qui seront prises en compte et satisfaites par nous dans les plus brefs délais.
"Storm" aujourd'hui
Aujourd'hui, GK "Shturm" est une entreprise en plein développement sur le marché russe des outils. Chaque année, nous présentons nos réalisations à la Moscow International Tool Expo (MITEX), une exposition internationale spécialisée d'outils, d'équipements et de technologies, qui se tient à l'Expocentre Fairgrounds.
Notre entreprise utilise des technologies de l'information de pointe dans son travail pour fournir un service de haute qualité à ses clients. Les technologies Internet et les applications mobiles sont utilisées pour le travail. Une commande pour un produit peut être passée rapidement à la fois via le portail d'entreprise et via le terminal mobile du représentant commercial.
Nous nous développons activement, en tenant compte des besoins du marché afin de répondre globalement aux besoins du consommateur final!
Développement
En 2011, Shturm Group of Companies a achevé un projet d'investissement visant à acquérir et à équiper un complexe d'entrepôts de classe A dans la région proche de Moscou. Il est équipé d'un système de stockage en rack Skladex moderne et un équipement Crown est utilisé pour son travail. L'entreprise a mis en place un système WMS pour automatiser le travail opérationnel de l'entrepôt, qui est chargé d'organiser les processus internes et d'éliminer la paperasse.
À l'été 2011, la direction du groupe d'entreprises Shturm a pris la décision stratégique de développer l'activité de vente au détail, ce qui a permis l'ouverture de la boutique en ligne Otvertka.ru. Dans le monde moderne, il est difficile de surestimer l'importance et le potentiel du segment du commerce Internet.Nous comprenons qu'Otvertka.ru n'est pas seulement un canal supplémentaire pour promouvoir nos marques, mais également un contact direct avec le consommateur, ce qui nous permettra de comprendre le client et ses besoins. Nous surveillons en permanence la demande, évaluons son potentiel et développons des produits en demande sur le marché.
C'est pratique et rentable d'être notre partenaire!
La partie la plus importante de notre activité repose sur un modèle de réseau avec la participation de partenaires commerciaux.
Par conséquent, le groupe d'entreprises Shturm accorde une attention maximale à ses partenaires. Nous fournissons aux canaux de vente une assistance de pointe, un service fiable et réapprovisionnons rapidement les magasins de détail.
De plus, nous pensons que le professionnalisme des employés et partenaires de l'entreprise est le capital principal et une réserve pour le développement futur. C'est pourquoi le groupe a créé son propre centre de formation, qui emploie des consultants expérimentés dans le domaine de la vente et du marketing, de l'organisation et de la gestion des processus d'affaires.
Sur la base du centre de formation, nous avons mis en place un système efficace de formation aux produits et de formation aux compétences de vente pour les employés de nos clients. Aujourd'hui, nous proposons plusieurs types de formations: formation avec des formateurs sur site à notre partenaire, formation à distance via "Skype", formation avec une voiture de démonstration sur site.
sturmtools.ru
Profil STURM
Le profil STURM est un profil russe moderne pour les structures enveloppantes translucides. Une usine moderne qui répond aux normes internationales de production respectueuse de l'environnement est située dans le sud-est de la région de Moscou. Les solutions innovantes utilisées dans l'entreprise permettent de maintenir la qualité des produits à un niveau constamment élevé et d'élargir la géographie des approvisionnements.
Le système de profilés STURM est fabriqué sur des équipements uniques fabriqués en Autriche: Battenfeld-Cincinnati, Krauss Maffei et Greiner. La configuration de l'équipement fournit des indicateurs de haute qualité du profil STURM. Le contrôle complet des étapes clés du travail par des spécialistes de haut niveau est un garant supplémentaire de la qualité des produits européens. Tous les principaux spécialistes de l'entreprise sont formés et formés en Autriche, en Allemagne et en France. Les connaissances et l'expérience de notre personnel qualifié garantissent une production fluide à un niveau élevé.
La recette du produit STURM a été développée par des spécialistes russes en coopération avec des leaders mondiaux de l'industrie chimique. Tous les matériaux entrant dans l'usine sont soumis à un contrôle de qualité strict.
Cette approche permet de réaliser un profilé PVC résistant aux variations brusques de température, résistant au gel et non déformé, préservant la qualité des surfaces et la blancheur sous l'influence des rayons ultraviolets.
Les profilés STURM ont d'excellentes propriétés d'isolation phonique et thermique et ont une durée de vie de plus de 40 ans. Tous les produits sont certifiés. Nous proposons à nos clients les systèmes de profilés PVC STURM60 (3 chambres, 60 mm) et STURM70 (5 chambres, 70 mm), qui sont utilisés pour la fabrication de fenêtres et de portes en plastique pour tous les locaux.
Système à trois chambres STURM 60
| Système à cinq chambres STURM 70 |
Profilé PVC pour la production de fenêtres en plastique à Volgograd
La meilleure preuve de la fiabilité de toute marque est le temps. Et il est tout à fait naturel que chaque fabricant cherche à faire confiance aux marques qui ont fait leurs preuves auprès des consommateurs pendant des années et qui ont des critiques positives.
Ayant des équipements allemands en production, la technologie réglemente l'utilisation uniquement de profilés en PVC de haute qualité pour la fabrication de fenêtres. En observant la technologie de production, nous garantissons la qualité des structures de fenêtres pour une période de 5 ans.
Nous sommes prêts à vous offrir le meilleur disponible sur le marché russe. Nous avons des offres des plus grandes marques mondiales avec lesquelles nous travaillons.
Certificats
Marques de systèmes de profil:
Les profilés Bauline sont produits en Russie en utilisant la technologie allemande. La recette a été élaborée par des spécialistes allemands.Vous pouvez être sûr de la qualité des fenêtres Bauline. En choisissant les fenêtres Bauline, vous choisissez l'excellente qualité de produits authentiques allemands à un prix avantageux.
Le profil STURM est un profil russe moderne. Le système de profilés STURM est fabriqué sur des équipements uniques fabriqués en Autriche: Battenfeld-Cincinnati, Krauss Maffei et Greiner. Ils ont d'excellentes propriétés d'isolation phonique et thermique et ont une durée de vie de plus de 40 ans.
La marque KBE (KBE Allemagne) s'est fait connaître en Russie et en Europe, et est également très répandue dans le monde. En grande partie grâce à la qualité classiquement élevée du profilé en plastique produit par KBE. Les fenêtres du profil KBE de la production allemande ont reçu une grande reconnaissance en raison de leur qualité fiable, de leur durabilité et de leur composante d'image.
Aujourd'hui, la société REHAU est prête à offrir à ses clients un large choix de fenêtres. En raison de la variété des formes et des motifs décoratifs, les fenêtres des systèmes de profilés REHAU s'intégreront parfaitement dans les intérieurs de styles variés et deviendront une véritable décoration de la maison.
plasticowie-okna.ru
Système à trois chambres STURM 60
STURM 60 est un système de profilés classique, une solution de haute qualité et économique pour choisir un profilé PVC. Les fenêtres en profilé STURM60 sont équipées de trois chambres à air, qui assurent une isolation phonique et une économie d'énergie. La profondeur de montage du profilé est de 58 mm et l'épaisseur du vitrage est de 4, 24 et 32 mm. Les contours d'étanchéité sont constitués de matériaux flexibles et durables de la nouvelle génération TPE ou EPDM classique. Un tel joint résout le problème des courants d'air, de l'isolation thermique et phonique de la pièce, et la couleur grise du joint augmente visuellement l'ouverture de la lumière. La rigidité et la résistance du système de profilés STURM60 sont assurées par des éléments de renforcement en acier galvanisé d'une épaisseur de 1,2 à 1,5 mm. Le retrait de la rainure de quincaillerie 9 permettra d'installer une quincaillerie de verrouillage standard. STURM60 est capable de créer un environnement confortable pour se reposer, travailler et étudier dans une famille moderne.
Système classique de profilés à trois chambres STURM 60:
- Système stable avec d'excellentes propriétés isolantes.
- Une isolation phonique de haute qualité assure la paix et la tranquillité à votre maison.
- Surface lisse et soyeuse.
- Effet antibactérien.
- Des renforts spéciaux garantissent une stabilité structurelle élevée.
Comparaison des systèmes de profilés PVC
Faire un choix en faveur de tel ou tel système de profil est difficile pour chacun des segments de consommateurs. L'acheteur de fenêtre, n'étant pas un professionnel dans ce domaine, doit faire confiance au vendeur. Le défi pour le transformateur de profilés PVC est plus difficile: choisir pour lui un système économiquement rentable qui satisferait les besoins des clients. Une décision encore plus responsable est prise par une entreprise qui fabrique et vend des systèmes spécialisés. Elle a besoin, après avoir étudié la demande sur le marché de structures translucides, de formuler des exigences pour son propre système.
Nous sommes présents sur le marché des systèmes de profilés PVC depuis plus de 10 ans et surveillons en permanence les évolutions des tendances. Une vaste expérience nous donne la possibilité de naviguer en toute confiance dans un large éventail d'offres. Notre propre production nous permet de comprendre l'impact de chaque processus de production sur le coût et la qualité du profilé PVC. Grâce à cela, nous vous proposons actuellement les systèmes de profilés Alpenprof, Grain, Vektor et Nordprof. Leurs différences et leurs caractéristiques techniques et techniques sont présentées dans le tableau:
| Caractéristiques | Grain Prestige 70 | Grain Lider 58 | Vektor 70 | Vektor 58 | Nordprof 70 | Nordprof 58 | Alpenprof |
| Classe de profil en fonction de l'épaisseur de la paroi | UNE | UNE | B | B | B | B | B |
| Nombre de caméras | 5 | 3 | 5 | 3 | 5 | 3 | 3 |
| Retrait de la rainure de quincaillerie, mm | 13 | 13 | 13 | 13 et 9 | 13 | 13 et 9 | 13 |
| La possibilité d'utiliser des raccords anti-effraction | Oui | Oui | Oui | et bien non | Oui | et bien non | Oui |
| Gamme de vitrages utilisés | 24, 32, 40 | 4, 24, 32 | 24, 32, 40 | 4, 24, 32 | 24, 32, 40 | 4, 24, 32 | 4, 24, 32 |
| Type de profil en fonction de la résistance réduite au transfert de chaleur | 3 | 4 | 4 | 5 | 4 | 5 | 5 |
| Résistance réduite au transfert de chaleur, m 2 С / W | 0,82 | 0,75 | 0,78 | 0,708 | 0,74 | 0,64 | 0,65 |
N'oubliez pas que vous devez choisir un système en fonction de vos objectifs.Tous les objets ne nécessitent pas un profil «classe A», pas toujours une solution économique ne sera bénéfique pour le consommateur. Si vous avez des questions, veuillez nous contacter de toute manière pratique. Nos experts répondront à toute question et vous guideront sur les étapes de coopération et de prix.
Système à cinq chambres STURM 70
STURM 70 est un profilé à cinq chambres avec une géométrie moderne et créé en totale conformité avec les exigences actuelles en matière de qualité des profilés de fenêtres.
Les fenêtres du système STURM 70 offrent le plus grand confort, isolation thermique et respect de l'environnement, tout en maintenant un rapport qualité-prix optimal. La profondeur d'installation du profilé est de 70 mm avec la possibilité d'installer des fenêtres à double vitrage d'une épaisseur de 24, 32-34 et 40-42 mm. Un autre avantage de ce système est le déplacement de la rainure de la quincaillerie de 13 mm, ce qui permet d'installer des ferrures de verrouillage avec une résistance accrue aux cambriolages. Les systèmes de fenêtres ZTShChM ont la certification GOST R obligatoire, sont soumis à un contrôle qualité en usine et sont fabriqués conformément aux normes européennes.
Quel profil de fenêtre en plastique est préférable de choisir? Conseils de sélection et notes du fabricant
Le profil est l'élément principal de toute fenêtre, c'est de lui que dépend la durabilité et la fiabilité de toute la structure. À première vue, le profil des fenêtres en PVC de différents fabricants est presque le même. La différence de qualité devient apparente après quelques mois (voire des années!) D'utilisation, lorsque les fenêtres bon marché commencent à se déformer et à se fissurer. Comment choisir un bon profil de fenêtre en plastique? En quoi les produits de différentes marques diffèrent-ils les uns des autres? Et est-il judicieux d'économiser sur le vitrage en choisissant un profil en classe économique?
Profil pour fenêtres en PVC: caractéristiques et types
Le profil est la base de toute la structure à partir de laquelle les châssis et les cadres de fenêtre sont fabriqués. Ils déterminent non seulement l'apparence de la fenêtre, mais également sa résistance. Les matériaux courants pour les profilés de fenêtres sont le bois (cèdre et mélèze) et l'aluminium. Mais le plus souvent, le profil des fenêtres est en PVC ou en polychlorure de vinyle. Un tel profil est renforcé avec des inserts métalliques et comporte des cavités d'air à l'intérieur qui augmentent l'isolation thermique de la structure.
Selon la norme européenne EN 12608 SR "polychlorure de vinyle non plastifié (PVC-U) pour la fabrication de fenêtres et de portes" et similaire au russe GOST 30673-99 "profilés en polychlorure de vinyle pour blocs de fenêtres et de portes. Les profils de spécifications sont classés selon un certain nombre de caractéristiques. En particulier, en termes d'épaisseur des parois externes et internes, il y a:
- profils de classe A - avoir des parois extérieures de 2,8 mm d'épaisseur et des parois intérieures de 2,5 mm d'épaisseur; ils offrent la meilleure isolation thermique et sont considérés comme le meilleur choix;
- profils de classe B - avoir des parois extérieures de 2,5 mm d'épaisseur, des parois intérieures de 2,0 mm; ces fenêtres sont non seulement "plus froides", mais aussi 15% moins résistantes à la déformation;
- profils de classe C - tous les autres qui ne correspondent pas aux normes A et B, ils ne sont pas soumis à des exigences strictes.
C'est important!
Il existe un profil dit "objet", destiné à être installé dans des locaux industriels non résidentiels. Il ne peut pas être utilisé dans les maisons et les appartements: en raison des parois minces, il ne garde pas la chaleur et est instable à la déformation. À première vue, un tel profil ne diffère pas de l'habituel - sauf que vous pouvez voir le marquage de l'objet sur le film protecteur. Souvent, des entreprises peu scrupuleuses offrant des prix très bas pour leurs produits vendent des fenêtres à partir d'un tel profil.
Choisir le meilleur profil pour les fenêtres en plastique
Il n'est pas facile de déterminer à l'œil nu quel profil de fenêtres en plastique est le meilleur, mais certaines caractéristiques peuvent en dire long sur sa qualité.
Uniformité du profil
Le plastique doit être homogène et absolument lisse. La surface granuleuse suggère que les fenêtres ont probablement été fabriquées dans des conditions artisanales et sont fausses. Le revêtement doit également être uniforme, sans stries et sans dégradés.
D'ailleurs
Afin de ne pas acheter un faux au prix de fenêtres de marque, faites attention aux marquages d'usine à l'intérieur du cadre de la fenêtre. Il doit avoir un tampon avec le nom du fabricant et un certain nombre de chiffres: numéro de quart, dispositifs pour la production de profilés en PVC et date de fabrication.
Largeur du profil
Le plus souvent, les entreprises proposent un profilé en plastique pour les fenêtres d'une largeur de 58 mm - c'est l'option classique, préférée pour les locaux résidentiels. Il existe également un profil d'une largeur de 70 mm, souvent installé dans des immeubles de grande hauteur ou là où le climat est particulièrement rude. Le profil de 90 mm de large appartient à la gamme premium, il possède d'excellentes propriétés d'isolation thermique et phonique. Cependant, toutes les entreprises ne travaillent pas avec de tels produits.
Épaisseur du profil
L'épaisseur du profil doit être la même, de 2,5 mm à 3 mm. Cependant, pour les blocs de fenêtre lourds, les parois minces ne conviennent pas: dans ce cas, le cordon de soudure est moins résistant, ce qui signifie que la fiabilité de toute la structure en souffre.
Nombre de chambres à air
Le nombre de caméras dépend également de la largeur du profil. Le profil de 58 mm peut avoir un maximum de trois chambres, ce qui, cependant, est tout à fait suffisant pour garder les fenêtres au chaud. 70 mm - avec trois, quatre et même cinq caméras. Les derniers mentionnés (70 mm) sont les plus demandés pour le vitrage des appartements et des maisons. Six caméras sont la norme pour un profil de 90 mm. Plus il y a de caméras, plus la maison sera chaude et silencieuse. Cependant, pour être honnête, il faut dire que la différence entre, par exemple, un ensemble à trois et quatre chambres n'est pas si importante.
Nombre de fenêtres à double vitrage
Le nombre de chambres à air dans le profilé PVC ne doit pas être confondu avec le nombre de fenêtres à double vitrage. Une fenêtre à double vitrage est constituée de quelques feuilles de verre reliées les unes aux autres le long d'un contour à l'aide d'un cadre spécial et de produits d'étanchéité. Des chambres scellées avec de l'air ou un autre gaz à l'intérieur sont formées entre les verres. Un double vitrage à une chambre est le plus léger, il se compose de deux verres et d'une chambre à air entre eux. Ces fenêtres à double vitrage sont très légères, adaptées au vitrage de grandes ouvertures, elles sont donc souvent installées sur des balcons, des loggias et des terrasses. Cependant, ils ne conviennent pas aux fenêtres en raison d'une isolation thermique insuffisante. Pour une maison, une datcha, un bureau ou un appartement, il est préférable de choisir une unité à double vitrage à deux chambres, composée de trois feuilles de verre et de deux chambres à air. Les fenêtres à double vitrage à trois chambres de quatre feuilles de verre ne sont pas courantes, elles sont lourdes et transmettent moins de lumière que les autres types de fenêtres à double vitrage. Ces fenêtres ne sont demandées que dans le Nord, où la température en hiver peut descendre jusqu'à -40 ° C et moins. À des températures plus élevées, il n'y a presque aucune différence entre les fenêtres à double vitrage à deux et trois chambres.
C'est important!
Lors du choix d'un profilé en plastique pour les fenêtres, faites attention aux joints du cadre. Il devrait y en avoir deux, sinon la condensation se déposera sous le cadre, ce qui gâchera l'isolation et crée un environnement favorable aux bactéries et aux moisissures.
Évaluation du profil de fenêtre: comparaison des produits des principaux fabricants
Rehau
L'une des entreprises les plus célèbres qui produit des fenêtres fiables depuis plus d'un demi-siècle et est considérée comme le principal innovateur dans ce domaine: les ingénieurs de Rehau améliorent constamment la conception et la configuration du profilé. Ainsi, l'entreprise accorde une grande attention au respect de l'environnement et aux technologies d'économie d'énergie. L'entreprise produit un profil d'une largeur de 60 à 70 mm. Les produits Rehau appartiennent à la classe moyenne.
Un autre "géant" allemand dont les produits sont appréciés dans le monde entier. VEKA produit un profil blanc et coloré qui ne se décolore pas ou ne jaunit pas lorsqu'il est exposé à la lumière directe du soleil. Le joint est en caoutchouc naturel, qui ne gèle pas même lorsqu'il est exposé à des températures très basses - une qualité précieuse pour le climat russe. La gamme comprend des modèles d'une largeur de 58 à 90 mm. Pour le prix, les fenêtres VEKA sont comparables à Rehau.
Trocale
C'est une entreprise avec une longue histoire, l'un des pionniers dans la production de fenêtres en plastique. Le premier modèle est sorti en 1954.Pour les finitions décoratives, l'entreprise propose une large gamme d'options: du laminage au revêtement acrylique. Le profilé est réalisé à l'aide de la technologie écologique Greenline et offre une isolation thermique parfaite. Largeur du profil - 70 mm.
Salamandre
Cette société allemande n'est pas aussi connue que KBE ou VEKA, mais les produits Salamander ne leur sont en aucun cas inférieurs en qualité. Le profilé est produit exclusivement en Allemagne, ce qui signifie que lors de l'achat de telles fenêtres, vous pouvez compter sur une qualité véritablement européenne à un prix européen. L'entreprise produit des sacs d'une largeur de 60 à 76 mm.
Comment choisir un profilé PVC pour fenêtres et portes
Dans cet article: Types et objectif des profilés en plastique qu'est-ce qu'une série de profils; caractéristiques du balcon, léger, standard, néerlandais, série 70 et série élite; comment choisir le bon profil en PVC; quelle est la différence entre les marques de profil allemandes et russo-allemandes; pourquoi les blocs de fenêtres et de portes du profil de certaines marques germano-russes sont de meilleure qualité.
Il existe en particulier de nombreuses entreprises engagées dans la production et l'installation de fenêtres en plastique, et par conséquent, la concurrence dans ce domaine de la production et des services est très élevée.
Diverses méthodes sont utilisées pour attirer un acheteur potentiel - un système de remises, des épithètes colorées comme «fenêtres élite» ou «le meilleur profil de la série 70», diverses options «gratuites» comme une moustiquaire ou une livraison avec installation.
De beaux mots et des options gratuites sont certainement bons, mais les fenêtres en plastique ne doivent pas être choisies sur leur base, mais sur les caractéristiques de qualité du profil et le réel professionnalisme des interprètes.
Que sont-ils - Profils de fenêtre en PVC
Le profilé en plastique a l'air massif, mais à l'intérieur il y a une cavité, divisée par des cloisons en plusieurs chambres contenant de l'air.
Habituellement, il existe trois chambres de ce type: la principale - la plus grande de toutes, est conçue pour entrer dans un profil de renforcement en métal galvanisé, la chambre de drainage - sert à drainer les condensats, la dernière chambre est destinée à l'installation de ferrures de fenêtre.
Vous trouverez des informations détaillées sur l'histoire et la technologie de la production de profilés en plastique dans notre article.
Les profils de fenêtre sont subdivisés en:
- profil de cadre
(a une forme de L). Conçu pour assurer la rigidité du bloc et pour son installation dans l'ouverture, ainsi que pour accrocher les volets. Il existe deux types similaires de profilés de cadre - fenêtre et porte, la différence de taille (porte - plus large). Dans l'ensemble, la largeur du profil du cadre dépend du nombre de chambres à air à l'intérieur - plus il y a de telles chambres, plus elles sont larges;
- profil de ceinture
(fenêtre en forme de Z, porte en forme de Z et en forme de T). Utilisé pour construire des châssis de fenêtre et de porte. Les profils de châssis de fenêtre et de porte diffèrent, ces derniers sont de plus grande taille;
- profil d'impost
(En forme de T). Sert à aligner deux châssis adjacents afin que chaque châssis s'ouvre et se ferme indépendamment. En outre, l'impost vous permet de connecter deux fenêtres à double vitrage ensemble;
- profil shtulp
(En forme de L). Utilisé pour aligner deux feuilles, à attacher à une feuille. Sa différence avec l'impost est qu'une ceinture dépend de l'autre et qu'il ne sera pas possible de l'ouvrir en position oscillo-battante - ouvrez-la simplement. Le châssis dépendant n'est généralement pas équipé de sa propre poignée, cependant, la poignée peut être installée, seulement elle ne peut être ouverte qu'après l'ouverture du châssis principal. L'avantage de la connexion shtulp est la possibilité de libérer complètement l'ouverture de la fenêtre, ce qui est impossible avec la connexion impost des châssis;
- profil supplémentaire
(a une forme rectangulaire). Ils sont nécessaires pour installer des fenêtres dans des ouvertures non standard, par exemple, lorsque le profil de cadre est fermé par les saillies de l'ouverture de fenêtre ou s'il y a une interférence dans le fonctionnement des liaisons charnières du châssis avec le cadre. Le profil supplémentaire ne comporte aucune fonction de roulement;
- profil de connexion
... Il est utilisé lors de la jonction de deux blocs de fenêtre ou de porte et de fenêtre en un seul, ainsi que pour les joints d'angle de blocs de fenêtre entre eux et avec un profilé métallique porteur. La forme du profil est choisie en fonction de l'angle de la connexion;
- profil de stand
(Forme rectangulaire). Il est nécessaire de fixer le reflux et le rebord au bas du cadre de la fenêtre;
- profil de perle de vitrage
(Forme rectangulaire). Avec son aide, une fenêtre à double vitrage est fixée au cadre de la fenêtre, elle est livrée avec un joint souple en EPDM, PVC ou TEP.
En plus des principaux types de profilés décrits ci-dessus, des profils dits supplémentaires sont produits - bande, restauration, parement, etc., principalement utilisés pour couvrir les espaces entre le cadre et l'ouverture remplie de mousse de montage.
Profils de fenêtres et leurs séries
Les clients potentiels des fenêtres en PVC sont attaqués par les dirigeants d'entreprises «fenêtre» avec des phrases perplexes «fenêtre bon marché», «fenêtre standard» et «fenêtre élite», expliquant souvent leur signification uniquement par le prix et la qualité.
C'est en partie vrai; en réalité, ces phrases cachent la résistance et les caractéristiques thermophysiques des profils de différentes séries.
Une série de profilés en plastique sont présentés sur le marché russe, divisés par caractéristiques en groupes - balcon, léger, standard, néerlandais, série 70 et élite.
À balcon
La série comprend un profilé en plastique à une et deux chambres avec un relief maximal - pas plus de 50 mm de largeur et 2,5 mm d'épaisseur (classe «C»).
Il permet l'installation d'un seul verre - l'épaisseur maximale autorisée de l'unité de verre n'est que de 20 mm. Pas cher, mais si vous avez besoin de vitrage de balcons avec isolation, cette série de profilés ne convient pas, car
convient uniquement aux pièces non isolées. Le profilé de balcon Proplex est un représentant typique de cette série.
Poids léger
ou alors
économie
la série comprend des profilés en plastique dont l'épaisseur des parois extérieures est de 2,5 à 2,7 mm (classe "B"), le nombre de chambres est de 3, la largeur est de 60 mm, la plus grande épaisseur de l'unité de verre est de 32 mm (par exemple, la ligne Plafen L). Habituellement, cette série est accompagnée des épithètes «légèreté» et «design moderne», mais en réalité ses caractéristiques thermophysiques correspondent à peine aux normes adoptées dans la Fédération de Russie. Le seul avantage est le bon marché relatif.
Largeur du profil la norme
série (exemple - profils de la série Thyssen AD) est pratiquement égale à la largeur des profils «légers» - de 58 à 62 mm, à l'intérieur du profil il y a généralement 3, moins souvent 4 chambres à air, l'épaisseur maximale de l'unité de verre est de 39 mm.
La différence entre ces séries est que l'épaisseur des parois extérieures des profilés standard est de 3 mm (classe «A»), c'est-à-dire leurs caractéristiques thermophysiques sont supérieures à celles des représentants de la série légère.
Les profils de châssis et de châssis standard ont des caractéristiques techniques moyennes.
néerlandais
la série est représentée par des profilés à cinq chambres d'une largeur particulièrement grande - 120 mm, avec une paroi extérieure de 3 mm (classe "A"), conçus pour une vitre de 44 mm de large (exemple - MONTBLANC city-120).
La série est spécialement conçue pour les ouvertures de vitrage dans les bâtiments à panneaux à plusieurs étages, courants en Russie - la largeur importante du profil garantit une grande fiabilité d'installation de la structure à ossature dans une large ouverture.
Profil de MONTBLANC city-120
Profils 70e série
plus large que dans la série décrite ci-dessus - environ 70-75 mm, contient de 3 à 5 chambres à air internes, l'épaisseur de la paroi extérieure est de 3 mm (classe "A"), l'épaisseur autorisée de l'unité de verre est de 47 mm ( par exemple, Thyssen Favorit). Ils ont de bonnes caractéristiques de performance, conviennent tout à fait aux conditions climatiques russes et, ce qui est assez bon, leur largeur vous permet d'installer des fenêtres à double vitrage.
Profil Rehau Série 70
Élite
une série de profilés sur le marché russe est représentée par des profilés de châssis et de châssis à 6 et 8 chambres, de 82 mm de large, avec une paroi extérieure de 3 mm (classe "A") et de 48 mm dans la plus grande épaisseur d'unité de verre (par exemple, Schuco Corona SI 82+).Une fenêtre à double vitrage à deux chambres et un grand nombre de chambres à air à l'intérieur du profilé offrent des caractéristiques thermiques et physiques élevées - les fenêtres du profil de la série élite serviront parfaitement les propriétaires, même dans des zones climatiques particulièrement froides.
Profil Schuco Corona SI 82+
Il convient de noter que les séries avec des caractéristiques techniques inférieures à la norme - sont orientées par les fabricants exclusivement vers le marché russe - en Europe, elles ne seront pas demandées, car ne répondent pas aux exigences des normes européennes.
Comment choisir un profil de fenêtre en PVC
À mon avis, les profilés en plastique avec moins de 3 chambres à air, une classe de paroi extérieure inférieure à "A" et des vitrages isolants de moins de 39 mm d'épaisseur ne devraient même pas être pris en compte - leurs caractéristiques techniques ne conviennent que pour les régions climatiques particulièrement méridionales, et la durée de vie sera petite, car dans deux ou trois ans, la structure de la charpente sera biaisée.
Séparément, vous devez faire attention au profil de renforcement en forme de U - son épaisseur ne doit en aucun cas être inférieure à 2 mm. Pourquoi est-ce si important? Le profilé en plastique lui-même a une faible rigidité et, lorsqu'il est chauffé par les rayons du soleil pendant la saison chaude, il sera particulièrement mobile.
Sa rigidité constante est assurée précisément par un profilé métallique galvanisé intégré dans la plus grande chambre à air - le profilé de renfort est installé dans tous les types de profilés PVC qui remplissent des fonctions plus ou moins porteuses.
Assurez-vous de demander à l'entreprise de fenêtres de spécifier l'épaisseur du profil de renforcement dans le cahier des charges du contrat et assurez-vous que sa valeur est d'au moins 2 mm!
Maintenant sur les marques du profil en plastique. Le meilleur profilé PVC est produit en Allemagne, mais il n'y a qu'une seule marque de profilé allemande sur le marché russe - Salamander.
Mais qu'en est-il des autres marques allemandes de profilés en plastique - Rehau, Veka, Thyssen, Dimex et KBE - demandez-vous - ces marques appartiennent également à des sociétés allemandes? Certes - ils le font, cependant, en Fédération de Russie, les produits de ces entreprises sont fabriqués dans des entreprises russes, sous licence, c'est-à-dire
leurs caractéristiques de qualité sont conçues pour des conditions techniques moins strictes GOST 30673-99.
Vous pouvez être dérouté par la certification selon ISO 14001 et ISO 9001 déclarée par les fabricants russes, mais ces certificats n'ont pas de relation directe avec la production de profilés en PVC - le premier concerne la gestion environnementale, et le second l'organisation de la gestion au niveau de l'entreprise dans son ensemble, c'est-à-dire non seulement pour travailler dans les magasins, mais aussi pour le service comptable, matériel et technique, etc.
Profil de la salamandre
Ainsi, un profil en plastique à part entière de la norme européenne en Russie n'est que de la salamandre et uniquement parce qu'il est produit en dehors de la Fédération de Russie et uniquement selon les normes de l'UE, mais il est très coûteux. Parmi les profilés PVC germano-russes, les produits des sociétés KBE, Rehau et Veka présentent les meilleures caractéristiques.
La qualité des produits de ces marques est obtenue grâce à des séminaires et des cours de formation sur le travail avec un profil, ainsi qu'à un contrôle régulier par des représentants d'entreprises de la qualité de l'assemblage des blocs de fenêtres et de portes dans les entreprises qui leur achètent des profils.
Les sociétés Veka et Rehau, sur la base des résultats d'un tel audit, délivrent un certificat correspondant.
Enfin - traitez tout vitrage, même s'il s'agit d'un vitrage loggia, avec une attention maximale et rappelez-vous que chaque marque contient des profilés en PVC avec des caractéristiques différentes dans sa gamme de produits, alors demandez toujours la désignation complète de la marque du profil.
Comparaison des profils PVC
Le profil métal-plastique affecte considérablement le coût de la fenêtre. À première vue, les profils des différentes entreprises sont les mêmes, mais ce n'est pas le cas. Désormais, les fabricants de fenêtres de Stavropol proposent des profils WDS, Rehau, KTM, Open Teck, Brokelman, Veka et bien d'autres. Quel profil métal-plastique choisir? Quel profil PVC est le meilleur? Le plastique est-il toxique? Dans cet article, nous répondrons à ces questions et à d'autres et vous aiderons à choisir l'option la plus optimale pour le vitrage de votre maison.
Qu'est-ce que le PVC?
Le profilé pour fenêtres en plastique est obtenu à l'aide d'extrudeuses PVC. Le PVC (polychlorure de vinyle) a été obtenu par le scientifique français Rainier en 1835 et est considéré comme l'un des plus anciens matériaux artificiels. Les premiers profilés de fenêtre ont été produits en Allemagne en 1954. Selon sa composition chimique, le PVC est classé comme thermoplastique. L'éthylène (43%) réagit avec le chlore (57%) et forme du dichloroéthane, puis du chlorure de vinyle, qui est transformé par polymérisation en polychlorure de vinyle. Le PVC est un matériau ignifuge, résistant aux intempéries, à faible conductivité thermique et à faible coût. L'oxyde de titane est utilisé comme pigments pour rendre le profil blanc et l'oxyde de fer est utilisé pour le brun. En outre, pour améliorer les propriétés physiques et chimiques du plastique, des plastifiants sont utilisés, qui augmentent l'élasticité du matériau lorsqu'il est exposé à de basses températures.
Le plastique est-il toxique?
Pour que les fenêtres ne changent pas de couleur et servent régulièrement pendant de nombreuses années, des stabilisants thermiques sont ajoutés au plastique. Jusqu'en 2001, le plomb était inclus dans le PVC. Tout le monde sait que le plomb est un métal lourd et que ses vapeurs peuvent être nocives pour la santé. Mais le plomb dans la production n'était pas utilisé sous forme pure, mais en combinaison. Par exemple, des composés de plomb sont inclus dans le cristal. Mais personne ne considère le cristal comme un matériau mortel et les produits qui en sont issus sont utilisés dans la vie de tous les jours depuis de nombreuses années. D'ici 2015, il est prévu de cesser d'utiliser le plomb dans l'industrie. Veuillez noter qu'après l'adoption d'un accord à l'amiable dans la production de plastique, au lieu de composés de plomb, le calcium et le zinc ont commencé à être utilisés comme stabilisants thermiques. Tous les profilés déclarés sont certifiés et ont des conclusions sanitaires et hygiéniques, qui confirment la sécurité des fenêtres en plastique.
|
Aujourd'hui, sur le marché des fenêtres, il existe plus de 10 fabricants de profilés pvc. Quelle est la différence entre les profilés pour fenêtres métal-plastique? Comparons les profils de grandes marques: WDS, REhau, KTM, Veka, Brokelman, KBE, Open Teck.
Épaisseur du profil
La principale caractéristique du profilé est sa largeur (profondeur d'installation). Aujourd'hui, le marché utilise activement des profilés d'une largeur de 58 à 60 mm et de 70 mm. Un profilé d'une largeur de 70 mm présente des caractéristiques d'économie de chaleur et d'insonorisation supérieures. Vous devez choisir la largeur du profil en fonction du site d'installation prévu (fenêtre dans l'appartement, fenêtre dans la maison, balcon ou loggia, porte du magasin) et des zones climatiques de l'Ukraine.
|
|
|
| WDS 400 | WDS 500 | KTM Terma |
Nombre de caméras
Le nombre de caméras est une caractéristique tout aussi importante d'un profil. Les chambres sont des vides remplis d'air entre les cloisons. Leur nombre dépend de la largeur du profil et affecte l'isolation thermique. Plus il y a de caméras, plus le profil est chaud. Le profil de 60 mm a trois ou quatre chambres. Le premier est conçu pour évacuer les condensats. Un profil de renfort est inséré dans le deuxième en production, des parties des ferrures sont fixées dans le troisième. Le profil de 70 mm comporte quatre ou cinq chambres. Notez qu'une augmentation du nombre de caméras sans modifier l'épaisseur du profil n'affecte pas significativement les caractéristiques de la fenêtre.
|
|
|
| Veka | KBE | Rehau e60 |
Épaisseur des parois extérieures du profil
Selon DSTU B V.2.6-15-99 S.14 et la norme européenne RAL GZ 716/1 (partie 1, 7), l'épaisseur des parois profilées doit être d'au moins 3 mm. Un certain nombre de fabricants économisent de l'argent dans la production de profilés et fournissent des profilés d'une épaisseur de paroi d'environ 2,6 mm au marché ukrainien. Lors du soudage des profils, leur grande déformation est observée, la qualité des joints soudés se détériore, la résistance des connecteurs d'angle est affaiblie et le temps de fonctionnement en toute sécurité de la fenêtre est considérablement réduit.
|
|
|
| Teck ouvert | Brokelman | Brokelman |
Classe de profil
Les profils métal-plastique sont divisés en 2 classes: A et B.La classe A a une paroi extérieure épaissie (plus de 3 mm ± 0,2 mm), elle est considérée comme le profil optimal pour les fenêtres d'un appartement, d'une garderie, d'une entrée et d'un intérieur des portes.Le profilé de classe B, dont l'épaisseur de paroi est inférieure à 3 mm, est utilisé pour le vitrage des bâtiments commerciaux. Les avantages d'un tel profil sont un coût moindre par rapport à un profil de classe A.
|
|
|
| Mesurer la paroi intérieure d'un profil | Caméras à profil PVC | Mesurer la paroi extérieure d'un profil |
Renfort de profil
Pour donner de la résistance à la structure, un profilé métallique en acier galvanisé de 1 à 2 mm d'épaisseur est installé dans la chambre intérieure du cadre, du châssis et de l'impost. Le profilé métallique compense les éventuelles déformations de la structure, car le plastique et l'acier réagissent différemment aux variations de température. Le renfort peut être en forme de C, en forme de U et fermé. Le métal installé n'est pas visible pour l'utilisateur final, car il se trouve à l'intérieur de la fenêtre ou de la porte. Il vaut la peine de se méfier s'ils proposent des prix très bas pour les fenêtres. Il est probable qu'il y ait un métal plus fin à l'intérieur de la structure.
ATTENTION AUX SYSTÈMES D'ÉCONOMIE
ATTENTION AUX SYSTÈMES D'ÉCONOMIE
Lors de l'achat de nouvelles fenêtres, la plupart d'entre nous pensent d'abord à leur prix. Sans comprendre leurs spécificités, le consommateur se fie à ce qu'il comprend vraiment - sur le prix. En attendant, choisir des structures en PVC peut être comparé au choix d'une voiture. Comme les voitures, ils diffèrent par leur classe, leur équipement et leur lieu de production. Dans cet article, nous vous expliquerons comment choisir une fenêtre de la classe et de la configuration appropriées, ainsi que les raisons pour lesquelles les «systèmes économiques» sont dangereux.
PROFIL SOUS CONTRÔLE RAL
Certains fabricants de systèmes de profilés, par exemple VEKA, se sont volontairement placés sous le contrôle de spécialistes RAL - la norme industrielle la plus stricte d'Europe. Et ils l'ont fait pour confirmer leur haute qualité par la reconnaissance d'une organisation indépendante. Mais en Russie, les soi-disant «systèmes d'objets» sont de plus en plus proposés. Ils peuvent être appelés de différentes manières (légers, tendres….), Leur essence reste inchangée: il s'agit d'articles profilés avec une épaisseur réduite des parois extérieures. Leur apparence est compréhensible. Chaque fabricant s'efforce de produire le maximum de produits au coût minimum, c'est-à-dire à partir de la quantité minimum de matières premières. La différence de réduction d'épaisseur de paroi n'est "que" de quelques dixièmes de millimètre.
Néanmoins, il y a cette différence. C'est réel et tangible. Cela peut avoir des conséquences très réelles tant pour les fabricants de blocs de fenêtres que pour les utilisateurs finaux. En parlant de cela, nous n'entendons pas une «détérioration de la qualité» abstraite, mais une augmentation très spécifique des risques pour les consommateurs. Lesquels?
- La nécessité de changer le mode de soudage
Pour les profilés avec une épaisseur réduite des parois extérieures, une déformation plus prononcée est observée lors du processus de soudage. Pour souder de tels profils, il est nécessaire de changer le mode d'opération de soudage en desserrant la pince.
Lors du soudage de profilés avec des parois extérieures normales (3 mm), la largeur de la section transversale des surfaces à souder en raison du retrait naturel du PVC et du dénudage ultérieur est de 2,4 mm. Lors du soudage de "systèmes économiques", ce chiffre est de 1,9 mm. La conséquence de ces changements est la détérioration de la qualité des soudures. Ils deviennent plus fragiles.
- Affaiblissement de la résistance des joints d'angle
Même dans le cas d'un soudage correct à 100% des «systèmes économiques», l'indice de résistance applicable des joints d'angle lorsqu'ils sont testés pour les contraintes mécaniques n'est que de 61% à 81% par rapport aux profilés RAL. La moyenne est de 73%. Ainsi, la résistance des assemblages soudés d'angle des profilés RAL est supérieure de plus de 25% à celle des profilés appartenant à la «série économique».
- Réduction du temps de fonctionnement sûr de la fenêtre
Pour se conformer au fonctionnement sûr estimé de la fenêtre conformément aux exigences, la valeur de la charge mécanique permanente pour les profilés à parois minces doit également être réduite de 25%. Autrement dit, si la charge sur un joint d'angle d'un profilé correspondant à RAL est dans la valeur standard moyenne, alors la résistance ultime d'un tel joint se produit dans 50 ans.Si une fenêtre à paroi mince est soumise à la même charge, la durée de vie de ses joints d'angle ne sera que de 5000 heures, soit 208 jours.
- Pire résistance aux intempéries
Les profilés à parois minces ont une durée de vie sûre plus courte. Ainsi, les mesures effectuées sur les échantillons de profilés après 40 ans de leur utilisation dans le produit fini ont montré que l'épaisseur de la paroi extérieure pendant ce temps diminue en moyenne de 0,7 mm. Ainsi, après 40 ans de fonctionnement, les profilés de la série économique auront une épaisseur de paroi de seulement 1,8 mm, ce qui signifie que la fenêtre deviendra un «château de cartes».
"Systèmes économiques" - l'effondrement du secteur des fenêtres
Il y a déjà eu une telle page dans l'histoire de l'industrie de la fenêtre lorsque le passe-temps du dumping en Italie a conduit à un déclin catastrophique de l'image d'une fenêtre en plastique, qui est passée d'un produit de haute qualité à une sorte de «tendre ersatz». . Le désir de gagner de l'argent en baissant constamment les prix et en augmentant le chiffre d'affaires a conduit au fait que les chiffres d'affaires ont commencé à diminuer avec le temps, et avec eux, les bénéfices. Afin d'ajuster au moins un peu la rentabilité de l'entreprise, tous les acteurs du marché ont dû mener des campagnes coûteuses avec un seul objectif: rendre la vitrine en plastique à sa bonne réputation.
Dans les conditions de la construction russe, et si cela ne brille pas avec une culture technologique particulière, l'utilisation généralisée de "profilés légers" entraînera inévitablement une diminution de la qualité de la construction et une augmentation des revendications.
Choisissez seulement le meilleur pour vous et votre famille!



























