Principe d'opération
L'élément central de l'ensemble du système est la chaudière à eau chaude, à partir de laquelle le liquide de refroidissement chaud s'écoule dans les radiateurs installés dans toute la maison. Lors du passage dans les tuyaux et les batteries, l'eau chauffée se refroidit progressivement et, dans cet état, retourne à la chaudière par le tuyau de retour.
Dans la chaudière, il chauffe à nouveau à la température souhaitée et démarre un nouveau cycle à travers les tuyaux. Les cycles se répètent constamment pendant le fonctionnement du thermogénérateur.

Schéma du système monotube
Ce schéma a ses propres nuances. Ainsi, la température la plus basse du liquide de refroidissement (40-50 °C) avant son retour dans la chaudière est enregistrée sur le radiateur le plus éloigné (dernier de la chaîne). Cela ne suffit pas pour le chauffage normal d'une pièce.
Afin d'éviter une chute de température indésirable sur les derniers radiateurs, il est nécessaire soit d'augmenter la capacité calorifique des batteries, soit de chauffer encore plus l'eau de la chaudière. Ces deux options sont trop chères.
Vous pouvez recourir à une autre méthode de fourniture d'eau chaude - installer une pompe de circulation dans le circuit de tuyauterie, accélérant le liquide de refroidissement à travers le système. L'efficacité d'une telle technologie, bien sûr, sera supérieure aux deux options ci-dessus. Mais dans des conditions suburbaines, la technologie utilisant une pompe peut être de peu d'utilité en raison de problèmes possibles avec l'alimentation électrique.
Dans de tels cas, la meilleure option qui résout le problème de la fourniture d'eau chaude à tous les radiateurs peut être l'installation d'un collecteur de suralimentation. Cet élément est un tuyau haut droit par lequel l'eau chauffée sortant de la chaudière accélère à tel point qu'elle n'a pas le temps de se refroidir dans les radiateurs intermédiaires en route vers la dernière batterie.


Booster l'application du collecteur
Ainsi, une caractéristique du système monotube est l'absence de tuyau de retour, qui sert à renvoyer l'eau refroidie des radiateurs à la chaudière. Dans ce cas, le tuyau à effet inverse est la seconde moitié du seul tuyau principal.
Lors du choix d'un système de chauffage, il convient de garder à l'esprit que la technologie monotube ne fonctionne pas lorsque le radiateur final est situé à moins de 2,2 mètres. Il peut être utilisé dans des maisons à deux étages, et plus le collecteur droit s'élève au-dessus de la chaudière, plus l'eau y coulera rapidement et le système lui-même sera moins bruyant.
Le dispositif et le principe de fonctionnement d'un système monotube
Le principe principal de la conception du circuit est de connecter en série des appareils de chauffage à une canalisation provenant d'une source de chaleur. Le liquide de refroidissement traverse le radiateur, dégageant une partie de la chaleur, pénètre dans le radiateur suivant dans l'ordre.
Ainsi, la température du liquide de refroidissement dans chaque dispositif de chauffage suivant est légèrement inférieure à celle du précédent. Dans diverses conditions, une grande longueur de la branche de chauffage et un nombre important de radiateurs, la température sur ces derniers appareils peut être insuffisante pour assurer la température requise dans la pièce.
Une telle construction était populaire en URSS en raison du fait que le coût des ressources énergétiques était très faible. Dans les systèmes de chauffage centralisés, un débit massique important d'un caloporteur à haute température était maintenu. De plus, la configuration de base d'un système monotube nécessite une quantité minimale de matériaux.
Un système monotube est le schéma principal d'un appareil de chauffage à circulation naturelle (gravitationnelle).Dans ce cas, le complexe thermique est construit à partir de tuyaux d'un diamètre de 32 à 50 mm, le respect de la pente standard est requis.
À un moment donné, le système monotube (également connu sous le nom de "Leningrad") a été amélioré. L'amélioration visait à réduire la différence de température entre les appareils de chauffage et s'est traduite par la construction d'un by-pass.
La dérivation était destinée à séparer le flux du caloporteur direct - une partie pénétrait dans le dispositif de chauffage, la seconde passait par la dérivation et se mélangeait au caloporteur refroidi à la sortie du radiateur. Cette solution technique a permis de réduire la différence de température entre les différents appareils de chauffage voisins dans une rangée. Cette configuration de chauffage est généralement utilisée dans les systèmes de type fermé à circulation forcée.
La place centrale dans l'assemblage de la structure est
), il chauffe le liquide de refroidissement (eau) et il pénètre dans les radiateurs de chauffage. En se déplaçant le long d'eux, la température du liquide de refroidissement diminue et il retourne à la chaudière par le tuyau de retour. Et le cycle se répète à nouveau.
Lors de l'assemblage de ce système, il faut comprendre qu'en entrant dans le premier radiateur, la température du liquide de refroidissement a un taux élevé, puis elle entre dans le deuxième, le troisième, etc. Une fois dans le dernier radiateur, la température est de l'ordre de 40- 50°C, et à ne pas réchauffer la pièce à cette température.
Il existe deux façons de surmonter ces fluctuations dans l'eau entrante :
- Augmenter la capacité thermique des derniers radiateurs, augmentant ainsi son transfert de chaleur;
- Ou augmenter la température de l'eau de sortie de la chaudière.
Ces méthodes sont en elles-mêmes coûteuses et économiquement peu rentables, elles conduisent à une augmentation du coût du système de chauffage.
Il existe un autre moyen plus économique de distribuer l'eau chaude par des tuyaux :
- Installez une pompe de circulation qui augmentera la vitesse d'écoulement de l'eau dans les tuyaux et l'efficacité du système augmentera considérablement. De tels appareils sont alimentés par le réseau d'alimentation et pour les agglomérations de banlieue, où les arrêts sont assez fréquents, ils ne sont pas une bonne option.
- L'installation prudente du collecteur de suralimentation est un tuyau droit haut, l'eau qui le traverse prend de la vitesse et se déplace plus rapidement le long des radiateurs.
L'installation du collecteur a également ses propres caractéristiques. Lors de la réalisation d'un système de chauffage dans une maison à un étage, où les plafonds ne sont pas très hauts, cela ne fonctionnera pas et tous les efforts pour l'installer seront vains, cela s'applique à une hauteur inférieure à 2,2 mètres.
Lors de l'aménagement d'un système de chauffage dans une maison à deux étages, cette fonctionnalité disparaît automatiquement. Le collecteur est un tuyau plat et droit partant de la chaudière et élevé jusqu'au point de perte d'eau le plus élevé. Plus il est élevé, plus il fonctionnera de manière silencieuse et efficace - la vitesse de déplacement de l'eau sera suffisante pour un écoulement rapide dans les tuyaux.
Nous vous invitons à vous familiariser avec : Sel gemme pour le bain - Tout sur le bain
Un vase d'expansion doit également être connecté au point supérieur. Il sert de stabilisateur et contrôle l'augmentation du volume du liquide de refroidissement. L'augmentation, lorsqu'elle est chauffée, le volume d'eau pénètre dans le vase d'expansion et le problème de débordement est résolu, lorsque la température baisse, le volume d'eau diminue et descend dans le système.
La spécificité de cette conception réside dans le fait que le système monotube ne comporte pas de canalisation à effet inverse par laquelle l'eau retournerait à la chaudière. Le flux de retour avec un tel câblage est considéré comme la seconde moitié du tuyau principal et unique.
Avantages et inconvénients
Avantages d'un système monotube :
- Un seul circuit peut être monté non seulement dans la pièce, mais également sous les murs.
- Le schéma de chauffage spécifié permet de réduire le coût du projet.
- En raison de la possibilité de connexion progressive des appareils de chauffage ambiant, il est possible de connecter tous les composants du circuit de chauffage au tuyau de distribution.
- Le degré de chauffage des radiateurs est régulé par la connexion en série ou en parallèle de ces éléments au système.
- Lorsque vous utilisez l'option avec un tuyau principal, vous pouvez installer une chaudière à combustible solide, à gaz ou électrique.
- L'utilisation de ce schéma vous permet de diriger le flux d'eau chauffée là où le propriétaire de la maison le souhaite.
Quelques inconvénients :
- Si le réseau de chauffage n'est pas utilisé pendant une longue période, le démarrage sera long.
- Il est difficile d'ajuster la répartition uniforme de la chaleur entre les étages dans une maison composée de deux étages ou plus. Pour compenser la baisse de température de l'eau dans la moitié inférieure du tuyau, il est possible d'installer plus de radiateurs à l'étage inférieur, mais cette méthode rend le projet plus coûteux.
- Il est impossible de désactiver l'un des niveaux d'un système à plusieurs niveaux si, par exemple, des réparations sont nécessaires sur l'un des étages d'un bâtiment.
- Des poches d'air peuvent apparaître dans la chaîne si la pente n'y est pas maintenue. Les bouchons, à leur tour, réduisent le transfert de chaleur.
Système de chauffage monotube à circulation forcée d'anciens avantages et de nouvelles possibilités


Aujourd'hui, il y a un retour d'intérêt de la communauté des ingénieurs pour un instrument d'alimentation en chaleur tel qu'un système de chauffage monotube à circulation forcée dans la construction à plusieurs étages et individuelle. Au début des années 90, il a été rejeté par les chauffagistes domestiques après trois décennies de prédominance incontestée et omniprésente dans les bâtiments de n'importe quel nombre d'étages et de fonctions. Le chauffage monotube traditionnel, fondamentalement incontrôlé, ne correspondait pas au concept de logement économe en énergie et, au cours des deux dernières décennies, il a été largement supplanté par le chauffage bitube. Mais les conceptions modernes à un tuyau combinent leurs avantages traditionnels (stabilité hydraulique, efficacité) avec la capacité de réguler les appareils de chauffage, comme dans les homologues à deux tuyaux.
Installation de chauffage monotube
La conception correcte d'un système de chauffage monotube nécessite la connaissance d'un certain nombre de caractéristiques du processus.
La première étape consiste à installer une chaudière de chauffage. Les tuyaux doivent être installés de telle sorte qu'une pente d'au moins 0,5 cm par mètre courant de tuyau soit maintenue sur toute la ligne. Si cela n'est pas fait, l'air se concentrera sur la zone surélevée, créant des bouchons difficiles à traverser pour le liquide de refroidissement.
Cependant, leur apparition ne peut être totalement exclue. Par conséquent, lors de la conception, il est nécessaire de planifier l'installation de grues Mayevsky spéciales dans le système, conçues pour éliminer ces obstacles.
Devant les éléments chauffants connectés au circuit, des vannes d'arrêt doivent être installées. Si disponible, il ne sera pas nécessaire de vidanger l'eau du système en cas de réparation.
Le robinet de vidange doit être installé au point le plus bas du système. Dans le même temps, un vase d'expansion doit être connecté au point le plus haut du collecteur de suralimentation pour contrôler et stabiliser le volume d'eau en cas de surchauffe du liquide de refroidissement.
Le collecteur doit s'élever de 1,5 mètre ou plus au-dessus du niveau du sol. Dans ce cas, le tuyau doit être solidement fixé au mur, en évitant les coudes inutiles.
Le système peut être câblé à la fois horizontalement et verticalement. Dans le premier cas, le plus petit nombre de tuyaux est utilisé et les appareils sont connectés en série. Certes, avec un câblage horizontal, des poches d'air peuvent se produire et le flux de chaleur ne peut pas être ajusté.
Dans le cas d'un câblage vertical, le tuyau est posé dans le grenier. Dans le même temps, des tuyaux partant du tuyau central mènent aux radiateurs.
www.domskotlom.com
Système de chauffage monotube à considérer
Dans les maisons à un ou deux étages, il est possible d'utiliser des systèmes de chauffage à un tuyau verticaux et horizontaux.
Dans le même temps, un grenier est nécessaire pour le câblage supérieur, ce qui est loin d'être toujours pratique. En règle générale, le mouvement du liquide de refroidissement dans le système de chauffage est naturel. Afin d'augmenter le débit de circulation du fluide caloporteur, il est envisagé d'inclure une pompe dans le système.
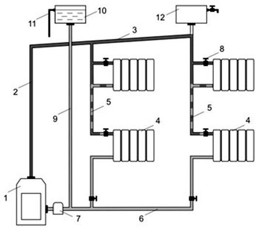
Schéma de chauffage simple à un tuyau: 1 - chaudière; 2 - la colonne montante principale; 3 - tuyau d'expansion; 4 - élévateurs inversés; 5 - câblage supérieur; 6 - collecteur d'air; 7 - vase d'expansion; 8 - pompe de circulation; 9 - ligne de retour.
Des vannes de régulation et d'arrêt sont nécessaires pour fermer la section de secours lors de travaux de prévention et de réparation, de redistribution du flux de liquide de refroidissement, de remplacement d'un élément cassé. C'est pratique, rapide et très pratique. Conditions obligatoires, sans lesquelles il ne sera pas possible de réaliser le bon système de chauffage monotube: la disposition des éléments du système pour une pièce particulière, l'emplacement de la jonction des tuyaux, le raccordement à la chaudière de chauffage; l'emplacement du vase d'expansion, l'installation des radiateurs, des vannes et des pompes ; robinets de vidange, etc.
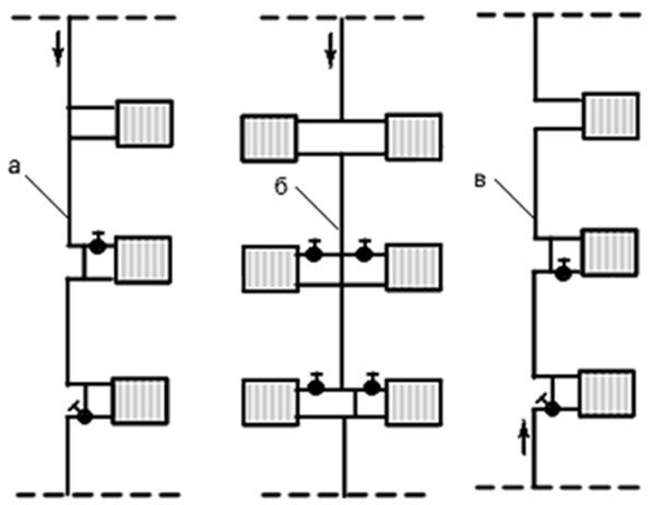
En fonction de la superficie de la maison, diverses options pour le système de chauffage sont sélectionnées. Pour les maisons privées d'une superficie allant jusqu'à 150 m², un système de chauffage sera suffisant, la circulation d'antigel ou d'eau dans laquelle se produit naturellement. En raison de la différence de densité du liquide de refroidissement dans différentes parties des batteries, un tel système, dont le schéma est montré dans l'IMAGE 2, fonctionnera de manière équilibrée.
Si la superficie de la maison dépasse 150 m², un système de circulation forcée doit être utilisé. Pour cela, une pompe à eau de puissance adaptée est installée.
Dans tous les cas, les radiateurs doivent être équipés en plus de robinets (vannes), dont l'installation permettra de couper l'alimentation en eau à l'heure souhaitée sur un tronçon déterminé de l'autoroute. Cela est nécessaire pour isoler une certaine zone lors de travaux de réparation et pour maintenir le chauffage dans les autres pièces. Parallèlement, le reste des locaux du bâtiment sera chauffé normalement.
Avantages et inconvénients du système
Un système de chauffage monotube a ses côtés positifs et négatifs. Connaissant ces caractéristiques, vous pouvez déterminer avec précision quel système à un ou deux tuyaux est le meilleur. Commençons donc par les pros :
- Le plus gros avantage, ce sont les économies. Avec un système monotube, il n'y a pas besoin de cavaliers au niveau des batteries, des élévateurs de retour et d'autres éléments. Cela permet de réduire de près de deux fois la consommation de tuyaux par rapport à un système de chauffage à deux tuyaux.
- Il est possible de réguler l'alimentation en liquide de refroidissement de chaque appareil de chauffage sans affecter de manière significative le fonctionnement de l'ensemble du système. Ceci est réalisé en installant des appareils modernes tels que des équilibreurs, des robinets à tournant sphérique et des dérivations, des vannes thermostatiques, etc.
- Un autre avantage est l'esthétique de l'ensemble du système. Comme le nombre de tuyaux ici est petit, il est pratique de les cacher derrière de faux murs ou panneaux.
Tout cela rend le système monotube populaire. Mais il convient également de rappeler que le schéma de toutes les communications sera assez simple. Cela permet d'installer le chauffage vous-même sans trop d'effort.
Mais ici aussi, il y avait quelques inconvénients et il y en a pas mal. Inconvénients du système :
- Pour que tous les appareils de chauffage fonctionnent efficacement, il est nécessaire d'assurer une pression suffisante dans le système. Cette circonstance conduit à la nécessité d'installer des pompes plus puissantes, ce qui entraîne une augmentation des coûts d'exploitation.
- L'installation de la pompe de circulation elle-même peut également être un inconvénient. Le système à deux tuyaux n'a pas besoin d'un tel équipement supplémentaire, il est installé uniquement pour augmenter l'efficacité.
- Lors de l'élaboration d'un schéma pour un système de chauffage monotube, il est nécessaire de prévoir l'emplacement des tuyaux de manière à garantir la gravité du liquide de refroidissement. En pratique, cette caractéristique implique l'installation d'un vase d'expansion au point le plus haut du système. En règle générale, ce détail supplémentaire est monté dans le grenier.
Mais, malgré ces inconvénients, le bon marché prend le dessus et les systèmes de chauffage monotube se trouvent le plus souvent dans les maisons privées, en particulier avec un petit espace de vie.
Caractéristiques du système Leningradka
Ce système monotube est utilisé pour chauffer des maisons de différents étages. La principale caractéristique du système Leningrad est que les tuyaux d'alimentation et de retour provenant de chaque radiateur sont reliés par un cavalier de dérivation. Grâce à cela, tous les radiateurs se réchauffent de la même manière, quelle que soit la distance par rapport à l'équipement de chauffage.
Au lieu d'un by-pass, des robinets supplémentaires de la canalisation principale peuvent être utilisés pour connecter les tuyaux d'alimentation et de décharge de la batterie. Cela garantit un fonctionnement ininterrompu du réseau même en cas de congestion aérienne.


Le schéma amélioré de Leningradka implique l'installation de vannes d'arrêt des deux côtés du radiateur. Grâce à cela, l'appareil peut être changé et réparé sans interrompre le fonctionnement de l'ensemble du système.
Variétés de systèmes monotubes
Malgré sa simplicité, un système de chauffage monotube présente des variations. Dans les maisons privées, deux types peuvent être utilisés :
- Système séquentiel ou non régulé. Dans ce cas, le liquide de refroidissement pénètre dans chaque appareil à tour de rôle, la sortie est de l'eau à une température plus basse, qui pénètre dans le radiateur suivant.
- Système réglementé, populairement surnommé "Leningrad". Cette option permet de réguler le débit de liquide de refroidissement dans chaque radiateur. Les appareils sont connectés à la ligne en parallèle.
La première option est considérée comme la plus simple et la moins chère à réaliser. Mais cela ne permet pas de réguler l'alimentation du liquide de refroidissement, donc les batteries situées plus loin de la chaudière auront une température plus basse. Pour cette raison, le système monotube séquentiel est utilisé uniquement pour le chauffage de petites maisons ou de pièces individuelles.
Le système "Leningrad" est meilleur en termes de régulation et de chauffage uniforme de tous les appareils. Ici, il est possible de réguler le débit de liquide de refroidissement dans chaque appareil à l'aide de vannes d'arrêt. Ce sont ces systèmes qui peuvent être installés dans des maisons de grande surface.
En plus du principe susmentionné, les systèmes monotubes sont subdivisés selon le mode de circulation du liquide de refroidissement. Il en existe trois types :
- Avec circulation naturelle. Dans ce cas, le liquide de refroidissement passe d'un radiateur à l'autre sous l'influence de la gravité.
- Circulation forcée. Ces systèmes sont considérés comme plus efficaces que la première option. Pour la circulation forcée du liquide de refroidissement, une pompe spéciale est utilisée.
- Option combinée. L'installation est réalisée selon le schéma d'un système à circulation naturelle, et pour augmenter l'efficacité, une pompe de circulation y est installée (via une dérivation).
Le premier des types de système énumérés ne fonctionne efficacement qu'avec une courte longueur de trajet, c'est pourquoi il n'est utilisé que dans les maisons avec une petite surface chauffée. Pour améliorer la circulation, il est conseillé d'installer un collecteur d'accélération immédiatement après la chaudière. Cette conception consiste à surélever le tuyau d'alimentation d'un mètre ou d'un mètre et demi au-dessus du niveau du premier radiateur. Il doit également être prévu pour l'installation d'un vase d'expansion de type ouvert situé au point le plus élevé du système.
Malgré sa moindre efficacité, le système à circulation naturelle du liquide de refroidissement est assez populaire. Cela est dû à la non-volatilité.Si une chaudière au sol électriquement indépendante est installée dans la maison, la panne de courant n'affectera en rien le fonctionnement du système de chauffage.
Noter! Plus performante, mais en même temps dépendante de l'électricité, une structure à circulation forcée du fluide caloporteur est envisagée. De tels systèmes peuvent avoir un long circuit et plus d'un. Dans ce dernier cas, plusieurs pompes de circulation sont installées, séparées pour chaque circuit.
Si dans votre région, il y a des cas fréquents de pannes de courant et qu'une chaudière au sol électriquement indépendante est installée, il est conseillé d'installer un système monotube combiné. Dans ce cas, en l'absence d'électricité, votre maison ne gèlera pas.
Avantages et inconvénients d'un système de chauffage monotube
Les avantages d'un tel circuit de chauffage sont particulièrement prononcés si l'installation et la maintenance du réseau de chauffage se font à la main :
- facilité d'installation,
- faible consommation de matériaux;
- à bas prix,
- réchauffement rapide des batteries.
Il n'y a pratiquement aucun inconvénient à ce système simple s'il est utilisé pour chauffer une petite maison.
Nous vous recommandons de vous familiariser avec : Quelles gouttières privilégier pour la collecte d'eau : en métal ou en plastique
Avec une augmentation de la surface totale des locaux, il devient perceptible, et parfois critique, le principal inconvénient du réseau de chauffage - les pertes de chaleur sur chaque dispositif de transfert de chaleur - plus la batterie est éloignée du début du circuit, moins ça chauffe.


D'où le deuxième inconvénient : la complexité, et parfois l'impossibilité d'utiliser un tel circuit thermique pour chauffer des bâtiments de grande surface totale.
Installation du système
Si vous décidez de créer un système de chauffage monotube dans votre maison à partir de zéro, la tâche principale sera de dresser un schéma. Il est nécessaire de déterminer clairement le lieu d'installation de la chaudière, du vase d'expansion, de la pompe de circulation, des radiateurs et autres appareils et dispositifs.
La séquence d'installation d'un système de chauffage monotube ressemblera à ceci :
- Tout d'abord, la chaudière est montée. Il est préférable de l'installer en bas du bâtiment, mais pas au sous-sol. Dans le même temps, n'oubliez pas les mesures de sécurité incendie (autour de l'appareil, les murs, les sols et les plafonds sont garnis de matériaux incombustibles). Avec la chaudière, une cheminée est équipée.
- Ensuite, nous montons le tuyau de dérivation de la chaudière. Pour cela, il est préférable d'utiliser des tuyaux d'un diamètre d'au moins 25 mm. Une autoroute est pré-établie dans toute la maison et des radiateurs de chauffage, des vannes et d'autres appareils sont installés. Lors de l'installation, n'oubliez pas la pente requise des tuyaux. Le liquide de refroidissement doit sortir par gravité de la chaudière, traverser toutes les batteries et retourner à nouveau dans la chaudière. Ceci est très important si votre système de circulation naturelle ou type combiné. S'il y a une pompe, la pente peut être omise.
- Lors du raccordement du tuyau principal à la chaudière, il est nécessaire d'installer un vase d'expansion dont le type dépend du système de chauffage sélectionné.
- Il est conseillé d'installer des filtres sur la conduite de retour avant d'entrer dans la chaudière. Il s'agit de protéger tous les équipements des débris et des impuretés.
Si vous installez un système de type combiné ou avec circulation forcée du liquide de refroidissement, vous devez installer la pompe à l'aide d'un by-pass. Dans la première option, une telle combinaison est requise et dans la seconde, elle est souhaitable. L'installation de la pompe à travers le by-pass permettra de l'éteindre en cas de réparation ou de panne de courant, tandis que le système de chauffage continuera à fonctionner.
Avant de commencer l'opération, il est nécessaire d'effectuer un test de pression. Ce processus est effectué à l'aide d'une pompe spéciale qui augmente la pression dans le système. Si la pression dans le système est maintenue pendant le test de pression, il n'y a pas de fuite et la saison de chauffage peut commencer.
Schémas de câblage de base
Les systèmes à 1 tuyau sont utilisés dans les bâtiments de banlieue et à plusieurs étages. Ils sont divisés en 2 types :
- Classique, ou "Leningrad". Il s'agit d'un acheminement horizontal qui est posé sur le revêtement de sol. Dans ce cas, les radiateurs sont connectés au circuit annulaire. Les doublures sont reliées entre elles par le bas ou en diagonale. Si un système de chauffage monotube avec un câblage inférieur est installé dans la pièce, le schéma est rendu séquentiel. Dans ce cas, toute la longueur du tuyau principal a le même diamètre.
- Radiateur. Il s'agit d'un type de câblage vertical, qui est utilisé non seulement dans une maison privée de 1 étage, mais également dans des immeubles d'habitation. Les colonnes montantes des tuyaux traversent les dalles de plancher et sont reliées à un radiateur à chaque étage. L'eau est fournie aux tuyaux au moyen de collecteurs. Ici, des bypass et des cavaliers sont utilisés.
Le liquide dans les tuyaux se déplace de la chaudière de chauffage à travers le système de 2 manières: de manière forcée ou naturelle. Le schéma d'installation est choisi en fonction des conditions de fonctionnement de la structure. Si une "Leningradka" est installée dans une maison à un étage, alors pour un liquide de refroidissement par gravité, il est nécessaire d'augmenter la section interne du collecteur annulaire. Il doit mesurer jusqu'à 50 mm. Pour que le liquide de refroidissement traverse les radiateurs, la section de surpression doit être située verticalement et la canalisation doit avoir les pentes nécessaires. Un vase d'expansion est installé à l'endroit le plus élevé.
Pour un bâtiment à deux étages, créez un schéma avec des contremarches. Dans ce cas, les contremarches traversent toutes les pièces. Le vase d'expansion est monté dans le grenier et le tuyau d'alimentation y est amené. Le diamètre du tuyau doit être de 40 à 50 mm. Des branches horizontales partent du tuyau d'alimentation, qui sont montées avec une légère pente. À travers eux, le liquide pénètre dans les radiateurs et les colonnes montantes. L'unité de dérivation et la pompe de circulation sont installées dans la zone où commence l'ascenseur.
Qu'est-ce qu'un système monotube avec un câblage inférieur
D'après le nom, il est clair que toutes les batteries sont connectées à un tuyau posé par le bas le long du périmètre des locaux chauffés. Les batteries sont connectées au tuyau en série, l'entrée/sortie dans les batteries peut être inférieure ou diagonale (la deuxième option a les meilleures performances en termes d'efficacité de chauffage). Toutes les batteries ne peuvent fonctionner qu'en même temps.
Pour étendre les possibilités de contrôle de la température dans chaque pièce, un système de dérivation est utilisé - les batteries sont connectées en parallèle à un tuyau, elles peuvent fonctionner séparément et simultanément, la température de chauffage de chaque batterie est en outre régulée.
Par le type de circuit, un système monotube est ouvert et fermé.
- À l'air libre, il y a un vase d'expansion pour recevoir un volume d'eau accru et évacuer l'excès d'eau. La citerne est associée à l'atmosphère, ce qui a donné au système le nom d'open.
- Dans un système fermé, le vase d'expansion est fermé, tout le système est sous pression. Pour éviter les urgences en version fermée, un groupe de sécurité est monté sur le système: un manomètre, un purgeur d'air et une soupape de sécurité.
Un système monotube avec un câblage inférieur ne peut fonctionner qu'avec un mouvement forcé du liquide de refroidissement (avec une pompe), et même dans ce cas, la longueur du circuit est limitée. Plutôt, pas tant la longueur du circuit que le nombre de batteries connectées et leur transfert de chaleur réel.
Cette connaissance est nécessaire pour comprendre le principe du système et savoir ce qui peut être réalisé avec son aide. Une telle connaissance permet de rendre l'installation plus consciente, il sera clair pourquoi chaque tuyau et chaque grue est nécessaire. Le système de dérivation améliore considérablement les caractéristiques du chauffage monotube, mais il est plus difficile à installer, plus coûteux en termes de nombre de composants et de coût. De plus, il ne peut être installé que sur des revêtements de sol, sinon les vannes à pointeau de réglage seront inaccessibles.
Vidéo - "Leningradka" - système de chauffage
Comment fonctionne un système monotube
Le circuit thermique est constitué d'éléments fonctionnels :
- générateur de chaleur - une chaudière qui chauffe le liquide de refroidissement;
- une pompe ou un surpresseur qui fait circuler le fluide de travail ;
- un dispositif de compensation qui régule la pression dans la canalisation;
- éléments dissipateurs de chaleur - radiateurs ou chauffage par le sol;
- reliant tous les éléments des tuyaux.
Nous vous recommandons de vous familiariser avec : Comment bien installer une cheminée pour un foyer moderne ?
Systèmes à circulation naturelle et forcée
Pour transférer la chaleur de la chaudière aux éléments de transfert de chaleur, une circulation constante du liquide de refroidissement est nécessaire.


L'installation d'un collecteur de surpression - un tuyau en forme de boucle retiré verticalement de la chaudière - permet de créer une circulation naturelle du fluide de travail.
A partir de la chaudière, le caloporteur chauffé tend vers le haut en raison de sa température élevée. Après avoir dépassé le point supérieur du collecteur, le liquide de refroidissement se précipite vers le bas sous l'action de la gravité avec l'accélération de la gravité. Prenant rapidement de la vitesse, le milieu de travail par inertie continue de se déplacer plus loin le long du pipeline.
Le mouvement constant du fluide de travail dans le circuit de chauffage peut être assuré en équipant le système d'une pompe électrique, qui donne au liquide de refroidissement l'impulsion nécessaire.


Les circuits de chauffage équipés d'une pompe de circulation sont appelés systèmes à circulation forcée.
| Type de circulation | Avantages | désavantages |
| Naturel |
|
|
| obligatoire |
|
|
Dispositif de compensation de type ouvert et fermé
En raison de l'expansion du fluide de travail pendant le chauffage, un excès de pression est créé dans la canalisation, lorsque le système de chauffage est éteint, au contraire, la pression dans les tuyaux diminue. Ces fluctuations affectent négativement les éléments du système de chauffage et peuvent provoquer des pannes.
Pour compenser la pression du liquide de refroidissement, un vase d'expansion est inclus dans le circuit de chauffage. L'excès de fluide de travail chauffé pénètre dans le réservoir, la pression dans les tuyaux diminue, mais lorsque le chauffage est éteint, le réservoir renvoie le liquide de refroidissement dans le circuit, compensant ainsi la pression insuffisante.
Les dispositifs de compensation sont de type ouvert et fermé :
- Réservoir ouvert - conteneur entièrement ou partiellement ouvert. Installez un tel appareil dans la partie supérieure de la canalisation au-dessus du chat. L'eau chaude entrant dans le ballon s'évapore progressivement, ce qui peut entraîner un manque de liquide de refroidissement dans le circuit de chauffage, il faut donc rajouter de l'eau dans le ballon. Afin de ne pas surveiller le niveau d'eau, le réservoir est relié à l'alimentation en eau et équipé d'une vanne à flotteur. Pour que lorsque le récipient est débordé, l'eau bouillante ne déborde pas sur son bord, un déversoir est aménagé dans le réservoir, le conduisant à l'égout.
- Un réservoir fermé fonctionne sur le même principe qu'un réservoir ouvert, mais le liquide de refroidissement n'entre pas en contact avec l'air ambiant. Le dispositif de compensation est un conteneur complètement scellé, divisé à l'intérieur par une membrane en deux compartiments. L'un des compartiments est relié à la canalisation, le second, doté d'une vanne d'air, est rempli d'air. Lorsque le chauffage est allumé, le liquide de refroidissement chaud remplit le réservoir, appuie sur la membrane, comprimant l'air dans le deuxième compartiment. Lorsque le fluide de travail refroidit, la pression diminue et l'air déjà comprimé appuie sur la membrane, renvoyant le liquide de refroidissement du réservoir vers la canalisation.À une pression critique dans le deuxième compartiment, la vanne d'air s'ouvre et l'excès d'air est progressivement libéré - cela permet à la pression dans le réservoir de s'égaliser et d'éviter d'endommager l'appareil.
Nous vous recommandons de vous familiariser avec : Quelle peinture convient pour peindre les radiateurs de chauffage ?


Noter! S'il y a une montée dans le système, la section la plus élevée du pipeline est sélectionnée pour l'installation.
| Type d'appareil de compensation | Avantages | désavantages |
| ouvert |
|
|
| fermé |
|
|
Façons de connecter les radiateurs
Les connexions de radiateur inférieures, diagonales et latérales peuvent être utilisées :
- En bas : le tuyau est raccordé aux tuyaux inférieurs du radiateur. Une telle connexion vous permet de placer des tuyaux le long du sol, les rendant peu visibles à l'intérieur de la pièce, ou de cacher des tuyaux sous la plinthe. Cependant, les parties supérieures de la batterie chauffent mal et l'efficacité de chauffage diminue.
- Diagonale : le liquide de refroidissement entre dans le tuyau supérieur d'un côté du radiateur et sort par le tuyau inférieur du côté opposé. La connexion la plus efficace - la batterie est complètement réchauffée et dégage un maximum de chaleur dans la pièce;
- Latéral : des tuyaux d'un côté du radiateur sont utilisés. La connexion est utilisée pour se connecter à la colonne montante de chauffage.


Comment calculer le nombre optimal de sections de radiateur
Les indicateurs climatiques dans les locaux doivent répondre aux exigences du SNiP 41-01-2003, la méthode de calcul y est également donnée. Ce sont des calculs assez complexes, il est impossible de les faire sans une connaissance sérieuse de l'ingénierie thermique. Nous ne listons que quelques données initiales qui sont prises en compte lors des calculs.
Fichier à télécharger - SNiP 41-01-2003
SNiP 41-01-2003 (Chauffage, ventilation et climatisation)
- Sur place. Volume, conductivité thermique des murs, du plafond et du sol, zone climatique de l'emplacement, valeurs maximales de température, nombre et caractéristiques des ouvertures des fenêtres et des portes, fréquence d'échange d'air par les systèmes de ventilation, disposition spatiale de la pièce, etc.
- Systèmes de chauffage. La température du fluide de chauffage à l'entrée et à la sortie, la vitesse et le type de fluide de chauffage, les caractéristiques physiques des échangeurs de chaleur, la puissance totale de la chaudière de chauffage, etc.
Cela signifie que vous ne pouvez pas faire les calculs exacts vous-même. Pour de tels cas, il existe des recommandations générales de praticiens, qui suffisent amplement pour l'installation du chauffage. De plus, aujourd'hui, sur chaque batterie, il est possible d'ajuster la puissance calorifique en tenant compte des conditions réelles.
Bien que le volume d'air chauffe la batterie, pour simplifier les calculs, des mètres carrés de pièce sont utilisés, tandis que la hauteur standard des pièces est prise en compte. Pour les bâtiments dont le coefficient de déperdition thermique ne dépasse pas les exigences des textes réglementaires en vigueur, on peut supposer que 100 watts suffisent pour chauffer 1 m2.
En tenant compte des caractéristiques architecturales spécifiques des locaux, vous pouvez connaître plus précisément les coûts de l'énergie thermique par la formule
KT (quantité de chaleur) = 100 W / m2 × P × K1 × K2 × K3 × K4 × K5 × K6 × K7où
- P est la superficie de la pièce en mètres carrés;
- K1 - coefficient de vitrage des ouvertures de fenêtre, peut être de l'ordre de 1,27 0,85, en fonction des caractéristiques des unités de verre. Pour simple - 1,27, pour double - 1,0, pour triple - 0,85;
- K2 - coefficient d'isolation thermique des murs extérieurs. De 1,27 pour les murs d'une épaisseur d'une brique et demie à 0,85 à haute isolation thermique. Déterminé « à l'œil » ;
- K3 est le rapport entre la surface des fenêtres et la surface du sol.
De plus, la température minimale (K4), la qualité des murs extérieurs (K5), le type de grenier (K6) et le coefficient de hauteur sous plafond (K7) sont pris en compte. La demande totale de chaleur doit correspondre à la puissance de la chaudière, afin que la chaudière ne fonctionne pas en permanence dans les modes critiques - il est préférable de prévoir une réserve de puissance d'environ 20%.
Bien sûr, aucun des "amateurs" ne fait de calculs aussi simplifiés, et ce n'est pas nécessaire. Notre conseil - prendre environ 120 W/m2, tenir compte du transfert thermique d'une section de la batterie (donné par le fabricant), compter le nombre total de sections pour chaque pièce et le corréler avec la puissance de la chaudière. Ne vous inquiétez pas que la température sera trop élevée et qu'il y aura des paiements importants pour les fluides de chauffage - chaque batterie peut être régulée séparément.
Installation d'un système de chauffage monotube
Pour effectuer des travaux d'installation, en plus des outils ordinaires, vous devez également disposer d'un appareil spécial pour le soudage de tuyaux en propylène, ce n'est pas très cher, il ne sera pas difficile d'apprendre à travailler avec. L'ensemble standard comprend des ciseaux pour couper les tuyaux - il est très pratique de les utiliser, la coupe est lisse.
Comment installer le système de chauffage ? Le travail doit être divisé en plusieurs étapes.
Étape 1
Vous devez faire un croquis du système de chauffage, réfléchir à l'emplacement de la chaudière, où et comment les tuyaux se trouveront, combien, où et quel type de radiateurs doivent être installés.
Ne vous attendez pas à ce que le croquis fonctionne du premier coup ; après les premières tentatives de balisage, il y a une forte probabilité que vous deviez apporter des modifications. Il peut être nécessaire de créer plusieurs circuits pour l'évacuation de l'eau froide, ce qui nécessitera l'achat d'appareils de plomberie et de raccords supplémentaires. Lors de l'esquisse, tenez compte des besoins en puissance de la chaudière et des caractéristiques physiques optimales des échangeurs de chaleur.
Étape 2
Achat de matériel. Comptez le nombre de tous les tours, tés et transitions, raccords, robinets à tournant sphérique et à pointeau ordinaires, systèmes de contrôle et de gestion, la longueur des tuyaux en polypropylène.
Une note importante - si vous avez un système de chauffage de type ouvert, vous pouvez acheter des tuyaux ordinaires, si le système de chauffage est fermé (fonctionne sous une pression de 1,5 atm.), Ensuite, les tuyaux doivent être renforcés avec du papier d'aluminium. Si le contour est situé sous le sol, vous devez acheter une isolation.
Lorsque tous les calculs sont effectués, augmentez le nombre total de tuyaux et de raccords de 10%, cela couvrira les déchets non productifs et les erreurs possibles. Au final, il sera beaucoup moins coûteux d'augmenter la quantité de matériaux que de les «geler» pendant les travaux et de se rendre à nouveau au magasin pour acheter celui qui manque.
Diamètres de tuyauterie recommandés en fonction de la puissance attendue du système de chauffage.
| Diamètre nominal en pouces | Débit maximal du liquide de refroidissement | Charge thermique maximale |
| ½ | 5,7 l/min | 5.5kw |
| ¾ | 15 l/min | 14,6 kW |
| 1 | 30 l/min | 29,3 kW |
Si le diamètre du tuyau calculé est supérieur au diamètre standard du radiateur, achetez les adaptateurs appropriés.
Étape 3
Faire des marquages en place, étirer les tuyaux, disposer les batteries, les raccords et les robinets, revérifier tous les composants. Faites les marquages avec soin, utilisez un niveau.
Tout a été préparé, vérifié et recalculé, un plan du système de chauffage a été établi, les objectifs ultimes sont clairs, vous pouvez procéder à l'installation.Si vous installez un système de chauffage lors de la construction d'un bâtiment, il est préférable de poser des tuyaux sous le sol, si le bâtiment est déjà debout, vous devrez les fixer au bas du mur. Les tuyaux sous le sol doivent être isolés, pour cela il existe des isolants spéciaux, ils sont très efficaces et faciles à installer.
Encore une chose - allez-vous créer un système d'isolation monotube ordinaire ou un système de dérivation? Le second est un peu plus compliqué et nécessite plus de renforcement. Mais il permet d'ajuster la température de chaque batterie et, si nécessaire, de les réparer ou de les remplacer sans arrêter complètement le système.
Notre conseil - pour un petit bain de campagne avec une ou deux pièces, vous pouvez utiliser un système ordinaire, pour les bâtiments avec trois ou quatre pièces, il est préférable de monter un by-pass.
Commencez par la chaudière, et lors du choix du site d'installation, tenez compte de l'espace libre et de la possibilité d'évacuation des fumées. Il n'y a pas d'algorithme unique pour l'installation de chaudières, cela dépend beaucoup de son type et de ses caractéristiques de conception. Les chaudières peuvent être au sol ou murales, avec différentes caractéristiques techniques, dimensions, etc. La règle principale est de suivre strictement les recommandations du fabricant pour l'installation et l'évacuation des gaz d'échappement, en tenant compte des exigences du SNiP II-35-76 et SNiP 2.04.05-91.
CHAUFFERIES. Édition mise à jour du SNiP II-35-76. USINES DE CHAUDIÈRE. Édition officielle
Édition mise à jour du SNiP II-35-76
Caractéristiques d'installation
Les experts aideront à faire le calcul correct de l'installation d'un système de chauffage monotube. Le reste du travail est fait à la main :
- L'installation d'un système de chauffage commence par l'installation d'un générateur de chaleur.
- Le vase d'expansion et l'unité de collecteur (pour l'accélération) sont montés sur la colonne montante, qui est située verticalement. Il est installé à proximité de la sortie de l'appareil chaudière.
- Ensuite, des marquages sont effectués pour les radiateurs avec la pente requise. La hauteur du collecteur et l'emplacement des radiateurs doivent correspondre.
- Le circuit de chauffage est assemblé en suivant les marquages. La technologie d'assemblage à choisir dépend du matériau à partir duquel les tuyaux sont fabriqués.
- Les coudes de tuyaux sont équipés de raccords et de vannes d'arrêt, qui vous permettront de connecter le système à la batterie.
- Des bouches d'aération sont installées sur les radiateurs.
- Des robinets à tournant sphérique sont installés entre les radiateurs. Avec leur aide, vous pouvez réguler le fonctionnement de l'ensemble du système.
- Le type de batterie doit correspondre à la tuyauterie et à la capacité du système de chauffage.
Pour vérifier l'étanchéité de la tuyauterie, fermez le vase d'expansion. Pour cela, le circuit est rempli d'un liquide de refroidissement, puis la chaudière est démarrée. À l'aide de vannes de régulation, le fonctionnement du système de chauffage est ajusté. Si vous envisagez d'installer un système complexe, il est préférable de contacter des spécialistes disposant des compétences et des outils nécessaires.
Installation de chaudière de chauffage
Étape 1. Choisissez un emplacement. La chaudière doit être située le plus près possible du système d'alimentation en eau existant, les problèmes de cheminée doivent être résolus. Montez la chaudière sur le mur ou placez-la sur le sol, en la gardant horizontale. Lors de l'installation de la cheminée, respectez les règles élémentaires de sécurité incendie.
CHAUDIÈRES DE CHAUFFAGE AU GAZ EN ACIER TYPE "DANKO". MANUEL
Manuel chaudière
Manuel d'installation et d'entretien pour les spécialistes VIESMANN
VIESMANN - instructions d'installation pour une chaudière à gaz
Étape 2. Si le système de chauffage est ouvert, vous devez faire un vase d'expansion avec un drain. Il peut s'agir d'un récipient carré en métal ordinaire d'une dizaine de litres. Il est raccordé à la chaudière au niveau de la sortie eau chaude, et le ballon doit être situé au dessus de la chaudière et des batteries.
Le système a une circulation forcée de l'eau, cela n'a donc aucun sens de mettre le réservoir très haut.Le réservoir doit avoir un tuyau de vidange constamment ouvert pour évacuer l'excès d'eau pendant le chauffage et pour empêcher la formation d'un vide pendant le refroidissement du liquide de refroidissement. L'expandeur fermé est monté de la même manière.
Vidéo - Vase d'expansion de type membrane
Vidéo - Raccordement d'un vase d'expansion à membrane au polypropylène
Étape 3. Installation de l'unité de sécurité. Il est installé uniquement pour les systèmes de chauffage de type fermé dans un endroit accessible, dans la plupart des cas à proximité de la chaudière. L'unité de contrôle et de sécurité se compose d'un manomètre (indique la pression réelle dans le système), d'une soupape de décharge d'air et d'une soupape de sécurité. La soupape de sécurité s'ouvre automatiquement lorsque les valeurs de pression maximales admissibles sont dépassées.
Vidéo - Groupe de sécurité
Étape 4. Installation de la pompe.
Les pompes sont vendues avec les chaudières, dans toutes les chaudières à gaz et électriques modernes, elles sont montées dans le corps, aucune action supplémentaire n'est nécessaire. Si le modèle installé n'a pas de pompe intégrée ou si vous avez une chaudière à combustible solide, vous devrez l'acheter séparément. Installé dans n'importe quel endroit pratique à l'entrée d'eau froide du système de chauffage à la chaudière.
Vidéo - Installation d'une pompe de circulation GRUNDFOS dans un système de chauffage
Étape 5. Installation du filtre. Il y a des nuances ici. En effet, de nombreuses chaudières de chauffage disposent de deux circuits d'eau chaude, l'un est utilisé pour le chauffage, et le second est utilisé pour les besoins domestiques : douche, vaisselle. Si de l'eau est prélevée fréquemment dans la chaudière, la probabilité que diverses impuretés mécaniques pénètrent dans la chaudière augmente, il est recommandé d'installer un filtre. Si la chaudière ne fonctionne que pour le chauffage, il n'est pas nécessaire d'installer un filtre, l'eau n'est prélevée nulle part du système, aucune impureté n'y pénètre. Il existe une option - l'eau dans le pays est fournie par des pompes flottantes provenant de puits. Dans ce cas, un filtre doit être installé lors de l'installation des pompes. Si cela n'a pas été fait, mettre un filtre à l'entrée d'eau de la chaudière.
Il existe un axiome en mécanique : plus l'équipement est différent, plus le système est vulnérable, plus la probabilité qu'un appareil tombe en panne est grande. Des ingénieurs expérimentés essaient d'installer uniquement des mécanismes et des équipements critiques, tous les autres ne sont pas utilisés. Cela s'applique également au filtre - il n'y en a pas ailleurs ou la probabilité d'entrée d'impuretés tend vers zéro - il n'est pas nécessaire d'installer des filtres. Il s'agit de connexions supplémentaires, de boîtiers et de remplissage supplémentaires, et chaque connexion peut fuir. Gardez cette règle à l'esprit lors de l'installation de tout système.
Conseils pratiques. Tous les filtres existants (à l'exception de ceux très coûteux avec des filtres moléculaires, les filtres dits de type osmose) purifient l'eau uniquement des impuretés mécaniques. C'est bien, mais ils n'existent pas dans l'eau du pipeline. La chaudière craint les dépôts de sels de calcium sur les parois - le transfert de chaleur est considérablement réduit, l'efficacité diminue. Pour éviter de tels phénomènes, nous vous recommandons d'utiliser du Calgon liquide ordinaire (utilisé lors du lavage). Versez-le dans le système de chauffage fermé pendant le remplissage à raison d'environ 1 litre pour 100 litres d'eau - les problèmes de calcium seront résolus.
Installation de tuyaux de chauffage et marquages pour l'installation de radiateurs
| Étape, non. | Illustration | Description ou explication |
| Étape 1. Percez des trous pour les clips (attaches de tuyaux) et des trous pour que les tuyaux passent à travers les plafonds ou les murs. | Selon le matériau de fabrication des murs et des sols, vous devez utiliser une perceuse ou un perforateur ordinaire. | |
| Étape 2. Tirez les tuyaux à travers les trous. | C'est très important - tout en tirant des tuyaux, vous devez fermer leurs trous, sinon il y a une possibilité que des objets étrangers pénètrent à l'intérieur. Il est impossible de retirer des objets du tuyau plus tard, et ils peuvent créer de nombreux problèmes. Le tuyau est-il très long et difficile à tirer ? Réfléchissez à l'endroit où vous pouvez installer les raccords, mesurez la distance et coupez le tuyau en plusieurs morceaux. Coupez le tuyau avec une marge, vous ne pourrez jamais mesurer la longueur optimale des tuyaux tout de suite, alors vous ferez un ajustement sur place. | |
| Marcher. 3. Marquage du lieu d'installation des radiateurs. | Tous les radiateurs doivent être situés à la même hauteur ; effectuer les travaux à niveau. Chaque type de radiateur a ses propres différences, pour le rendre plus facile et plus rapide à marquer, faites un simple gabarit à partir d'un morceau de planche ou de contreplaqué. Marquez la position des supports de montage supérieur et inférieur dessus, percez des trous à ces endroits. Il suffit ensuite de poser le gabarit sur le sol, de l'appuyer contre le mur et de marquer les points de fixation des supports. Faites tout le travail de marquage très soigneusement, la qualité et la rapidité des travaux ultérieurs sur l'installation du système de chauffage en dépendent en grande partie. | |
| Étape 4. Préparez les radiateurs. | De nos jours, ils n'utilisent pas de radiateurs en fonte, les radiateurs en aluminium ou bimétalliques sont très appréciés. Leur avantage est qu'avec une taille plus petite, une zone d'échange thermique beaucoup plus grande. Le même avantage est également un inconvénient, que les fabricants n'indiquent pas. Les radiateurs en aluminium ont beaucoup de cavaliers différents (pour augmenter la surface), qui sont situés dans des endroits difficiles d'accès. Il est impossible d'en retirer la poussière. Si l'épaisseur de la poussière atteint un millimètre, l'efficacité du transfert de chaleur est réduite de moitié. Où est passée la dignité ? Une question rhétorique, mais le prix élevé demeure. La publicité est souvent utilisée par les fabricants pour vendre des produits plus chers et plus rapidement, et non pour faire quelque chose d'utile pour le consommateur. Cela ne s'applique pas seulement aux radiateurs, rappelez-vous ceci. Dévissez les raccords d'usine (certains types de radiateurs peuvent avoir des bouchons), scellez les filets avec du mastic, du câble ou un joint adhésif moderne. Fixez les vannes et les tés de la même manière, si nécessaire selon le schéma technologique. |
Comment travailler avec des tuyaux en polypropylène
Nous avons déjà mentionné que ces tuyaux ont d'excellentes caractéristiques et un prix tout à fait raisonnable, ce sont ces qualités qui sont devenues la raison de leur grande popularité. Les tuyaux sont soudés avec un fer à souder spécial, la température de fusion du polypropylène est de + 270 ° C, cette température doit être réglée sur le thermostat de l'appareil. Le temps de chauffe des tuyaux dépend de leur diamètre. Le tableau montre les valeurs approximatives des paramètres.
Temps de chauffe du tuyau
| Diamètre du mot passage du tuyau, mm | Temps de chauffe approximatif, sec. |
| 20 | 5 |
| 25 | 7 |
| 32 | 8 |
| 40 | 12 |
| 50 | 18 |
| 63 | 24 |
| 75 | 30 |
Le fer à souder a deux buses, à l'aide de l'une la surface intérieure du tuyau est chauffée, avec l'aide de l'autre la surface extérieure du tuyau est chauffée. Vous devez chauffer les deux surfaces en même temps, dès que le temps spécifié est écoulé, les sections de tuyau sont retirées et insérées les unes dans les autres avec peu d'effort. C'est très important - il est interdit de faire tourner le tuyau lors de l'assemblage, les efforts ne doivent être qu'axiaux. Après la connexion, vous devez maintenir les connexions pendant un certain temps (dix secondes) pour refroidir.
Avec l'acquisition d'expérience, un liseré soigné sera obtenu. La résistance des joints ne diffère presque pas de la résistance des tuyaux solides, les fuites et la dépressurisation pendant le fonctionnement sont exclues. N'oubliez pas d'ajouter un centimètre de chaque côté lors de la coupe des tuyaux, cette longueur ira à la connexion. On ne se lasse pas de répéter - tout travail demande de l'intelligence et de l'attention.
Ne vous précipitez pas pour tout coller d'affilée, réfléchissez, prévoyez vos actions quelques pas en avant. Il y a des moments où vous devez sauter la zone à traiter et coller les tuyaux devant, puis revenir à l'endroit d'origine. Cela est dû au fait qu'il ne sera alors pas possible de se rendre sur le lieu de travail avec un fer à souder. En un mot, réfléchissez à la technologie de soudage plusieurs étapes à l'avance - comment quel segment doit être tourné pour le soudage, y aura-t-il une telle opportunité plus tard, etc.
Installation de radiateurs
L'un des types de travaux les plus difficiles lors de l'installation d'un système de chauffage. Nous avons déjà fait des marquages sur le mur, nous devons maintenant accrocher les piles.
Étape 1. Percez les trous pour les chevilles selon le marquage. Pour le forage, vous devez utiliser une perceuse à surfaçage victorieux (pour les briques et le béton). La perceuse doit être réglée sur le mode de perforation. Choisissez le diamètre et la longueur des chevilles en tenant compte des dimensions et du poids des batteries.
Étape 2. Vissez le robinet, la vidange et les bouchons Mayevsky à la batterie.
Veuillez noter que les bouchons peuvent être installés à différents endroits, selon l'endroit où vous les avez installés, le débit du fluide chauffant peut être diagonal ou horizontal. Si vous avez un système de chauffage de dérivation, vous devez souder les tés au bon endroit, créer une branche pour attacher un cavalier, ce qui vous permet de déconnecter complètement la batterie lors de la réparation ou du remplacement.
Une dernière chose - afin de pouvoir ajuster la température de chaque batterie dans le système de chauffage de dérivation, il est nécessaire d'installer une vanne à pointeau près de chaque radiateur, à l'aide de laquelle le débit du liquide de refroidissement sera régulé (en de cette façon, la température de la batterie change). Pourquoi exactement un robinet à aiguille? Parce qu'il permet une régulation douce et précise du débit du fluide caloporteur.
Lors du brasage, observez la direction du té avec la direction des robinets du radiateur. Afin de ne pas vous tromper, avant de commencer le travail, faites-vous des marques spéciales avec un crayon, vérifiez leur exactitude et seulement après cela, commencez à souder. Si vous faites une erreur, c’est désagréable, mais pas fatale. Coupez la mauvaise section et répétez les opérations dans le bon ordre, c'est pour de telles situations que vous avez acheté tous les éléments avec une marge.
Étape 3.Faire un cerclage de batterie pour les sections de dérivation. Nous avons déjà mentionné qu'ils augmentent la polyvalence du système. Cette opération s'applique uniquement au système de dérivation.
Démarrage du système
Pour information, les projets de chauffage industriel pour la mise en service fournissent jusqu'à 10% du budget total. Cela signifie que la mise en service est très importante et complexe. Pour vous assurer contre les erreurs, voici quelques conseils pratiques.
- Ouvrez toutes les vannes et bouches d'aération avant de remplir le système d'eau. Veuillez noter - pas après le remplissage, mais avant. Laisser l'eau se répandre un peu sur le sol, ça va. Ne les fermez qu'après l'apparition de l'eau.
- Remplissez lentement le système, n'ouvrez pas complètement le robinet d'eau. Le fait est qu'un remplissage rapide peut provoquer la formation de bourrages d'air dans des endroits où ils ne peuvent pas être éliminés - vous devez vidanger l'eau et tout recommencer. Cela ne se produit pas toujours, tout dépend de la bonne installation du système, mais un tel embarras se produit pour les débutants.
Vidéo - Démarrage et remplissage du système de chauffage avec un liquide de refroidissement
Il est conseillé d'installer un système de chauffage monotube avec un câblage plus bas dans les petits bâtiments, plus la batterie est éloignée de la chaudière, plus sa température de chauffage est basse. Si la résidence permanente n'est pas prévue dans la maison de campagne, en hiver, pendant l'absence, l'eau doit être drainée et remplie à l'arrivée. Tout le monde ne veut pas faire de telles choses. La solution consiste à utiliser de l'antigel comme liquide de refroidissement, mais cela coûte cher.
Si vous le souhaitez, vous pouvez monter un système de chauffage monotube dans la baignoire. Mais pourquoi? Le hammam n'a pas besoin d'être chauffé, les batteries sont installées uniquement dans le vestiaire. Un ou deux radiateurs suffisent pour cette pièce. Le système sera utilisé plusieurs heures par semaine. Vaut-il la peine de perdre autant de temps et d'argent? Peut-être, pour un petit bain, vaut-il la peine d'acheter un radiateur ordinaire. Il est opportun et rentable d'installer un système de chauffage dans un grand complexe de bains ou un bain public combiné avec un immeuble résidentiel.
banya-expert.com
Chauffage avec colonnes montantes verticales
Ci-dessus, des schémas possibles avec un câblage horizontal ont été considérés. Mais pour les bâtiments de plusieurs étages, il existe des options plus rationnelles pour le chauffage monotube - vertical. L'équipement utilisé est identique à l'horizontale, la seule différence réside dans la configuration du circuit et son câblage.


Le principe de fonctionnement du schéma d'un système de chauffage monotube avec câblage supérieur est le suivant: l'eau chauffée de la chaudière monte le long d'une colonne montante verticale, où elle pénètre dans les colonnes montantes verticales et les radiateurs à travers le pipeline de distribution. Après refroidissement, il retourne au générateur de chaleur. Un tel CO peut être équipé d'un vase d'expansion de type ouvert et fermé. Le mouvement de l'eau à travers la canalisation est assuré par une pompe de circulation.
Il existe trois types de colonnes montantes verticales avec acheminement par le haut, qui diffèrent par la manière dont les batteries sont connectées:
A. Colonne verticale avec connexion unilatérale des radiateurs. B. Riser avec connexion de batterie bidirectionnelle. B. Riser à circulation inversée.


Le principal inconvénient du câblage supérieur est la perte de chaleur lors de l'alimentation en eau des batteries.


La figure ci-dessus montre un schéma d'un système de chauffage monotube avec câblage inférieur. Les branches de départ et de retour du circuit de chauffage sont posées au sous-sol ou sous le plancher du premier étage. Le liquide de refroidissement chauffé s'écoule de la conduite directement dans les colonnes montantes verticales avec radiateurs. L'avantage de ce système est qu'il n'y a pas de sortie de pipeline vers le grenier, ce qui signifie que les pertes de chaleur sont minimisées lors de la livraison du liquide de refroidissement au consommateur.