Le vitrage des structures résidentielles, administratives, commerciales, industrielles ou autres est réalisé conformément aux exigences des normes interétatiques et nationales. Dans notre pays, à partir du 01.10.2016, les tailles standard des fenêtres en plastique et des blocs de balcon (POBB) sont conçues en tenant compte de GOST R 56926-2016. Ce document indique les conditions techniques pour la fabrication de structures translucides à partir de profils de différentes marques, en tenant compte des caractéristiques architecturales des bâtiments et de la région de leur emplacement, ainsi que des paramètres des ouvertures de fenêtres et de balcons dans lesquelles elles seront montées. .
Quelles sont les caractéristiques de conception des cadres en plastique
Les caractéristiques du profilé PVC permettent de réaliser toutes les structures à partir de celui-ci, avec un mode d'ouverture différent:
- Feuille simple. Ils sont installés dans une petite ouverture, par exemple, 1,0 * 1,5 m et sont souvent réalisés sans ouvrant ouvrant.
- Tricuspide. Il est monté dans les ouvertures les plus larges, tandis que les linteaux occupent jusqu'à 10% de la surface. La section médiane est souvent sourde,
et les latéraux s'ouvrent. - Sourd. L'unité de verre est fixée dans le profil sans mouvement, sans possibilité d'ouverture.
- Pivot. S'ouvre vers l'intérieur / vers le bas pour une ventilation et un entretien faciles.
- Pliant. La partie supérieure de l'ouvrant se déplace vers le bas et vers l'intérieur lors de l'ouverture. Son angle d'inclinaison dépend du réglage du limiteur.
- Combiné. Équipé de mécanismes pivotants, offre différents modes de ventilation.
- Balcon. Il peut avoir toutes les dimensions, être équipé d'un pivot, d'un mécanisme de pliage ou d'un système coulissant.
Que faire si vous avez besoin de grandes fenêtres - recommandations d'experts
Les tailles de fenêtre standard s'estompent et les bâtiments commerciaux intègrent souvent de grands espaces vitrés dans leurs projets.
La taille de la fenêtre dans les bâtiments modernes peut varier considérablement de celles prescrites par GOST. Il existe de nombreuses lacunes dans la législation qui permettent de contourner les normes sans violer, en même temps, les normes de la loi.
À ces fins, différentes technologies de vitrage sont utilisées:
- enregistrer;
- géant;
- panoramique.
Vitrage panoramique et baie vitrée

Pour augmenter les paramètres d'une fenêtre standard, un système de baie vitrée panoramique peut être utilisé. De telles techniques sont particulièrement justifiées sur les loggias d'une grande surface, des ouvertures qui dépassent vers l'extérieur.
Pour vitrer la pièce, sans violer, en même temps, les normes de la législation de la Fédération de Russie, ils utilisent des profils pour les connexions et les tuyaux de baie vitrée. Les éléments doivent être scellés les uns aux autres en créant des cadres séparés. Le résultat est une structure suffisamment grande, qui peut avoir des formes géométriques complexes.
Vitrage de façade


Les dimensions standard des ouvertures de fenêtres peuvent être augmentées en mettant en œuvre un vitrage de façade. Cette technologie permet d'installer des fenêtres en PVC dépassant même 6 m2. m.
Aujourd'hui, les technologies suivantes sont utilisées :
- de construction;
- araignée;
- post-traverse.
Tous les processus technologiques sont différents, ils ne sont unis que par le fait que tous les éléments en verre sont montés sur un cadre métallique, qui est assemblé en premier.
Ces structures peuvent être équipées de différentes portes, à la fois aveugles et ouvrantes.
Vitrage en bande


La taille de la fenêtre standard est augmentée au moyen d'un vitrage en ruban, qui combine deux technologies - panoramique et façade.Les profils du support et les types de connexion sont utilisés ici. Le type spécifique doit être sélectionné en fonction de l'objectif et des dimensions de l'ouverture.
Sur les bâtiments résidentiels, ce type de vitrage est plus souvent utilisé avec l'utilisation de systèmes en PVC ou en aluminium. La technologie permet de fabriquer des structures équipées de portes coulissantes ou battantes.
Vitrage Jumbo


La technologie Jumbo permet d'augmenter la surface à proximité d'une fenêtre standard, et dans une large mesure plus que ce qui est prévu par les exigences de GOST.
Le format jumbo vous permet d'obtenir une taille de fenêtre typique de 6000x3200 mm, il n'y a pas si longtemps un autre format est apparu, où les fenêtres ont des dimensions de 8000x3200 mm.
Normes générales selon GOST pour les dimensions des fenêtres
Les paramètres du produit peuvent varier en fonction du type de charpente, du matériau de construction des murs et des caractéristiques du bâtiment. Les GOST actuels correspondent aux caractéristiques de la plupart des bâtiments et sont indiqués dans le tableau:
| Hauteur et largeur d'ouverture, mm | Paramètres de la fenêtre, mm |
| Feuille simple | |
| 500*500 | 470*470 |
| 600*600 | 570*570 |
| 600*900 | 570*870 |
| 900*600 | 870*570 |
| 900*900 | 870*870 |
| 1200*600 | 1170*570 |
| 1200*900 | 1170*870 |
| 1350*600 | 1320*570 |
| 1350*900 | 1320*870 |
| 1500*600 | 1470*570 |
| 1500*900 | 1470*870 |
| Bivalve | |
| 600*1200 | 570*1170 |
| 900*1200 | 870*1170 |
| 900*1350 | 870*1320 |
| 900*1500 | 870*1470 |
| 1000*1000 | 970*970 |
| 1200*900 | 1170*870 |
| 1200*1000 | 1170*970 |
| 1200*1200 | 1170*1170 |
| 1200*1350 | 1170*1320 |
| 1200*1500 | 1170*1470 |
| 1350*1000 | 1320*970 |
| 1350*1200 | 1320*1170 |
| 1350*1350 | 1320*1320 |
| 1350*1500 | 1320*1470 |
| 1500*1200 | 1470*1170 |
| 1500*1350 | 1470*1320 |
| 1500*1500 | 1470*1470 |
| Tricuspide | |
| 1200*1800 | 1170*1770 |
| 1200*2100 | 1170*2070 |
| 1350*1800 | 1320*1770 |
| 1350*2100 | 1320*2070 |
| 1500*1800 | 1470*1770 |
| 1500*2100 | 1470*2070 |
Si nécessaire, les paramètres spécifiés peuvent être modifiés.
Dans les maisons au format Khrouchtchev, les paramètres dépendent du rebord de la fenêtre:
- Pour large - la taille du bivalve est de 145 * 150 cm, pour trois feuilles - 204 * 150 cm.
- Pour un étroit - 130 * 135 et 204 * 135 cm, respectivement.
Dans les immeubles de grande hauteur modernes avec vitrage panoramique, dans les manoirs de campagne, des structures translucides de grande superficie sont souvent installées. Avec un tel vitrage, des fenêtres à double vitrage avec des niveaux élevés de bruit et d'isolation thermique doivent être installées.
EMPLACEMENT DES APPAREILS DANS LES FENÊTRES ET LES PORTES DE BALCON (exemples)
1 - charnière PV1-100 pour vantail intérieur et vantaux de type Si R; 2 - charnière PV2-100-1 pour portes extérieures et toiles de type P; 3 - boucle PV3-1 pour le type C; 4 - coupleur CT pour type C; 5 - arrêt UO pour le type P; 6 - emballage ЗР2-1
Zut. une
1 - charnière PV1-100 pour vantail intérieur et vantaux de type Si R; 2 - charnière PV2-100-1 pour portes extérieures et toiles de type P; 3 - boucle PV3-1 pour le type C; 4 - boucle PV2-100-2 pour tableau arrière; 5 - dispositif de fanlight PF2; 6 - dispositif de fixation FK1 pour le type C ou FK3 pour le type P; 7 emballage ZR2-1; 8 - coupleur CT pour type C; 9 - arrêt UO pour type P; 10 - Poignée PC80.
Zut. 2
Notes pour le putain. 1 et 2
1. Les appareils pour fenêtres et portes de balcon doivent être conformes aux normes GOST 538-78, GOST 5087-80, GOST 5088, GOST 5090-79 et GOST 5091-78.
2. Les volets extérieurs doivent être suspendus sur des charnières de type PV2 avec des tiges amovibles.
3. Les enveloppes sont montrées en position ouverte.
4. Les poignées PC80 sont installées sur les portes extérieures à l'extérieur du bâtiment à une hauteur de 1000 mm du seuil.
5. Le dispositif de fanlight est affiché sous condition.
6. Les carrés sont installés conformément à la clause 2.13 de GOST 23166-78.
7. Les chapes CT sont situées sur les châssis du côté de la pièce.
8. Les dispositifs de retenue sont installés sur les châssis étroits des fenêtres des bâtiments résidentiels et publics.
9. Dans le cas de l'utilisation de tournevis à poignées amovibles de type P2, le nombre de poignées par produit est fixé par accord entre le fabricant et le consommateur, mais pas moins d'un.
GOST pour fenêtres en plastique
Les exigences relatives aux caractéristiques des structures translucides et des portes sont régies par les normes nationales. GOST 30674-99 a été développé pour les structures en PVC produites et installées en Russie. Son action s'applique aux structures constituées des types de systèmes de profilés suivants :
- Blanc.
- Teint dans la masse.
- Enduit d'un film laminé.
- Obtenu par la technologie de co-extrusion.
Les dimensions maximales des fenêtres en PVC varient en fonction de la hauteur et de la largeur de la structure. La connexion des éléments profilés étant réalisée par soudage, la norme actuelle définit les paramètres de la rainure qui reste après le soudage:
- Largeur - jusqu'à 5 mm.
- Profondeur - de 0,5 à 1,0 mm.
Disposition des points de jonction des blocs de fenêtres
Le choix de la solution structurelle des nœuds de la jonction du bloc de fenêtre (porte) à l'ouverture du mur extérieur est effectué au stade du développement de solutions architecturales et de conception, en tenant compte des charges existantes et est confirmé par les calculs correspondants (clause 5.1.3 GOST 30971-2012).
Des exemples de solutions constructives pour les nœuds de jonction des blocs de fenêtres aux ouvertures de mur sont donnés dans l'annexe B GOST 30971-2012 et l'annexe A GOST R 52749-2007 (lors de l'utilisation de PSUL - bandes isolantes auto-expansibles perméables à la vapeur).
Sélectionnons les nœuds de jonction les plus courants des blocs de fenêtres:


Figure B.1 GOST 30971-2012 - Unité de la jonction supérieure (latérale) du bloc de fenêtre à l'ouverture avec un quart dans le mur de briques à l'aide de ruban PSUL sans terminer la pente intérieure. 1 - ruban isolant auto-expansible perméable à la vapeur (PSUL); 2 - isolation en mousse; 3 - plaque d'ancrage; 4 - scellant pare-vapeur


Figure В.2а GOST 30971-2012 - L'unité de la jonction supérieure (latérale) du bloc de fenêtre à l'ouverture avec un quart dans le mur de briques à l'aide d'un scellant perméable à la vapeur avec finition de la pente intérieure avec du mortier de plâtre. 1 - mastic perméable à la vapeur; 2 - cheville de cadre; 3 - bouchon décoratif; 4 - mastic; 5 - isolation en mousse; 6 - scellant pare-vapeur; 7 - mortier de plâtre.


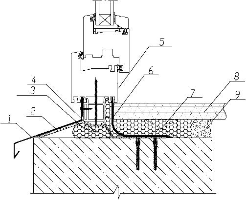
Figure B.5 GOST 30971-2012 - Le nœud de la butée inférieure du bloc de fenêtre à l'ouverture sans quart dans un mur de panneaux de béton monocouche à l'aide d'un ruban pare-vapeur. 2 - doublure insonorisante; 3 - isolation en mousse; 4 - bloc de support; 5 - coin en PVC; 6 - scellant ou ruban pare-vapeur étanche à la vapeur; 7 - barre de support; 8 - Appui de fenêtre en PVC; 9 - mortier de plâtre Figure A.3 GOST R 52749-2007 - Le nœud de la butée latérale du bloc de fenêtre à l'ouverture avec un quart d'un mur de briques en couches avec une isolation efficace et une finition de la pente intérieure avec du mortier de plâtre. 1 - isolation en mousse; 2 - ruban isolant auto-expansible perméable à la vapeur (PSUL); 3 - plaque d'ancrage flexible; 4 - mastic; 5 - ruban pare-vapeur; 6 - couche de plâtre de la pente intérieure (avec un chanfrein pour la couche de scellant); 7 - treillis de renfort; 8 - cheville avec une vis de verrouillage Figure A.4 GOST R 52749-2007 - Unité de la butée inférieure du bloc de fenêtre, appui de fenêtre et drain à l'ouverture d'un mur en couches avec une isolation efficace. 1 - panneau de fenêtre; 2 - isolation en mousse; 3 - ruban pare-vapeur; 4 - plaque d'ancrage flexible; 5 - bloc de support pour le rebord de la fenêtre; 6 - mortier de plâtre; 7 - cheville avec une vis de verrouillage; 8 - un insert en bois antiseptique ou une couche de nivellement de mortier de plâtre (recommandé uniquement pour l'unité inférieure); 9 - ruban imperméable à l'eau et perméable à la vapeur; 10 - joint absorbant le bruit; 11 - drain; 12 - ruban isolant auto-expansible perméable à la vapeur (PSUL); 13 - une fine couche de scellant
Exigences pour les blocs de fenêtre en PVC selon GOST
Dimensions standard des ouvertures de fenêtres et de portes selon GOST
Quelle option de fenêtre devriez-vous privilégier: standard ou non standard?


Dans les maisons à plusieurs étages en brique, en panneaux, en blocs ou monolithiques d'une construction typique, des produits standard sont installés. Dans les hôtels particuliers et les domaines construits selon des projets individuels, il est le plus souvent prévu d'installer des modèles non standard:
- Carré - ils sont installés dans des locaux techniques ou résidentiels, dans la cuisine ou dans une pièce, ils peuvent être sourds ou avec ouverture.
- Rond - avec vitrage solide, linteau vertical et horizontal.
- Sous la forme d'un arc - ils laissent entrer beaucoup de lumière, soulèvent visuellement le plafond, peuvent être installés dans le hall d'une maison de campagne construite dans un style classique.
- Trapézoïdal - peut être de n'importe quelle taille, installé dans le salon, les chambres, les greniers, les terrasses.
La fabrication de structures non standard prend plus de temps, elles sont relativement chères, mais en même temps elles sont un élément indispensable des demeures exclusives.
Boîte pour notes
En plus des principales dispositions, GOST suppose la présence d'une colonne supplémentaire dans le formulaire de spécification - «Notes». Dans cette section, de brèves notes peuvent être faites concernant des points de conception importants qui ne sont pas inclus dans la liste générale des colonnes. Ceux-ci comprennent, tout d'abord:
- dimensions de la porte;
- dimensions du cadre de l'ouverture;
- le matériau à partir duquel l'élément de remplissage est fabriqué;
- coût des biens;
- poids total.
En plus de la spécification, idéalement, il devrait y avoir un plan de construction détaillé avec des dessins dans plusieurs projections. Les règles de leur mise en œuvre sont également établies par GOST.
Le cahier des charges vous permet de couvrir plus complètement la liste des travaux à venir et indique une liste des matériaux nécessaires pour l'achèvement de la construction et la conception des ouvertures. Ceci est très pratique lorsque vous devez fournir une estimation pour chaque article.
Nous vous recommandons de regarder la vidéo:
Installation d'un rebord et d'un reflux de fenêtre
Après l'installation réussie des fenêtres en plastique, vous devez commencer à équiper le rebord de la fenêtre:
- Tout d'abord, il est nécessaire de marquer l'espace de travail - l'ouverture de la fenêtre doit être environ 10 cm plus étroite que le rebord de la fenêtre et la pente doit être vers la pièce et non vers la fenêtre.
- En outre, le joint d'assemblage inférieur de l'extérieur est isolé avec un ruban métallique spécial.
- La base en béton à la place de l'ancien appui de fenêtre est recouverte d'une chape en ciment. Cela donnera au futur rebord de la fenêtre la force et l'empêchera de s'affaisser avec le temps.
- Il ne faut pas oublier que l'air chaud de la batterie doit s'écouler vers la fenêtre afin que de la condensation ne se forme pas dessus en raison des différences de température. En conséquence, il est nécessaire de calculer avec précision la largeur du rebord de la fenêtre. S'il est impossible de se passer d'une largeur dépassant la norme requise, vous devez monter un rebord de fenêtre avec des trous spéciaux à travers lesquels l'air peut circuler vers la fenêtre.


- Ensuite, le matériau d'étanchéité et étanche à la vapeur est disposé, la mousse de montage est coulée pour une plus grande résistance.
- À l'aide de vis autotaraudeuses avec une rondelle de presse et une perceuse, le reflux est fixé de l'extérieur. Selon GOST, le surplomb de la marée basse devrait être d'environ 3-4 cm.
- Vérifiez l'opérabilité de la fenêtre, la solidité des châssis.
À ce stade, l'installation de la fenêtre peut être considérée comme terminée.
Retour au contenu





























